Отопление и водоснабжение загородного дома, стр. 38
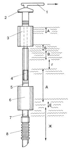
В настоящее время имеется несколько новых технологий, продляющих срок службы скважин. Бурение ведется в несколько этапов (рис. 87). Сначала бурят песчано-глинистые отложения, доходя до известняка.

Рис. 87. Бурение артезианских скважин по новым технологиям: 1 – подача воды потребителю; 2 – оголовок с вентилем; 3 – обсадная металлическая колонна диаметром 168 мм; 4 – насос; 5 – пластиковая колонна диаметром 125 мм; 6 – металлическая обсадная колонна диаметром 168 мм; 7 – пластиковая колонна диаметром 125 мм; 8 – фильтр; А – водоносный горизонт (песок обводненный); Б – водоносный горизонт (песок сухой); В – водоносный горизонт (песок обводненный); Г – суглинок (водоупор); Д – водоносный горизонт (песок обводненный); Е – юрская глина (водоупор); Ж – водоносный горизонт (известняк обводненный)
После этого на всю глубину скважины опускают металлическую обсадную колонну из труб с фильтрами.
При бурении известняка до вскрытия водоносного слоя скважину делают меньшим диаметром. После этого на всю глубину вставляют пластиковую колонну, в которой вода под давлением пластов поднимается на определенный статический уровень. Вокруг пластиковой трубы на 5—10 м выше фильтров засыпается калиброванный кварцевый гравий диаметром 1,2—2 мм, который дает возможность воде беспрепятственно поступать в эксплуатационную колонну. Этот слой отфильтровывает механические примеси. На слой гравия укладывают гранулы сухой глины, которые разбухают от влаги и создают глиняный замок, не дающий водам верхнего горизонта просачиваться в эксплуатационный горизонт.
Такая скважина служит около 30 лет.
Для нормальной работы современной бытовой техники в системе водоснабжения дома необходимо поддерживать постоянное давление. Нужный уровень напора обеспечивают насосы. На российском рынке имеется множество моделей как отечественных, так и зарубежных производителей.
Самовсасывающие центробежные вихревые насосы предназначены для подачи воды из колодцев и скважин. Процесс обусловлен тем, что всасывающий коллектор расположен выше оси насоса, поэтому в его рабочей части всегда находится вода. Для включения агрегата в работу после остановки его не надо заливать водой.
Объемно-инерционные насосы используют в работе колебания, идущие к клапану-плавнику. В них нет трущихся частей, вращающихся деталей, они не требуют смазки. Такие насосы применяются для подъема пресной воды из колодцев и трубчатых скважин, диаметр которых более 100 мм, с глубины более 40 м.
Температура поднимаемой воды не должна превышать 35° С. Насос должен быть полностью погружен в воду, без соприкосновения со стенками и дном колодца. Его включают в работу без предварительной заливки. Перемещать или поднимать насос можно только после отключения от электросети. Работать насос может долго, но время непрерывной эксплуатации не должно превышать 2 ч. После перерыва в 15—20 мин насос можно снова включать в работу. Общее время работы насоса в сутки составляет 12 ч.
Основные характеристики водяных насосов даны в табл. 55.
Таблица 55
Характеристики водяных насосов



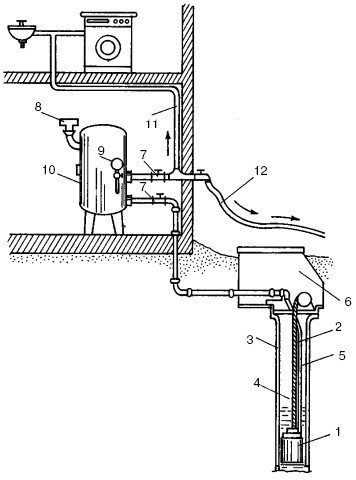
Если в трубопровод водоснабжения вода подается с помощью насосов, то потребуется накопительная емкость, установленная на высоте, для обеспечения нужного давления в сети водопровода. Такое техническое решение уже устарело, т. к. накопительная емкость требует периодической чистки и обеззараживания, да и сама емкость, расположенная на чердаке, оказывает дополнительную нагрузку на строительные конструкции дома. Строительство индивидуальной напорной башни для отдельно взятого дома нецелесообразно.

Рис. 88. Водоснабжение индивидуального дома: 1 – скважинный насос; 2 – трос; 3 – скважина; 4 – электрокабель; 5 – водонапорный шланг; 6 – приямок; 7 – запорные вентили; 8 – реле давления; 9 – манометр; 10 – напорный гидробак; 11 – внутренний водопровод; 12 – выводы для садовых работ
В наше время существуют совершенно новые технологии водоснабжения, при которых в системе автоматически поддерживается давление воды с помощью гидробака, установленного в подвале или на первом этаже (рис. 88). Такие гидробаки чаще всего поставляются в комплекте с некоторыми моделями насосов. Давление воды, установленное с помощью управляющего прибора, поддерживает встроенный частотный преобразователь.

Рис. 89. Станция водоснабжения MQ: 1 – панель управления; 2 – соединение с напорным трубопроводом; 3 – обратный клапан; 4 – залив и слив воды; 5 – встроенные реле давления протока; 6 – электродвигатель; 7 – мембранный напорный бак
Также в продаже появились станции водоснабжения MQ, представляющие собой компактные агрегаты, состоящие из самовсасывающего насоса, мембранного напорного бака, устройства управления и защиты (рис. 89).
Станция предназначена для водоснабжения индивидуального дома, но ее можно использовать и в тех местах, где нужна мобильная, компактная установка для перекачки воды.
При производстве станции используются материалы с повышенной коррозионной стойкостью, что позволяет ей работать на открытом воздухе. Она оснащена всем необходимым для автоматической работы, поэтому не требует подбора мембранного бака, устройства защиты и управления. Нужно открыть только один кран, а насос включается и выключается автоматически. При этом поддерживается постоянное давление в напорной магистрали. Встроенный обратный клапан предотвращает отток воды. Панель управления с помощью светодиодов отражает все режимы работы станции.
То, что воду нужно очищать, ни у кого не вызывает сомнений. Самым простым способом обеззаразить воду является кипячение. Но оно не дает полной очистки. При высокой температуре погибают некоторые микробы и болезнетворные бактерии, но в воде остаются соли тяжелых металлов, а полезные вещества (соли кальция и магния) разрушаются, оседая в виде накипи на стенках посуды. Кроме того, при кипячении хлорированной воды образуются опасные канцерогены, дающие толчок к развитию многих болезней.
Питьевая вода должна быть безопасной для здоровья и приятной на вкус. В нашей стране действует ГОСТ «Вода питьевая», согласно которому муниципальные службы обязаны следить за качеством питьевой воды. И хотя нам говорят, что отечественная водопроводная вода имеет высокий уровень качества, сомнения на этот счет остаются, тем более что практически во всем мире давно отказались от хлорирования воды, которое в нашей стране практикуют повсеместно.
На всех станциях имеются специальные очистные сооружения, в которых вода проходит очистку от вредных примесей и обеззараживается методом хлорирования. Хлор придает воде неприятный запах, а также наносит вред здоровью, но предотвращает многие заболевания. Для того чтобы вода обеззараживалась и в водопроводе, хлор добавляют в воду в огромных количествах. Особенно интенсивно хлорируют воду весной и в сезон обильных дождей, когда поверхностные воды могут попасть в системы водозабора. После такой очистки в воде образуется диоксин. Этот сильнейший яд, негативно влияющий на иммунную систему, практически не выводится из организма.
Как видно из вышесказанного, даже централизованная очистка воды не дает гарантии ее качества.
Проблемы очистки воды в городских квартирах и загородных домах различны. В первом случае большую часть работы выполняют муниципальные службы водоснабжения, а во втором – владелец дома.
Качественная питьевая вода получается при правильной организации ее очистки в установках, которые можно приобрести в магазинах.
Изобретатели во всем мире постоянно работают над вопросом очистки воды, совершенствуя методики и создавая уникальные установки. Эти агрегаты отличаются друг от друга производительностью, методами, на которых основан принцип их работы, дизайном, степенью автоматизации, надежностью и прочими техническими характеристиками. Их монтируют как в городских квартирах, так и в домах индивидуальной застройки.