Отопление и водоснабжение загородного дома, стр. 37
Шахтные колодцы
Шахтный колодец предназначен для забора подземных вод на глубине залегания до 30 м. Колодец состоит из ствола, водоприемной части и оголовка – верхней надземной части шахты. Стволы бывают круглыми, прямоугольными, с поперечным размером в пределах 1—1,5 м. Для безопасности стенки шахты укрепляют обычно деревом, бутовым камнем, кирпичом или бетоном.
Самым простым и распространенным способом строительства колодцев считается его устройство в плотных грунтах. Шахту роют на всю глубину, после этого сооружают ствол, представляющий собой сруб, каменный, кирпичный или бетонный вертикальный канал. Для предотвращения осыпания стенок шахты их укрепляют с помощью деревянных щитов. Такого рода колодцы строят только при небольшой глубине залегания водоносных слоев, потому что вырыть шахту большой глубины так, чтобы ее стенки не осыпались, невозможно.
В настоящее время обычно используют безопасный опускной способ строительства колодца. В этом случае исключается вероятность того, что осыпающийся грунт может навредить работающему в шахте. Наращиваемый ствол опускается под своим весом по мере удаления грунта из-под него. Для этих целей используют венцы сруба или железобетонные кольца, диаметр которых позволяет работать внутри шахты.
Строительство колодца начинается с рытья котлована. После этого нужно выровнять дно и установить строго горизонтально первый венец сруба или железобетонное кольцо.
После того как ствол шахты выйдет на запланированный уровень, над колодцем устраивают П-образную стойку или треногу с лебедкой для подъема грунта. Пазы между венцами сруба забивают жирной глиной. Ее следует уплотнять как можно лучше, чтобы через щели не просачивалась вода по мере заглубления ствола. Зазоры между железобетонными кольцами устраняют с помощью цементного раствора. Собранный сруб укрепляется с внутренней стороны толстыми досками, что не позволяет сооружению разорваться во время опускания вдоль вырытой шахты.
Землю из-под стенок сруба убирают лопатами. После этого один человек должен спуститься в колодец. При подъеме грунта нужно соблюдать осторожность, потому что ведро с землей может сорваться и упасть на работающего в шахте. В связи с этим перед подъемом грунта необходимо проверить веревку на прочность.
Чтобы при опускании не произошло застревания сруба, лучше делать это с помощью специальных направляющих (рис. 85).
На наружных сторонах сруба, по его углам, прибивают толстые доски. Для лучшего скрепления сруба на каждой его стороне устанавливают дополнительные средние направляющие. Это делает всю конструкцию более жесткой, что весьма важно при опускании. Затем вокруг сруба укладывают толстые бревна и забивают прочные колья большой длины. После этого сруб будет опускаться строго вертикально. После того как установка ствола закончится, направляющие останутся в грунте.
Устройство ствола из железобетонных колец не такое сложное, не требует дополнительных приспособлений, поэтому его выбирают гораздо чаще. Помимо этого, железобетонные кольца не гниют, что значительно увеличивает срок службы колодца. Такие колодцы называются трубными. В отличие от деревянных они не подвержены воздействию верховодки. Их стенки намного легче очищать от зеленого налета и слизи, всегда присутствующих в колодцах. В связи с этим гигиенические свойства железобетонных колодцев также намного выше, чем у деревянных.

Рис. 85. Устройство для опускания сруба по шахте колодца: 1 – угловые направляющие; 2 – дополнительная направляющая; 3 – бревна; 4 – колья
При устройстве колодца важным моментом является безопасность работающего внизу человека. Особая опасность заключается в загазованности шахты, которая приводит к нехватке кислорода и потере сознания. Загазованность можно проверить специальным прибором – газоанализатором. Если прибора нет под рукой, проверить уровень загазованности можно с помощью обыкновенной свечи. Ее привязывают к веревке, зажигают и опускают в шахту. Если свеча погаснет или изменит степень свечения, в колодце присутствует газ.
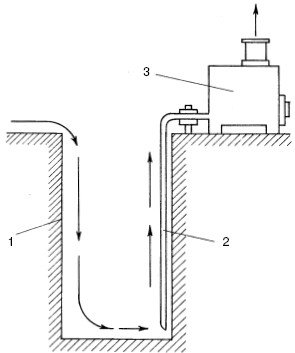
Способов удаления газа из шахты много. Самым простым и надежным является тот, при котором используется естественная тяга переносной металлической печи. Наверху, у шахты, устанавливается металлическая печь (рис. 86). Вместо нее можно использовать обыкновенную металлическую бочку. К поддувалу печи присоединяется вентиляционная труба, нижний конец которой опущен в шахту.

Рис. 86. Вариант вентиляции шахты колодца с помощью переносной печи: 1 – шахта колодца; 2 – вентиляционная труба; 3 – переносная печь
При топке печи естественная тяга удаляет из шахты имеющиеся там газы. Если газ появляется вновь, то работать в колодце можно только при работающей печи.
Вторым этапом после сооружения ствола является устилание дна колодца песчано-гравийной смесью, предназначенной для фильтрации. Если поступление воды происходит через стенки шахты, то в нижней ее части устраивают специальные щели.
Ствол шахты необходимо поднять на 1—1,2 м над уровнем планировки и облагородить. Для этих целей над колодцем устанавливают надстройки в виде сруба или навеса. Надстройки защитят колодец от атмосферных воздействий и обеспечат удобство эксплуатации.
Для предотвращения попадания в шахту дождевой воды территорию вокруг колодца мостят природным камнем, кирпичом или тротуарной плиткой.
Буровые колодцы
Обычно проектированием и строительством буровых трубчатых колодцев занимаются специализированные фирмы, у которых на проведение этих работ имеется разрешение от эпидемиологической службы.
Буровой колодец – это скважина, направленная перпендикулярно к направлению потока подземных вод. Для безопасности стенки скважины укрепляются обсадными металлическими, а при мелких скважинах – керамическими или асбестоцементными трубами. Внутренний диаметр обсадной трубы зависит от водоподъемного оборудования (простые колонки или один из типов насосов). В любом случае диаметр не должен быть меньше 120 мм.
Верхняя часть скважины носит название «устье колодца» и защищена оголовком от всевозможных загрязнений. Одновременно оголовок служит для установки водоподъемного оборудования. Он должен быть выше поверхности земли на 0,8—1 м, герметично закрыт легко открывающейся крышкой. В шахте колодца обязательно устанавливают вентиляционную трубу высотой 2 м от поверхности земли. Вокруг оголовка должна быть сделана отмостка из камня, кирпича, бетона или асфальта радиусом не менее 2 м с уклоном в сторону водоотводного лотка.
С увеличением глубины скважины диаметр обсадных труб уменьшают, концентрические зазоры между обсадными трубами заделывают цементным раствором. При устройстве скважины в скальном грунте укреплять ее стенки не нужно.
При строительстве буровых колодцев можно использовать только те материалы, которые соответствуют санитарным нормам. Например, при изготовлении фильтра его материал должен быть химически и механически устойчивым, в процессе эксплуатации не должен забиваться песком. Минимальный внутренний диаметр фильтра должен составлять 100 мм. Тип фильтра выбирается в зависимости от категории грунта. Если он представляет собой неустойчивую породу, то используются трубчатые фильтры с круглыми или щелевидными отверстиями. При гравийном грунте, гравелистом и крупном песке водоприемная поверхность выполняется из проволочной обмотки из нержавеющей стали или из стального штампованного листа. В песчаных грунтах устанавливают трубчатые фильтры из сетки гладкого или галунного плетения, которые применяются при любой глубине скважины.
При устройстве скважины традиционным способом возникают некоторые негативные моменты. Во-первых, стальные обсадные трубы с течением времени подвергаются коррозии и разрушаются. Куски ржавчины попадают в питьевую воду, заметно снижая ее качество. В стенках труб возникают отверстия, через которые в питьевую воду могут попасть сточные воды из соседнего дома. Также со временем скважина заиливается. Срок службы скважин глубокого бурения составляет всего 5 лет.