Отопление и водоснабжение загородного дома, стр. 19
Расширительный бак закрытого исполнения
В загородных домах применяют, как правило, закрытые отопительные системы с принудительной циркуляцией теплоносителя. Для таких систем используют расширительные баки закрытого исполнения, или мембранные демпферы. С магистралью бак соединяется с помощью специального штуцера.

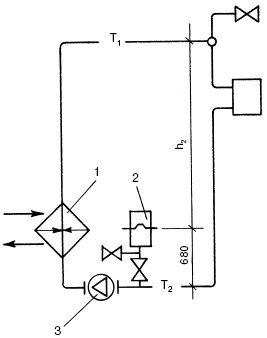
Рис. 41. Схема монтажа закрытого мембранного расширительного бака: 1 – теплообменник; 2 – расширительный бак; 3 – циркуляционный насос
Устанавливают такие баки в котельной и подключают к обратной магистрали перед циркуляционным насосом. На рис. 41 показан вариант такого подключения.
Расширительный бак закрытого исполнения – это сосуд, разделенный мембраной на две камеры – водяную и газовую (воздушную). В воздушной камере под давлением находится газ или воздух, а другая соединена с системой отопления (рис. 42).
Мембранные демпферы бывают горизонтального и вертикального исполнения. Конструктивно они изготавливаются разъемными и неразъемными. Первая из форм предусматривает возможность замены мембраны в процессе эксплуатации бака.

Рис. 42. Закрытый мембранный расширительный бак: 1 – воздушный клапан; 2 – пространство для газа; 3 – мембрана
Некоторые модели мембранных баков снабжаются элементами контроля и автоматизации. Объем расширительного мембранного бака выбирается в зависимости от потребления воды, объема магистрали отопления, мощности насоса, подающего воду в магистраль, а также ряда других параметров.
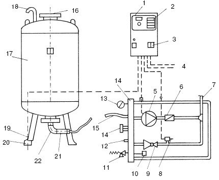
Если загородный дом потребляет большое количество воды, то для его отопления используют установку с управляющим насосом, который поддерживает постоянное избыточное давление в системе (рис. 43).

Рис. 43. Установка с управляющим насосом: 1 – пульт управления; 2 – выбор операций; 3 – основной выключатель; 4 – датчик сбоя системы; 5 – усиливающий насос; 6 – обратный клапан; 7 – подключение к системе; 8 – датчик давления; 9 – перепускной клапан; 10 – сливной кран; 11 – клапан предохранительный; 12 – подключение подпитки; 13 – манометр; 14 – распределительный коллектор; 15 – гибкое соединение; 16 – удаление воздуха из воздушной камеры; 17 – воздушный крюк; 18 – накопительная емкость; 19 – датчик измерения объема воды; 20 – масляный динамометр; 21 – подсоединение емкости; 22 – кран слива
Когда вода нагревается, открывается перепускной клапан установки и вода подается в накопительную емкость. Когда вода остывает, включается насос, закачивающий воду из накопительного бака в систему отопления. Таким образом поддерживается постоянное давление.
Расширительный мембранный бак обладает целым рядом преимуществ:
• установить его можно в любом месте дома;
• вода не контактирует с воздухом, что благоприятно сказывается на работе отопительного оборудования;
• в системе практически не бывает воздушных пузырей (из-за избыточного давления в верхней точке отопительной системы);
• высокая экономичность.
Теплопроводы
Теплопровод представляет собой все трубы, которые используются для подачи нагретого теплоносителя в отопительные приборы, а также для вывода охлажденного теплоносителя из них. Теплопроводы имеют в своем составе:
• магистрали;
• стояки;
• горизонтальные ветви;
• подводки.
Теперь немного подробнее о каждой группе трубопроводов.
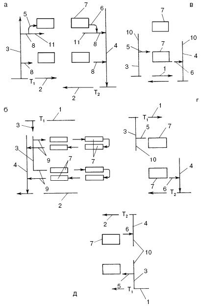
Магистраль – это труба, которая соединяет между собой водогрейный котел и стояк. Магистраль располагается в зависимости от конфигурации отопительной системы (рис. 44). Помимо этого, следует учитывать тип, назначение и ширину здания.
Горизонтальные отопительные системы могут иметь верхнюю и нижнюю разводку. В первом случае подающая магистраль располагается выше отопительных приборов, во втором – ниже.

Рис. 44. Теплопроводы горизонтальных (а, б) и вертикальных (в, г, д) систем водяного отопления: 1, 2 – подающие (Т1) и обратные (Т2) магистрали; 3, 4 – подающие и обратные стояки; 5, 6 – подающие и обратные подводки; 7 – отопительные приборы; 8 – однотрубные ветви; 9 – бифилярные ветви; 10 – стояк; 11 – ветви
В вертикальной системе отопления с «опрокинутой» циркуляцией теплоносителя подающая магистраль располагается ниже, а обратная – выше отопительных приборов.
В отопительных системах с естественной циркуляцией нижние магистрали обязательно имеют уклон в сторону водогрейного котла. Это делается для того, чтобы из верхней части отопительной системы отводились скопления воздуха, а также для слива воды из труб. Оптимальный уровень уклона нижних магистралей составляет 5 мм на 1 м длины трубы.
Подводки представляют собой соединительные трубы между отопительными приборами и стояком или горизонтально расположенной ветвью. Подводки бывают прямые и с так называемой уткой, или отступом. Отступ делается в зависимости от расположения подводки по отношению к отопительному прибору. Чаще всего подводки делают прямыми, чтобы облегчить выполнение монтажа, а также снизить гидравлическое сопротивление в системе отопления. Как правило, подающая и обратная подводки выполняются горизонтально или с небольшим уклоном.
Стояк – это труба, которая соединяет между собой магистраль и подводки. Его положение зависит от того, как расположена магистраль и подводки по отношению к отопительным приборам.
Открытая и скрытая прокладка труб
Трубопроводы в доме можно прокладывать двумя способами – открытым и закрытым. Чаще всего используют первый способ. Это делается по многим причинам. Но самыми важными из них являются дешевизна и простота монтажа.
При открытом способе трубы укладывают по стенам, довольно близко к полу. Выполняется эта операция после завершения окончательной отделки помещений. При этом способе трубы соединяются с помощью сварки, муфтами или фланцами. В этом случае поверхность труб является дополнительными нагревательными поверхностями, поэтому этот фактор нужно учитывать при расчете мощности отопительных приборов.
Неаккуратно выполненная открытая разводка может испортить любой интерьер. А если подойти к этому процессу творчески, то трубы могут даже украсить помещение.
Скрытый способ прокладки труб дает возможность экономить объем помещений, потому что выполняется в стенах и полу дома. Этот вариант прокладки выполняют при проведении строительных или ремонтных работ, до окончательной отделки помещений.
Трубы можно проложить в штрабах, которые представляют собой специальные траншеи. После прокладки труб их заделывают. Но при этом нельзя запрятывать резьбовые соединения. В связи с этим трубы прокладывают целыми кусками.
Поскольку при данном способе диаметр труб не может увеличиваться до бесконечности, скрытую прокладку применяют только в отопительных системах с принудительной циркуляцией воды.