Отопление и водоснабжение загородного дома, стр. 20
Выбор труб
В этом разделе будет рассказано о том, какие трубы можно использовать для прокладки отопительных систем. Также следует узнать о материалах, из которых изготавливаются трубы, о технических характеристиках труб и пр.
Стальные трубы весьма популярны во многих европейских странах, а также в России. Впервые стальные трубы были изготовлены в Англии в середине XIX в.
Для изготовления труб для водяного отопления применяется мягкая углеродистая сталь. Выбирают этот материал потому, что он имеет высокую прочность и вместе с тем пластичность. Поэтому стальные трубы можно сгибать, резать, сваривать, клепать и выполнять другие операции. Трубы такого типа имеют высокую теплопроводность, что считается самым хорошим качеством для труб, по которым движется нагретая вода.
При транспортировке холодной воды теплопроводность имеет отрицательный знак, потому что трубы отпотевают, быстро ржавеют и приходят в негодность, разрушая прилегающие к ним строительные конструкции.
Помимо высокой теплопроводности, сталь обладает низким температурным коэффициентом линейного расширения, что является важным фактором при закладке стальных труб в бетон.
Самым важным недостатком стальных труб является низкая коррозионная стойкость. Ржавчина неблагоприятно воздействует не только на стенки труб, но и засоряет воду механическими примесями, отрицательно влияет на качество воды, ухудшает работу запорной арматуры и пр. Для того чтобы повысить коррозионную стойкость данных труб, их покрывают слоем цинка.
В отопительных системах стальные трубы могут работать примерно 30—40 лет. По истечении этого срока трубопровод заменяют целиком.
Еще одним отрицательным фактором стальных труб является их низкая пропускная способность по сравнению с медными или пластиковыми трубами того же диаметра.
Причина заключается в шероховатости внутренних стенок стальных труб, увеличивающих сопротивление движению теплоносителя. А со временем пропускная способность еще больше уменьшается, потому что на стенках труб накапливаются вредные отложения.
Кроме этого, монтаж стальных труб также является далеко не легким делом. Помимо сварки, для соединения труб используются и резьбовые соединения. Оцинкованные трубы вообще нельзя соединять с помощью сварки, потому что на швах сгорает цинковое покрытие, и это место становится весьма уязвимым для коррозии.
Для систем водяного отопления используют следующие типы стальных труб:
– водогазопроводные черные сварные трубы, полученные в результате загиба стального листа с последующей сваркой шва. Такие трубы называются «шовные»;
– электросварные прямошовные трубы;
– бесшовные цельнотянутые трубы.
Стальные трубы имеют разную толщину стенок. Сообразно этому параметру они подразделяются на:
• легкие;
• обыкновенные;
• усиленные.
Диаметр стальных труб варьируется от 8 до 150 мм. Для водяных отопительных систем используются легкие и обыкновенные стальные трубы диаметром 15, 20 и 25 мм. В табл. 35 дана классификация стальных труб.
Таблица 35
Сортимент водогазопроводных сварных труб по ГОСТу 3262-75

Медные трубы известны человечеству с давнего времени. Первыми их применили египтяне, а к XVII в. медь стала самым популярным материалом для производства труб. После того как появились стальные трубы, медные стали применять не столь широко.
В настоящее время медные трубы используются повсеместно, потому что медь – это превосходный материал для теплопроводов водяного отопления, а также холодного и горячего водоснабжения. Этот материал обладает целым рядом положительных качеств:
– хорошей тепло– и электропроводностью (в 5 раз больше, чем у стали);
– высокой коррозионной стойкостью;
– хорошей устойчивостью к окислению;
– стойкостью к изменению температуры;
– стойкостью к действию ультрафиолета;
– бактерицидной стойкостью;
– высокой пластичностью.
Помимо вышеперечисленного, медные трубы имеют еще одно достоинство: внутренняя поверхность их стенок в 100 раз более гладкая, чем у стальных, и в 4—5 раз, чем у пластиковых труб. В связи с этим пропускная способность медных трубопроводов очень высока. Из-за того что медные трубы обладают высокой коррозионной стойкостью, их пропускная способность не меняется со временем. В некоторых трубах на внутреннюю поверхность стенок методом окисления фосфором наносят дополнительный защитный слой.
Иногда медные трубы покрывают полиэтиленовым или поливинилхлоридным слоем. Это делается не только для улучшения внешнего вида труб, но и для того, чтобы улучшить их свойства. Полимерный слой действует таким образом, что при транспортировке горячей воды по трубам значительно снижаются потери тепла, а при транспортировке холодной воды не образуется конденсат. Помимо этого, полимеры защищают трубы от механических повреждений и снижают уровень шума.
Благодаря тому что медь обладает высокой пластичностью, медные трубы при замерзании в них воды не трескаются, а слегка растягиваются. После оттаивания воды трубы восстанавливаются до первоначального состояния.
В нормальной среде и при благоприятных условиях медные трубы могут служить примерно 40 лет. При этом на них не влияют давление и температура теплоносителя в системе отопления.
Если для монтажа теплопровода используются медные трубы, то необходимо выполнить несколько несложных условий. Прежде всего все материалы в системе отопления должны быть однородными. Это означает, что все трубы, соединительные элементы и запорно-регулирующая аппаратура должны быть медными. Но это идеальный вариант. А в действительности бывает так, что часть трубопровода – стальная, а подводки выполнены с использованием медных труб. Поэтому на практике, при монтаже трубопроводов, нужно соблюдать следующие правила:
– не ставить стальные оцинкованные трубы после медных (по направлению воды), т. к. цинковый слой будет интенсивно разрушаться;
– не использовать металлический стык меди и нелегированной оцинкованной стали, потому что будет происходить электрохимическая реакция, результатом которой станет усиленная коррозия стали.
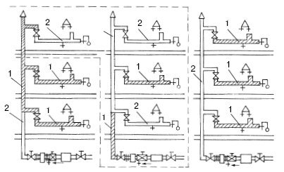
На рис. 45 показаны варианты установки стальных и медных труб.

Рис. 45. Смешанная установка стальных и медных труб: 1 – медная труба; 2 – стальная труба (схемы, обведенные пунктиром, – неправильный монтаж)
Для изготовления труб, используемых для трубопроводов водяного отопления, берется медь высокой чистоты (99,9%), практически без примесей. Такой материал обладает особо высокой коррозионной стойкостью и пластичностью (даже при температуре —100° С). После механической обработки медь становится более прочной, но теряет эластичность. Чтобы вернуть это свойство материалу, медь подвергают отжигу при 600—700° С с последующим охлаждением.
При монтаже отопительных трубопроводов применяются медные трубы двух видов:
– жесткие (неотожженные), имеющие вид прямых отрезков длиной от 3 до 5 м;
– мягкие (отожженные), свернутые в бухты длиной 25 и 50 м.
Жесткие трубы используют при прокладке стояков и магистралей водяного отопления, а мягкие – на других участках теплопровода.
Медные трубы выпускаются диаметром 10—28 мм при толщине стенок в 1 мм и 35—54 мм при толщине стенок в 1,5 мм. Бывают трубы и большего диаметра. Несмотря на то что толщина стенок у медных труб невысока, они могут выдерживать давление более сильное, чем стальные трубы.
Первые полимерные трубы появились примерно в начале 50-х гг. ХХ в. в Европе, США и Японии. Сразу же после своего появления эти трубы стали популярными благодаря своему превосходству над всеми металлическими трубами.
За прошедшие годы полимерные трубы заняли свое место практически во всех отраслях промышленности. С начала 70-х гг. они применяются при монтаже систем водоснабжения и канализации.