Мототуризм: спорт и отдых, стр. 23
Дуги предлагаемой конструкции можно изготовить и для мотоциклов «Ява» более позднего выпуска, чтобы заменить защитные устройства заводского изготовления, которыми эти мотоциклы комплектуются. На дугах рассматриваемой конструкции могут быть установлены наколенные щитки, емкости для масла, закреплена упаковка с запасными частями или принадлежностями ремонтного набора.
Передние защитные дуги для минских мотоциклов можно изготовить, руководствуясь рис. 56. Для них желательно использовать стальную трубу 26x2 или 28x1,5. Кронштейны можно изготовить из листовой стали 20. Соединять трубы с кронштейнами желательно при помощи электросварки. После зачистки швов это изделие тоже следует хромировать или окрасить.
Присоединение к мотоциклу осуществляется путем закрепления дуг на кронштейнах передней трубы рамы. Их верхние кронштейны соединяются при помощи двух болтов М8 длиной 45 мм и одного болта М8 длиной 22 мм. Между верхними кронштейнами следует установить три распорные втулки, изготовленные из стальной трубы 12x1,5. Спереди устанавливается втулка длиной 4 мм, вверху — длиной 28 мм, причем эта втулка устанавливается между усилителями рамы. Между нижними частями верхних кронштейнов защитных дуг устанавливается втулка длиной 33 мм. Для крепления нижней части дуг следует снять два болта крепления передней части двигателя к раме, на это место установить нижние


кронштейны дуг, использовав при этом болты М8 длиной 50 мм. В передней части нижних кронштейнов следует установить распорную втулку длиной 4 мм и болт М8 длиной 22 мм.
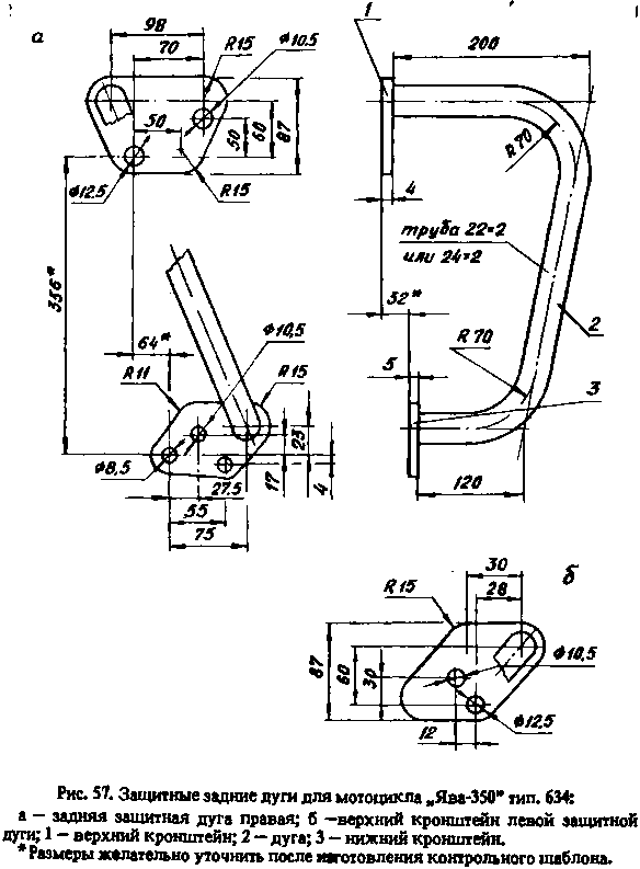
Значительно повышают безопасность эксплуатации мотоцикла — одиночки (т. е. без бокового прицепа) задние защитные дуги. В большей степени это относится к защите пассажира от травм при падениях мотоцикла во время движения. Задние защитные дуги для мотоцикла «Ява-350» тип 634 можно изготовить, руководствуясь рис. 57. Дуги могут быть выполнены из трубы 22x2 или 24x2 (сталь 10–20). Кронштейны — из

стального листа толщиной 3,5–4 мм. Дуги и кронштейны следует соединить при помощи электросварки. После зачистки сварных швов дуги желательно хромировать, но вполне приемлемо многослойное покрытие эмалью. Для установки задних защитных дуг на мотоцикл следует поочередно извлечь болты крепления верхних наконечников задних амортизаторов, поместить верхний кронштейн дуги между рамой и наконечником амортизатора, удалить установленную в этом месте плоскую шайбу, установить болт М12х1,5, имеющий длину на 10 мм большую, чем у «штатного» болта. С внутренней стороны рамы следует установить вспомогательную пластину, изготовленную из стального листа толщиной 2–2,5 мм, соответствующую по наружному контуру верхнему кронштейну защитной дуги и имеющую соответствующие отверстия для деталей крепежа. Между верхним кронштейном защитной дуги и вспомогательной пластиной должны быть установлены распорные втулки, изготовленные из стальной трубы 14x1,5 или 14x2.


Нижний кронштейн дуги крепится к выносу рамы, на котором установлены подножка пассажира и кронштейн глушителя. При этом следует снять подножку пассажира, болты крепления кронштейна глушителя, поместить нижний кронштейн дуги с наружной стороны выноса рамы и, применив болты на 5 мм длиннее имевшихся на мотоцикле, зафиксировать упомянутые детали, собрав их в обратной последовательности.

Задние защитные дуги для мотоциклов ММВЗ-3.11211 можно изготовить, руководствуясь рис. 58. Дуги желательно изготовить из стальной трубы 22x2 или 24x2, кронштейны — из листа толщиной 3,5–4 мм. Материалы труб и кронштейнов — сталь 10–20. Сварка, зачистка швов и покрытие дуг должны осуществляться так же, как рекомендовалось ранее.
Задние защитные дуги на мотоциклы ММВЗ устанавливаются в горизонтальном положении. Крепление дуг к мотоциклу производится в местах присоединения к раме верхних наконечников задних амортизаторов и кронштейнов верхней площадки «штатного» заднего багажника. С внутренней стороны рамы в месте крепления переднего кронштейна дуги следует установить фиксирующую пластину. Для крепления дуг следует использовать два болта М10х1,25 длиной 50–55 мм и четыре болта М8 длиной 35–40 мм. При установке болтов М8 между передними и задними кронштейнами дуг, фиксирующей пластиной и кронштейном рамы необходимо установить распорные втулки длиной 26 мм и 20 мм соответственно, изготовленные из стальной трубы 12x1,5.
Напоминаем, что при монтаже защитных дуг, впрочем, так же, как и при установке других элементов дополнительного оборудования, сначала следует установить все болты в соответствующие отверстия, навернуть на них гайки на 2–3 оборота и лишь после этого завернуть их с необходимым крутящим моментом.
В ряде случаев целесообразно иметь быстросъемные передние или задние дуги. К кронштейнам следует приварить втулку с наружной резьбой, в которой по ходовой посадке устанавливается труба дуги. На приваренную втулку наворачивается другая, с внутренней резьбой. Между втулками помещается резиновая прокладка, которая при наворачивании верхней втулки сжимается и удерживает трубу дуги. Устройство такого узла изображено на рис. 59.
Наколенники (называемые иногда грязевыми щитками) значительно повышают удобство эксплуатации мотоцикла. Их достоинства очевидны, а материалоемкость и трудоемкость изготовления сравнительно невелики. На рис. 60 изображен вариант наколенных щитков, предназначенных для установки на мотоцикл «Ява-350» тип 634. Наколенники можно изготовить из стального листа толщиной 0,8–1,2 мм, алюминиевого листа толщиной 1,5–2,5 мм, из органического стекла толщиной 3–4 мм или из нескольких слоев стеклоткани, соединенных, например, эпоксидной шпаклевкой. Края стального или алюминиевого листа при изготовлении наколенников следует отбуртовать. Наколенники из стального листа желательно покрыть эмалью черного цвета или окрасить в цвет машины. Наколенные щитки, выполненные из листового алюминия, можно полировать, например, пользуясь пробкой, зажатой в патрон электрической дрели. При изготовлении щитков из органического стекла, желательно использовать цветной материал. Во всех вариантах исполнения на края наколенников с целью повышения безопасности следует приклеить окантовку из резинового или пластмассового П-образного профиля.
Установка наколенников осуществляется на дуги, описание которых приводилось выше. Крепятся пластины щитков к дугам при помощи хомутов, изготовленных из алюминиевого листа толщиной 1,5–2,5 мм. При желании щитки можно изготовить несколько большими по длине и крепить их непосредственно к дугам, при этом в дугах можно просверлить 2–4 отверстия диаметром 5 мм.


Наколенные щитки для минских мотоциклов имеют конструкцию, представленную на рис. 61. На нем изображен правый щиток, левый явkяется его зеркальным отражением. Щитки можно изготовить из тех же материалов, что рекомендовались и для ранее приведенного варианта. Крепить их можно к защитным дугам при помощи хомутиков, а при увеличении габаритных размеров щитков — непосредственно к дугам. Каждый щиток в этом случае желательно крепить четырьмя винтами М5 соответствующей длины.
Определенный комфорт при поездках на мотоцикле, особенно в неустойчивую погоду, могут обеспечить щитки, защищающие кисти рук. Полезными они будут в том случае, если вы эксплуатируете мотоцикл без ветрового щитка или с небольшим так называемым «полуобтекателем», который не закрывает рукоятки руля. Развертка одного из возможных вариантов такого щитка представлена на рис. 62,а. На рис. 62, 6 изображен общий вид щитка, который можно изготовить из листовой стали. На нем по периметру обязательно следует выполнить за-вальцовку («забуртовку») металла шириной 3–5 мм и поверх нее наклеить резиновую или полимерную окантовку. Эти конструктивные элементы необходимы для обеспечения безопасности эксплуатации мотоцикла — чтобы предотвратить травмирование рук острыми краями щитков.