Мототуризм: спорт и отдых, стр. 22
На рис. 47 представлен универсальный задний багажник с боковыми площадками для мотоцикла «Ява-350» тип 634. Багажник состоит из боковин — левой (3) и правой (зеркальное отражение левой), верхней площадки (2), задней перемычки (5), деталей крепления (1 и 4).
Вместо предлагаемых деталей крепления и анкерных болтов можно использовать болты М8 длиной 20–25 мм и болты М6 длиной 14–20 мм. Нижние площадки боковин образованы согнутыми стальными трубками (см. сечение Г-Г), которые приварены к нижним трубам боковин по 2 штуки на каждой.

Присоединение багажника к мотоциклу производится в местах крепления верхних наконечников амортизаторов к раме, при этом следует применять изготовленные из стали 45 или 40Х болты М12 длиной 90 мм, с длиной резьбовой части 25 мм. В нижней части багажник присоединяется к раме мотоцикла в местах крепления подножек пассажира. Для этого используют болты М8 длиной 36 мм и болты М10 длиной 38 мм. Между трубами для крепления подножек и пластинами боковин следует установить текстолитовые пластины толщиной 8-10 мм или набор шайб той же толщины. При установке багажника задние фонари указателей поворота следует перенести на специальный кронштейн, который можно прикрепить к кронштейну заднего фонаря мотоцикла. Конструкция его может быть произвольной, но следует учесть, что согласно требованиям нормативно-технической документации (в частности, ОСТ 37.003.038-78 «Приборы световые мотоциклов, мотороллеров, мопедов и боковых прицепов к мотоциклам. Количество, расположение, углы видимости.») на мотоцикле без бокового прицепа расстояние между внутренними светящимися краями задних фонарей указателей поворота должно составлять не менее 240 мм.
Мотоциклы ММВЗ-З.112 и ММВЗ-З.1121 можно укомплектовать задними боковыми грузовыми площадками, устройство которых приведено на рис. 49. Их можно установить в дополнение к имеющейся на мотоцикле верхней грузовой площадке и таким образом получить комбинированный багажник.

Присоединение боковины багажника к мотоциклу производится в месте крепления к раме верхнего наконечника амортизатора задней подвески. При этом следует использовать болты М10 х 1,25 длиной 65 мм. Внизу багажник присоединяется к кронштейну крепления подножки пассажира. В задней части багажник посредством болтов М6 длиной 18 мм присоединяется к щитку заднего колеса в месте крепления растяжки верхней площадки штатного багажника. Задние фонари указателей поворота следует перенести на специальный кронштейн. При расположении фонарей должны быть выполнены требования, изложенные выше.
Один из возможных вариантов конструкции заднего бокового багажника для мотоцикла ММВЗ-3.11211 приведен на рис. 50. Он отличается от багажников для мотоциклов ММВЗ-3.1121 габаритами и присоединительными размерами. Конечно, при желании вы можете изготовить боковые площадки собственной конструкции, ориентируясь на указанные на рис. 50 присоединительные размеры и принимая подобную схему крепления боковин на машине.



В пути часто возникает необходимость некоторые предметы (например, фотоаппарат, радиоприемник, часы, записную книжку, атлас автомобильных дорог, карты и т. п.) разместить так, чтобы они меньше подвергались тряске, а пользоваться ими было бы удобно. В такой ситуации добрую услугу вам может оказать передний багажник, закрепленный на топливном баке. На нем можно закрепить футляр для укладки груза. Желательно, чтобы это была полужесткая сумка, изготовленная из натуральной или искусственной кожи. При желании на переднем багажнике можно укрепить планшет, имеющий прозрачную верхнюю стенку.
Если вам не удастся приобрести в магазине что-либо подобное, запаситесь терпением, материалами, творческим настроением и приступайте к работе. Даже если путь к цели будет далек и сложен, ваши труды будут достаточно вознаграждены многофункциональным оригинальным изделием. Отличительной особенностью рассматриваемого варианта сумки является то, что она состоит из отдельных блоков, которые можно использовать порознь или соединять в различных сочетаниях, «наращивая» сумку по высоте. Блоки соединяются с помощью застежки «молния» Предлагаемая к изготовлению сумка довольно вместительна, удобна в пользовании, травмобезопасна. При желании она может быть закреплена непосредственно на топливном баке на предварительно уложенной под нее эластичной прокладке (чтобы не повредить лакокрасочное покрытие). Крепить ее лучше всего с помощью широких резиновых полос с проволочными зацепами. При желании сумку можно использовать как переносную, для чего служат мягкая ручка и регулируемый по длине наплечный ремень.
На рис. 53 изображен передний багажник, предназначенный для установки на мотоцикл «Ява-350» тип 634. Его можно изготовить из листовой стали 10 или 20. Толщина площадки 2–2,5 мм. В задней части багажник устанавливается на болты крепления топливного бака, в передней — надевается на горловину бака и фиксируется пробкой.


Аналогичную конструкцию имеет передний багажник, предназначенный для установки на мотоцикл ММВЗ-3.1121 или ММВЗ-ЗЛ1211. Его можно изготовить, руководствуясь рис. 54. Установка багажника на мотоцикл показана на том же рисунке.
Багажники после изготовления желательно хромировать. Не следует укреплять на багажнике жесткие емкости с острыми краями. Если вы все же решите изготовить такую емкость, то все углы и ребра надо скруглить. Радиус скруглений должен быть не менее 10 мм. Если вы будете перевозить на переднем багажнике отдельные предметы, рекомендуем в отверстия площадки вставить резиновые муфты или закрепить сверху лист тонкой микропористой резины, вырезанный по форме верхней площадки, чтобы груз ложился на эти детали, а не на площадку. При этом, во-первых, между грузом и багажником будут дополнительные амортизирующие элементы, во-вторых, груз не будет самопроизвольно смещаться.


Мотоциклы, снабженные двигателями с рабочим объемом 350 см3 и более, эксплуатируемые без бокового прицепа, крайне желательно оборудовать защитными дугами. Наилучший эффект дает установка на мотоцикле передних и задних защитных дуг. Передние, как правило, крепятся на раме в передней части мотоцикла. Задние — устанавливаются в зоне крепления амортизаторов задней подвески, подножек пассажира или в задней части рамы, ниже седла.
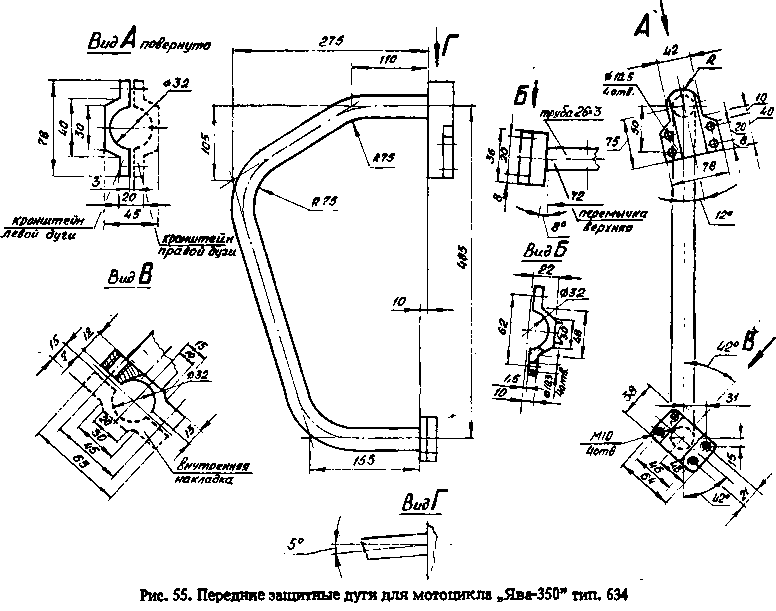
На рис. 55 изображен вариант передних защитных дуг, предназначенных для установки на мотоцикл «Ява-350» тип. 634. Их можно изготовить из стальной трубы 26x2 или 28x2. Кронштейны дуг и перемычки также следует изготовить из стали 10–20. Для сварки дуг желательно изготовить из листовой стали толщиной 2,5–3 мм стапель, в котором следует просверлить отверстия для фиксации верхнего и нижнего кронштейнов. Перед сваркой их надо установить на стапель и закрепить при помощи болтов М10 так, чтобы были выдержаны размеры, указанные на рисунке. После сварки швы следует зачистить. Дуги желательно хромировать, но можно нанести несколько слоев эмали типа МЛ-12.
Дуги к раме присоединяются при помощи кронштейнов, которые можно получить из заготовок, разрезав их на две части. В верхней части дуги фиксируются при помощи перемычки, помещенной между трубами рамы. При монтаже дуг между их кронштейнами и трубами рамы следует установить прокладки из листовой резины толщиной 2–3 мм. Соединение составных частей защитных дуг производится при помощи болтов М10 длиной 35–40 мм.