Занимательная анатомия роботов, стр. 12
Однако же и без радио может получиться неплохо. Заиграл на дудочке (да – да, на самой обыкновенной дудочке для малышей) – тронулась модель. Заиграл ещё раз – повернула вправо, в третий раз – влево…
Радиус действия аппаратуры при работе от дудочки достигает 10… 15 м. Описываемая система управления звуком была применена в модели «Кобра, танцующая под музыку». Кобра, повинуясь звукам дудочки, то поднимается вверх, то опускается или раскачивается. Схема электронного блока кобры показана на рис. 40. Эту систему можно использовать и для управления моделями автомобилей и кораблей. Её радиус действия может быть легко увеличен, если дудочку заменить генератором звуковой частоты, к выходу которого подключить малогабаритную динамическую головку. Такой источник звука будет излучать весьма громкие сигналы, что может значительно увеличить радиус действия аппаратуры. Кроме того, генератор звуковых частот излучает более стабильные по частоте колебания, чем дудочка, что повышает надёжность работы аппаратуры в целом.
Число команд управления без существенных изменений схемы может быть увеличено до 6 – 9. Для этого потребуется лишь увеличить число фильтров звуковых частот в приёмной части системы.
Такое устройство можно взять за основу системы звукового управления роботом или его ЭВМ. Система звукового управления роботом должна включать в себя небольшой переносный электронный генератор звуковых команд и установленное в модели робота приёмное устройство.
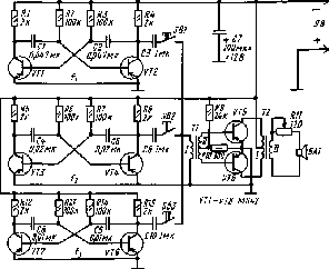
На рис. 41 показана схема генератора звуковых команд.
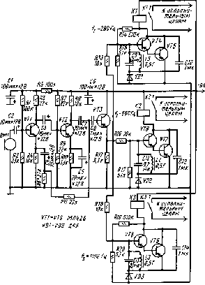
Генератор звуковых команд состоит из трёх мультивибраторов, генерирующих частоты 280, 560 и 1100 Гц, двухтактного усилителя сигналов мультивибраторов и динамической головки. Выходы мультивибраторов подключают к усилителю сигналов через контакты трёх кнопок. На рис. 42 представлена схема приёмного устройства звуковых команд. Оно состоит из входного микрофонного усилителя и трёх избирательных электронных реле, настроенных на соответствующие частоты мультивибраторов генератора.

Вот фактически и весь канал телеуправления – от генераторов звуковых команд до выходных реле приёмного устройства. К ним подключают дешифратор – электромагнитный шаговый искатель. Посмотрим, как он используется для операции сложения. Допустим, на командную кнопку SB1 (см. рис. 41) нажали три раза – движок искателя переместился на три шага. Если вслед за этим набрать цифру 7, то движок переместится на десятый контакт, если 8 – то на одиннадцатый, и т. д. Подавая через контакты шагового искателя напряжение, включающее светящиеся цифры от 1 до 10 или 20, мы «научим» модель робота, например, решать простейшие задачи на сложение.

Задачу на вычитание робот может решить, только если шаговый искатель имеет обратный ход. На частоте 280 Гц набирают уменьшаемое число, а на частоте 560 Гц – вычитаемое. Движок искателя укажет разность. Приводя в действие третий мультивибратор, искатель переводят в исходное положение.
Если выходные контакты искателя связать с исполнительными механизмами робота, то с помощью звукового генератора можно управлять не только его «математическими способностями», но и всем механизмом. При необходимости схему можно упростить, оставив в генераторе только один мультивибратор из трёх, а частоты получить коммутацией конденсаторов и резисторов. В зависимости от расстояния между передатчиком и приёмником мощность динамической головки может быть выбрана в пределах 0,1…0,5 Вт.
Настраивать резонансные контуры приёмника на выбранные значения частоты командных мультивибраторов лучше всего с помощью звукового генератора и осциллографа. Но в крайнем случае можно обойтись миллиамперметром на ток полного отклонения стрелки 30…50мА, включённым в цепь выходного реле канала. Настройку ведут по максимуму показаний прибора, когда на вход приёмника подают сигналы с мультивибраторов.
Слуховое устройство «Кобра, танцующая под музыку» по схеме аналогично приёмному устройству робота (см. рис. 42).

Чудеса активных RC – фильтров. Электрические фильтры являются одними из основных элементов различных радиоэлектронных систем. Это обусловлено тем, что во многих областях науки и техники (радиотехника, акустика, различные отрасли машиностроения, медицина, системы телеметрии и телеуправления) необходимы выделение, подавление, фильтрация сигналов.
До сих пор мы говорили о системах LC – фильтров, в которых резонансные свойства определяются значениями индуктивности L и ёмкости С. Но LC – фильтры, особенно в диапазоне звуковых частот, очень громоздки, и в современных конструкциях их заменяют активными RC – фильтрами.
Активные RC – филътры пригодны для использования в самых различных устройствах. Например, они хорошо работают на весьма низкой (около 1 Гц) частоте среза и имеют добротность выше 100. Активные фильтры можно успешно применять в устройствах, которые сочетают функции модуляции, выпрямления и фильтрации, и в других, где нельзя использовать катушки индуктивности. Слуховые системы с активными RC – фильтрами используют для обнаружения шума на очень большом расстоянии. Их широко применяют при исследовании биотоков мозга и снятии энцефалограмм. С их помощью решают задачи распознавания речевых сигналов в моделях органов слуха и т.п.
Однако теоретические достоинства активных RC – фильтров – это одно, а использование их на практике – другое. Изготовление надёжных активных RC – фильтров оказалось делом гораздо более сложным, чем на первых порах представлялось разработчикам.
Прежде всего для таких фильтров необходим набор деталей с малым разбросом параметров (особенно конденсаторов и резисторов). Важно также исключить временной дрейф транзисторов и пассивных элементов, входящих в устройство.
Активный RC – фильтр, схема которого изображена на рис. 43, можно успешно использовать при конструировании светодинамических установок (СДУ). Как показала практика, этот фильтр в отличие от многих, рекомендуемых для фильтрации частоты в СДУ, является весьма практичным. В нём сравнительно немного транзисторов и деталей; он обеспечивает хорошую фильтрацию даже при значительном разбросе параметров деталей (см. таблицу).

Параметры деталей схемы RC – фильтра (рис. 43)
Таблица
–
Полоса Ёмкость С1 Сопротивление
пропускания, Гц конденсаторов, МКФ резисторов, кОм
С1 С2 СЗ С4 R3 R6
–
50.. .100 0,2 0,1 1 0,051 10 5,6
100.. .200 0,11 0,05 0,5 0,03 8,2 8,2
200… 400 0,051 0,015 0,2 0,015 9,1 8,2
400… 800 0,03 0,01 0,1 0,0068 8,2 8,2
800.. .1600 0,0115 0,0068 0,05 0,0033 5,6 6,8
1600… 3200 0,0084 0,001 0,025 0,0015 6,8 7,5
–
Тайна пляшущих человечков.
Мы познакомили читателя с различными электронными устройствами, с помощью которых моделируют системы слуха. С этим багажом можно уверенно двигаться вперёд – использовать модели в создании роботов, принцип работы которых основан на сложных процессах управления. Можно создать увлекательные модели, понимающие различные сигналы и даже умеющие танцевать под музыку. Представьте себе куклу и даже робота, отплясывающих весёлый танец под музыку. Такие чудесные модели ещё не созданы, но они вполне осуществимы.