Отопление и водоснабжение загородного дома, стр. 49
Пускач для насоса
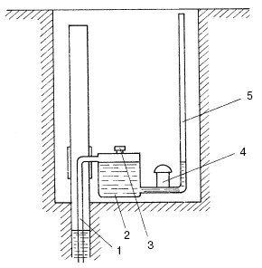
Это устройство пригодится тем, кто пользуется электронасосами центробежного типа для подъема воды из глубоких колодцев. Условием для работы такого насоса служит то, что он всегда должен быть залит водой. В случае, когда обратный клапан водоприемника неплотный, т. е. нарушена герметичность, после отключения насоса вода может уйти из входного патрубка. Это создаст проблемы при последующем запуске электронасоса.
Чтобы решить данную задачу, потребуется незначительная переделка системы. Как показано на рис. 114, между насосом и водозаборником устанавливают промежуточную емкость небольшого объема.
Дополнительный бачок перед первым пуском заполняют водой, плотно закрывают горловину резьбовой крышкой с прокладкой. Поскольку насос подсоединен к нижней точке бачка, а водоприемник к верхней, вода оттуда не уйдет даже при неисправном обратном клапане и механизм всегда будет готов к работе. Помимо этого, если бачок имеет достаточный объем, а приемная труба отведена не от самой нижней его точки, а с отступом в несколько сантиметров от днища, этот бачок станет фильтром-отстойником.

Рис. 114. Электронасос с наполнительным резервуаром: 1 – труба водоприемника; 2 – наполнительный резервуар; 3 – заливная горловина; 4 – электронасос; 5 – выходная труба насоса
Приложение 10
Водокачка под землей
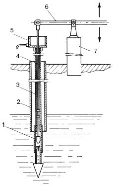
Глубинный насос НГ—1 предназначен для подъема воды из трубчатых колодцев. Он имеет производительность 15 л/мин и глубину подъема воды до 30 м. Поскольку в продаже его встретить довольно трудно, его можно сделать своими руками. Конечно, потребуется помощь токаря.
Цилиндр насоса имеет диаметр 50 мм, но при желании его можно сделать как больше, так и меньше. Этот цилиндр представляет собой трубу с гладкой внутренней поверхностью без механической обработки. С фильтром-отстойником он соединяется с помощью резьбовой переходной втулки, которая одновременно играет роль всасывающего тарельчатого клапана. Для герметичности используется резиновое кольцо, посаженное на место на клею.

Рис. 115. Установка насоса для подъема воды из трубчатого колодца: 1 – глубинный насос; 2 – обсадная труба; 3 – водоподъемная труба; 4 – шток; 5 – водосборник; 6 – коромысло; 7 – опора
Фильтр-отстойник – это труба с отверстиями, снабженная сеткой. Если сетка изготовлена из меди или латуни, то она припаивается медью, если из нержавеющей стали – приваривается. Для того чтобы улучшить пропускную способность фильтра, сетка должна быть приподнята над корпусом с помощью проволоки.
Эта модель насоса не имеет специального нагнетательного клапана. В этой роли выступает резиновая манжета поршня, имеющая вид конуса. Ее вырезают из листовой резины, вставляют в коническую расточку поршня и закрепляют втулкой.
Подъем воды осуществляется так. В заранее подготовленную скважину с обсадной трубой опускают насос (рис. 115).
При этом фильтр-отстойник должен быть полностью погружен в воду. Если глубина колодца или скважины большая, то присоединяют дополнительные колена водоподъемной трубы и штока поршня. Водосборник монтируют на выступающей части трубы, на штоке с помощью шарнира закрепляют коромысло с опорой. Когда поршень насоса перемещается вверх и вниз, вода поступает на поверхность.
На рис. 116 показаны детали глубинного насоса со всеми необходимыми размерами.
Приложение 11
Водонапорное устройство
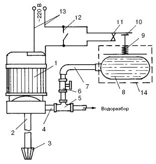
Это устройство предназначено для бесперебойной подачи воды из скважины, а также из колодца, реки, озера или любого другого водоема с помощью электронасоса. Изготовить его очень легко и быстро.
Данная система водоснабжения полностью обеспечивает хозяйственные и бытовые нужды семьи. Она заменяет дорогостоящую водонапорную башню, дает возможность установить в доме водогрейную колонку и другие агрегаты и приборы. При этом экономится время, материалы и уменьшаются финансовые затраты. Кроме этого, отпадает надобность в баках, бачках и иных аналогичных емкостях, которые при недосмотре могут стать причиной утечки воды.

Рис. 116. Глубинный насос: 1 – наконечник; 2 – фильтр-отстойник; 3 – сетка фильтра; 4 – переходная втулка; 5 – клапан; 6 – поршень; 7 – манжета; 8 – втулка; 9 – цилиндр; 10 – муфта; 11 – шток

Рис. 116 (продолжение). Глубинный насос: 1 – наконечник; 2 – фильтр-отстойник; 3 – сетка фильтра; 4 – переходная втулка; 5 – клапан; 6 – поршень; 7 – манжета; 8 – втулка; 9 – цилиндр; 10 – муфта; 11 – шток
Для этой системы подойдет электронасос типа БЦ—1. Система водоснабжения является тупиковой, т. е. дает возможность установить неограниченное количество водоразборных кранов и устройств. На рис. 117 показана схема водонапорного устройства.
Работает система следующим образом. Когда открывают один из кранов, давление в системе падает, в результате эластичная емкость для воды уменьшается в объеме, шток под воздействием пружины опускается, концевик замыкает цепь и включается насос, обеспечивающий подачу воды.
Если краны закрывают, насос еще некоторое время продолжает работать, обеспечивая повышенное давление в напорном трубопроводе и в емкости для воды. Вода увеличивается в объеме и поднимает шток. Он, в свою очередь, давит на контакты и размыкает электроцепь – насос выключается и не включится до падения давления в напорном трубопроводе.
В качестве емкости для воды можно взять резиновую грелку, подушку, волейбольную камеру и пр. Ее кладут в ящик с отверстием в верхней крышке для штока, который крепится к пластине (деревянной, пластмассовой или любой другой) и пропускается в отверстие верхней крышки ящика. На шток надевается пружина, позволяющая концевику срабатывать по мере снижения давления в емкости с некоторым запаздыванием. Пластина свободно вкладывается в ящик поверх емкости. Для обслуживания емкости одна из боковых стенок ящика выполняется съемной.
Емкость с помощью гибкого шланга соединяется с тройником через вентиль диаметром 15 мм, который можно закрыть при выходе из строя емкости или гибкого шланга.

Рис. 117. Водонапорное устройство: 1 – электронасос; 2 – всасывающий трубопровод; 3 – обратный клапан; 4 – напорный трубопровод; 5 – тройник; 6 – вентиль 1/2?; 7 – гибкий шланг; 8 – емкость для воды; 9 – пружина; 10 – шток; 11 – контакты концевика; 12 – выключатель; 13 – электрокабель; 14 – ящик
Приложение 12
Горячая вода из морозильной камеры
В городских квартирах даже при централизованном снабжении горячей водой нередко бывают перебои и отключения. А в загородных домах, особенно в дачных, эту проблему решают самостоятельно.
Предлагаемая установка для нагревания воды изготавливается из морозильной камеры старого холодильника. Сначала трубки морозильной камеры нужно осторожно распрямить, не повреждая змеевика.

Рис. 118. Нагреватель для воды: 1 – входной и выходной патрубки; 2 – отгибаемые части (линия загиба показана пунктиром); 3 – рабочая плоскость нагревателя
Для того чтобы нагревать воду, плоский теплообменник устанавливают над двумя конфорками газовой плиты, предварительно сняв решетку. Для снижения теплопотерь и хорошей фиксации на плите края камеры на 25 мм нужно отогнуть вниз на угол 90°.
После этого в длинных боковых сторонах высверливают по 10 отверстий диаметром 8 мм, а в короткой, противоположной входному и выходному патрубкам, – 5 отверстий диаметром 10 мм. Они дадут возможность доступа воздуха к газовым горелкам. В основной, рабочей, плоскости теплообменника сверлят 30 отверстий диаметром 6 мм, располагая их в промежутках между трубками змеевика. Расстояние между ними подбирается в зависимости от конструкции используемой морозильной камеры. Эти отверстия обеспечат проход горячего воздуха (рис. 118).