Отопление и водоснабжение загородного дома, стр. 46
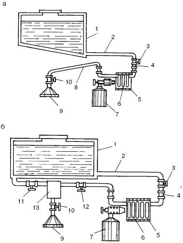
Рис. 102. Душевая кабина с устройством подогрева воды: 1 – резервуар с водой; 2 – выходной патрубок; 3 – запорный вентиль; 4 – теплообменник; 5 – паяльная лампа; 6 – головка душа; 7 – вентиль душа
Из бака, установленного на крыше душевой кабины, вода поступает по стальным трубам диаметром 0,5». На выходном патрубке устанавливается запорный вентиль, отключающий систему во время монтажа теплообменника. Второй вентиль смонтирован перед душевой головкой. Он позволяет регулировать подачу воды.
Наиболее важным и самым сложным элементом является теплообменник. Он представляет собой змеевик и кожух. Змеевик изготавливается из стальной трубы диаметром 0,5», которая свивается в 3-витковую спираль. Внешним видом змеевик напоминает толстую пружину. Чтобы обеспечить равномерность витков, тонкую трубу наматывают на более толстую диаметром 1,5 ". После этого змеевик вставляют в кожух, который представляет собой отрезок трубы. В кожухе змеевик закрепляется с помощью сварки. Свободные концы змеевика загибают вверх и муфтами подсоединяют к основному водопроводу. Муфтовое соединение весьма удобно и практично – оно позволяет снимать на зиму змеевик, чтобы трубы не полопались (рис. 103, а).
Существует еще один вариант системы подогрева, который имеет теплообменник большего размера, позволяющий нагревать воду до более высокой температуры. При этом нужно обеспечить поступление холодной воды.

Рис. 103. Схема системы подогрева воды: а – вариант устройства без смесителя; б – со смесителем; 1 – емкость с холодной водой; 2 – выходной патрубок; 3 – запорный вентиль; 4 – соединительные муфты; 5 – кожух (перфорированная труба); 6 – змеевик теплообменника; 7 – паяльная лампа; 8 – душевой патрубок; 9 – сетка душа; 10 – вентиль душа; 11 – вентиль холодной воды; 12 – вентиль горячей воды; 13 – смеситель
Чтобы решить эту задачу, в резервуаре устанавливают еще один выходной патрубок, соединенный со смесителем, к которому подключают и трубу от теплообменника. Высокая температура горячей воды и наличие смесителя весьма упрощают регулировку установки (рис. 103, б).
Приложение 5
Приглашаем на шашлыки
Владельцам загородных домов на участке можно оборудовать уголок отдыха, в центре которого будет возведен очаг. Здесь можно не только принимать гостей, но и отдыхать в кругу семьи. На таком очаге можно приготовить шашлык, жаркое и др. Еда, приготовленная своими руками, намного больше порадует гостей и близких, чем шашлыки из кафе.
Вниманию читателя предлагается конструкция летнего садового очага (рис. 104). Работа начинается с определения места для очага, что весьма важно, потому что он должен находиться в живописном уголке. Кроме того, очаг не должен быть далеко от кухни, чтобы не бегать в другой конец участка за каждой мелочью. При возведении очага не следует забывать о правилах пожарной безопасности, т. е. рядом обязательно должна быть вода.
Вариантов садовых очагов довольно много. Вот описание одного из них. Для его постройки понадобятся кирпичи, цемент, немного досок и брусков, а также инструменты, используемые при печных работах, – мастерок или кельма, молоток, сито для просеивания песка.

Рис. 104. Летний садовый очаг
Сначала нужно подготовить площадку: хорошо утрамбовать или выложить бетонными плитками или утопленными в землю хорошо обожженными красными кирпичами. Можно также оборудовать фундамент, залив на глубину примерно 50 мм строительный раствор.
Теперь следует наметить контуры очага и определиться с его габаритами. Можно работать с планом или на глазок, проверяя строгую горизонтальность кладки, а по мере возведения – вертикальность стенок. Разметка представляет собой раскладывание первого ряда кирпичей и съемной проволочной решетки-жаровни. Можно использовать готовую решетку или сварить ее из стальной проволоки диаметром 3—5 мм.
Между стенками и решетками нужно оставить зазор по 10 мм с каждой стороны. Зазоры также должны быть между кирпичами – на швы. Толщина вертикальных швов должна составлять 10 мм.
Кладку очага нужно производить, используя цементно-песчаный раствор. Можно в раствор добавить известковое или глиняное тесто. Это придаст ему пластичность, он будет лучше укладываться, а расход цемента снизится примерно в 1,5 раза. Примерное соотношение компонентов раствора таково: 1 : 1,5 : 13 – цемент, глиняное тесто, песок соответственно. Готовый раствор нужно использовать в течение 2—2,5 ч, иначе он потеряет свои свойства. При кладке очага, как правило, никаких проблем не возникает. Нужно помнить, что перед укладкой кирпича на место его следует смочить в ведре с водой. На кромки стенок следует укладывать самый качественный кирпич, не имеющий сколов и щербинок.
После окончания кирпичной кладки необходимо изготовить рабочий стол и дверку, за которой можно хранить запас сухих дров, а также принадлежности для шашлыка. Для крепления деревянных деталей используют дюбели. На столешницу и дверку нужны доски толщиной 15—20 мм и шириной – 100—150 мм. Когда все будет готово, деревянные части покрывают бесцветным мебельным лаком в 3—4 слоя. Жарочная решетка навешивается с помощью металлических крючков.
Приложение 6
Запасаем воду
Известно, что при достаточном поливе огород и сад дадут отменный урожай. Хорошо, если вблизи дачного участка имеется природный водоем или центральное водоснабжение. А если нет? Тогда возникает необходимость иметь на участке запас воды для полива. В чем же ее хранить?
Первый вариант – купить большую металлическую емкость и воду держать в ней. Но с течением времени емкость станет ржаветь, вода будет загрязняться продуктами коррозии и потеряет свое качество.
Предлагаем второй вариант – построить на участке бетонный резервуар, причем сделать его подземным. В этом есть несколько плюсов. Во-первых, он не будет занимать место. Во-вторых, такого рода емкость более практична и гигиенична.
Для начала определяют место расположения будущего резервуара и его размеры. Учитывая, что работа тяжелая, размеры не должны быть слишком большими. Наиболее оптимальным вариантом является объем 3,5—4 м3.
Следующий этап – рытье котлована. При выполнении этой операции время от времени нужно проверять отвесом вертикальность стенок и правильность формы. По окончании земляных работ котлован нужно подготовить к бетонированию. Это сделать несложно.
Правильнее всего будет использовать опалубку, состоящую из нескольких частей, а не устанавливать ее сразу на всю высоту, т. к. возможны зависания бетонной массы и образование пустот. Это означает, что высоту части опалубки необходимо выбирать такой, при которой вручную можно уплотнять бетон. Обычно это 500—600 мм. Упрощенно опалубку можно выполнить, вбив у стенок в дно котлована колья, за которые завести металлические листы (рис. 105).
Толщина бетонных стенок определяется из условий прочности по формулам:
1) ?р??[?],
где ?р – расчетное напряжение, кГ/см2;
[?] – допускаемое напряжение, кГ/см2;
2) ?р = D/2t x ? h,
где D – диаметр резервуара, см;
? – удельный вес воды, кГ/см3;

Рис. 105. Подземный резервуар: 1 – кольцо (сталь); 2 – стакан (железобетон); 3 – песок; 4 – отмостка (бетон)
h – внутренняя высота резервуара, см;
t – толщина стенки, см.
Для примера возьмем резервуар диаметром 1,6 м и внутренней высотой 2 м (объем 4,35 м3), расчетное напряжение составляет 5 кГ/см2, тогда:
t = 160/2 х 5 х 0,001 х 200 = 3,2 см.
Имея тройной запас прочности, толщина стенки составит 10 см. Такое отступление было сделано не случайно. Довольно часто владельцы участков строят резервуары, оштукатуривая стенки котлована бетоном. Такая емкость будет служить совсем недолго, а скорее всего разрушится сразу же после первого наполнения водой. Типичными местами, где происходят разрушения, являются: низ стенок, днище или стыки с перекрытием. В этом случае причина кроется в неправильном проектировании перекрытия, т. е. отмостка, выступающая за контур резервуара, служит его опорой на грунт. При заполнении водой под ее тяжестью резервуар просаживается, а верхняя часть зависает на отмостке, после чего происходит ее отрыв. Поэтому отмостку нужно производить, как показано на рисунке, без связи со стаканом.