Отопление и водоснабжение загородного дома, стр. 45
На рис. 95, л представлена оригинальная печь-каменка, изготовленная из двух бочек. В одной из них устраивают топку с поддувалом и там же монтируют бак конусообразной формы из оцинкованной стали. Бак должен иметь такой диаметр, чтобы при установке его в бочку он опирался на нее своими бортами.
Допускается, чтобы края бака выступали над бочкой на 5—10 см. Дно бака не должно доходить до поддувальной решетки, изготовленной из толстой стали или срезанного днища бочки, на 25—30 см. Приблизительно на середине высоты бака в бочке проделывают отверстие для трубы или патрубка диаметром 10—15 см.
Этот патрубок присоединяется ко второй бочке сбоку или под днищем. На боковой стороне устраивают дверцу, а вверху – патрубок для трубы. После этого бочку заполняют камнями. Данная конструкция должна стоять на расстоянии 50 см от стен.
После мытья в бане чердачное помещение необходимо проветрить. Нужно проветривать и саму баню, удаляя всю накопившуюся влагу. В этом случае все конструкции сооружения будут служить долго.
Приложение 2
Ширма у радиатора
Эстетика интерьера в доме создается не только мебелью, красивыми коврами, цветами и картинами. Отопительные приборы, особенно чугунные радиаторы, способны напрочь разрушить всю красоту.
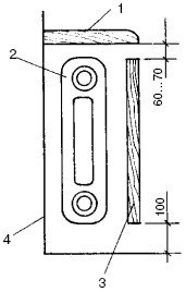
Чтобы спрятать радиаторы, следует сделать для них декоративные панели-ширмы. Изготовить их можно из ДСП, досок, брусьев или реек. Главное – соблюсти одно правило: ширма не должна препятствовать теплоотдаче. В связи с этим ее устанавливают не на всю высоту ниши, а отступив от пола до нижнего края примерно 100 мм и, соответственно, от верхнего края до подоконника – 60—70 мм (рис. 96).
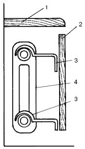
Поскольку в домах установлены очень узкие подоконники, их необходимо нарастить, прежде чем монтировать ширмы. Делают это с помощью Г-образных стоек, к вертикальным частям которых крепят ширму, а к горизонтальным – дополнительную подоконную доску (рис. 97).

Рис. 96. Схема расположения защитного экрана: 1 – подоконник; 2 – радиатор; 3 – декоративный экран; 4 – стена

Рис. 97. Конструкция декоративной ширмы при узком подоконнике: 1 – подоконник; 2 – дополнительная подоконная доска; 3 – декоративная ширма; 4 – Г-образная стойка; 5 – радиатор

Рис. 98. Схема навесной декоративной панели: 1 – подоконник; 2 – декоративная панель; 3 – кронштейн; 4 – радиатор
Ширма может быть не только стационарной, но и съемной. В этом случае ее подвешивают непосредственно на радиатор с помощью кронштейнов (рис. 98). Если возникнет необходимость, ширму легко снять.
Прежде чем начать работу по изготовлению декоративной панели, необходимо сделать эскиз с расположением реек и рисунка. Для комнат с высокими потолками нужно изготавливать щиты с горизонтальным членением, а с низкими – с вертикальным (рис. 99).

Рис. 99. Примеры возможного оформления: а, б, в – для комнат с низкими потолками; г – для комнат с высокими потолками
Отделка панелей-ширм зависит от материала, из которого они изготовлены. Если ширмы из ДСП, то их можно оклеить самоклеящейся пленкой, обоями или шпоном. Деревянные панели, как правило, обжигают паяльной лампой, газовой горелкой, а затем покрывают бесцветным мебельным лаком. Можно также использовать красители или отбеливатели, предназначенные для древесины. Затемнить дерево можно морилкой или разбавленным битумным лаком.
Приложение 3
Бесконечный водоподъемник
Вниманию читателя предлагается водоподъемная установка, работающая от ветра. Движителем установки является воздушный винт с лопастями. На валу движителя смонтирован водяной транспортер – лента из пористого материала, нижняя часть которой опущена в колодец (рис. 100).

Рис. 100. Водоподъемная установка: 1 – воздушный винт; 2 – приводной механизм; 3 – сливная труба; 4 – башня установки; 5 – стабилизатор; 6 – контрольная труба; 7 – расходная емкость; 8 – расходная труба; 9 – натяжной механизм; 10 – лента-транспортер; 11 – колодец
Винт крутится, тянет вверх ленту с впитавшейся в нее водой. Намокшая лента попадает в отжимной валик, который забирает воду. После этого вода стекает по сливной трубе в емкость. С помощью натяжного механизма, постоянно погруженного в воду, обеспечивается вертикальное положение ленты.
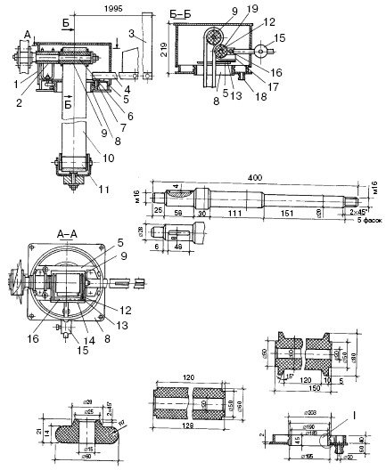
Воздушный винт состоит из двух лопастей и имеет длину 2000 мм. Лопасти изготовлены из дерева, насажены на металлическую втулку с крепежными щечками и стяжными болтами. Втулка насажена на вал, ее соединение шпоночное с затяжной гайкой М16.

Рис. 101. Конструктивная схема водоподъемника: 1 – кожух приводного механизма; 2 – втулка стойки вала; 3 – пластина стабилизатора; 4 – труба стабилизатора; 5 – основание; 6 – вал; 7 – опорный ролик; 8 – корпус приводного механизма; 9 – приводной ролик; 10 – лента-транспортер; 11 – натяжной механизм; 12 – стяжной валик; 13 – рамка основания; 14 – обойма отжимного устройства; 15 – противовес; 16 – ось обоймы отжимного устройства; 17 – водоприемник; 18 – сливной штуцер; 19 – ось стяжного валика

Рис. 101 (продолжение). Конструктивная схема водоподъемника: 1 – кожух приводного механизма; 2 – втулка стойки вала; 3 – пластина стабилизатора; 4 – труба стабилизатора; 5 – основание; 6 – вал; 7 – опорный ролик; 8 – корпус приводного механизма; 9 – приводной ролик; 10 – лента-транспортер; 11 – натяжной механизм; 12 – стяжной валик; 13 – рамка основания; 14 – обойма отжимного устройства; 15 – противовес; 16 – ось обоймы отжимного устройства; 17 – водоприемник; 18 – сливной штуцер; 19 – ось стяжного валика
Воздушный винт снабжен стабилизатором, который автоматически устанавливает его против ветра. Направляющая пластина стабилизатора изготовлена из стального листа толщиной 1 мм. Для того чтобы закрепить пластину в несущей трубе диаметром 21 мм, следует сделать продольный пропил, в который и вставить пластину. Закрепляется она по концам двумя сквозными заклепками диаметром 5 мм. В самом начале трубы приваривается пята, имеющая два отверстия под болты М8 для соединения с основанием приводного механизма, а также еще одно отверстие диаметром 25 мм, в которое при сборке вставляется верхняя развальцованная часть пальца опорного ролика. На рис. 101 показана конструктивная схема агрегата.
Приложение 4
Горячая вода? В любое время!
На многих садовых участках и в загородных домах владельцы устраивают летний душ. Он представляет собой отдельно стоящую кабину с баком на крыше. Из бака самотеком по трубе вода поступает к душевой головке. В жаркие дни вода нагревается солнцем и ею приятно освежиться. А вот осенью или весной, когда еще довольно прохладно, не каждый решится искупаться в таком душе.
Чтобы решить эту проблему, необходимо изготовить простейшее устройство – водонагреватель. Он устанавливается на уже готовой душевой установке.
Для начала нужно изменить схему подачи воды, т. е. вывести трубы за пределы душевой кабины, потому что нагреватель с теплообменником монтируются на полочке, укрепленной на наружной стороне боковой стенки. Нагревателем может служить обыкновенная паяльная лампа. Она располагается на полочке так, чтобы камера сгорания входила в змеевик теплообменника. Меняя интенсивность горения и подачу воды, следует отрегулировать температуру струй. Помимо этого, использование паяльной лампы дает возможность запускать установку за 1—2 мин. На рис. 102 показана душевая кабина с устройством подогрева воды.
