Отопление и водоснабжение загородного дома, стр. 43
Приложения
Приложение 1
Баня
В настоящее время многие владельцы загородных домов строят на своих участках бани. Конечно, разные люди предпочтение отдают разным баням, т. е. один любит сауну, другой – традиционную русскую баню с каменкой.
Мы расскажем о постройке традиционной русской бани. Бани могут иметь разные размеры, которые зависят от количества одновременно моющихся людей (рис. 95).

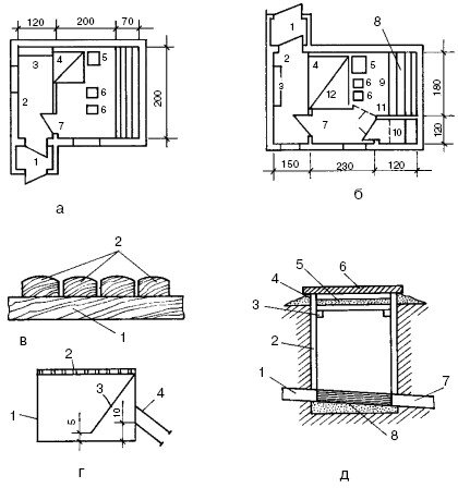
Рис. 95. Баня (размеры даны в см и мм): а – простая баня: 1 – тамбур; 2 – предбанник; 3 – скамья; 4 – печь; 5 – бак для холодной воды; 6 – табуреты; 7 – моечная; б – улучшенная баня с парильней: 1 – тамбур; 2 – предбанник; 3 – скамья; 4 – печь; 5 – бак для холодной воды; 6 – табуреты; 7 – моечная; 8 – полка; 9 – парильня; 10 – раздевалка; 11 – стенка, отделяющая парильню от раздевалки; 12 – дверь; в – конструкция пола: 1 – лага; 2 – доски или бруски; г – трап: 1 – коробка; 2 – решетка; 3 – пластина; 4 – труба; д – смотровой колодец: 1 – труба входная; 2 – стенка; 3 – брусок; 4 – внутренняя крышка; 5 – засыпка утепляющая; 6 – наружная крышка; 7 – труба выходная; 8 – бетонный лоток

Рис. 95 (продолжение). Баня (размеры даны в см и мм): е – печь для отопления и нагрева воды: 1 – каналы для выхода тепла; 2 – кран; 3 – пазуха для горячих газов; 4 – котел; 5 – канал для отвода газов в трубу; 6 – топочная дверка; 7 – поддувальная дверка; 8 – колосники; ж – простая печь-каменка: 1 и 3 – дверки; 2 – чугунные колосники; 4 – проволока или тросик; 5 – котел; 6 – топливник; з – улучшенная печь-каменка: 1 и 3 – дверки; 2 – отверстия в стенке топливника; и – печь-каменка с дополнительной стенкой: 1 – стенка внутри топливника; 2 – отверстие в стенке камеры; к – печь-каменка с поддувалом: 1 – топливник; 2 – зольник; 3 – канал для выхода горячих газов из-под топливника; 4 – отверстия; л – печь-каменка из двух бочек: 1 – зольник; 2 – топливник; 3 – бак для воды;
Полезная площадь на одного моющегося должна составлять не менее 5—6 м2. Высота бани от пола до потолка должна быть равной 2—2,3 м. На самом деле практически все застройщики отступают от предложенных размеров, возводя бани по своим собственным расчетам.
Теперь стоит рассказать подробнее о том, как строится баня. И первое, с чего стоит начать, – это фундамент.
Фундамент бани должен закладываться на глубину промерзания. Если предполагается строить баню из красного кирпича, бетона или камня, то фундамент обязательно должен быть сплошным ленточным, возведенным из бутового камня, хорошо обожженного красного кирпича, железняка или бетона. Красный щелевой и силикатный кирпич нельзя использовать для этих целей.
Если баня будет построена из дерева, то ее можно поставить на столбчатый фундамент из тех же материалов. Ни в коем случае нельзя возводить фундамент из дерева, потому что он довольно быстро сгниет.
Фундамент ставится на 0,5 м выше уровня земли, его верх выравнивается цементным раствором, приготовленным в соотношении 1:3(1 часть цемента и 3 части песка). После этого цементный раствор нужно тщательно просушить, а сверху с помощью мастики уложить гидроизоляцию из двух слоев толя или рубероида. При этом желательно, чтобы толь был на дегтевой мастике, а рубероид – на битумной. После завершения гидроизоляции можно ставить стены.
Стены. Если баня будет строиться из кирпича или бетона, то толщина стен должна составлять не менее 50 см, из бутового камня – 75 см. Если для строительства бани будут использоваться круглые бревна, то их диаметр должен быть не менее 20 см. Дерево должно быть сухим, полностью ошкуренным, без гнили и поражений жучками-древоедами.
Каменные, кирпичные и бетонные стены обладают хорошей прочностью, но они холодные. Сначала нагреваясь, а затем охлаждаясь, они конденсируют, порой так сильно, что по стенам вода буквально течет.
Деревянные конструкции не имеют такого недостатка. Они довольно быстро нагреваются, хорошо держат тепло, не дают конденсату осаживаться, а если древесина очень сухая, то конденсат тут же впитывается в нее.
При возведении бревенчатых стен по завершении сруба необходимо бревна и паклю обработать антисептиком, предотвращающим гниение. Антисептик должен хорошо просохнуть.
Независимо от материала стены можно оштукатурить с одной или двух сторон, применяя цементно-известковый раствор. Кладку следует вести на таком же растворе, но не на глиняном.
Перекрытие можно выполнить из любого материала, но предпочтение все же следует отдать сухой древесине. Для этой цели подойдут доски, горбыль или пластины, которые остругивают с внутренней стороны, промазывают олифой, сушат и красят масляной краской в 2—3 слоя.
В случае если перекрытие будет покрываться штукатуркой, дерево строгать не нужно. Со стороны чердачного помещения перекрытие укрывают толем или рубероидом и засыпают сухим мелким шлаком, стружками, опилками или чистой землей (без остатков растений). Слой засыпки должен составлять не менее 20 см, поскольку тонкая засыпка промерзнет и будет пропускать тепло.
Кровля. Ее можно выполнить из досок, толя, рубероида, шифера, черепицы, соломы, камышитовых щитов, оцинкованной стали. Свес кровли должен иметь напуск на стены не менее 50 см. Чердак должен быть хорошо проветриваемым. Перед топкой бани вентиляционные окна на чердаке следует закрыть.
Отмостка выполняется с наружной стороны фундамента. Она предохраняет грунт внутри бани от попадания атмосферных осадков. Отмостка может быть бетонной, каменной, кирпичной.
Двери. Обычно двери изготовляются из шпунтованных досок или из досок с отобранными четвертями. Размеры двери должны быть на 5 мм меньше расстояния между боковыми четвертями (фальцами). Если двери входят в дверную коробку плотно, то, набухнув от воды и пара, они заклинятся и их трудно будет открывать. В то же время дверь должна закрываться плотно. В моечном помещении размеры двери должны быть такими: ширина 60—70 см, высота – 160—170 см. Можно, конечно, дверь сделать и более высокой, но тогда при открывании через нее будет уходить много тепла.
Порог должен быть высоким – 25—30 см от пола. Это создает неудобство при хождении, но зато хорошо сохраняет тепло на уровне пола.
Окно моечного отделения. Как правило, оно делается одно на расстоянии не выше 1 м от пола. Ширина окна составляет 40—60 см, высота 60—70 см. Самый оптимальный вариант для лучшего сохранения тепла – две рамы, расположенные на расстоянии 10—15 см друг от друга. Стекла нужно ставить на двойной замазке, щели между рамами и коробкой также заделываются замазкой.
В бане должно быть предусмотрено искусственное освещение для темного времени суток. Электрические лампы должны быть защищены от влаги и брызг, провода – с хорошей изоляцией.
Предбанник. Помещение бани всегда строится с учетом того, чтобы можно было устроить моечное отделение и предбанник. Обычно предбанник делают теплым, чтобы в нем можно было раздеваться. Для того чтобы из него меньше уходило тепло, устраивают перед входной дверью тамбур с еще одной дверью. Топка отопительной печи выходит в предбанник. В этом помещении устраивают вешалку для одежды, ставят табуреты или скамью. Окно в предбаннике можно сделать точно таким же, как в моечной. Желательно, чтобы рамы были двойные.
Полы. Они бывают разные. Но обязательно перед устройством пола растительный слой почвы срезают на глубину не менее 15 см. Пол выравнивают и при необходимости поднимают на определенную высоту, но не выше уровня фундамента. Делается это с помощью земли, песка, шлака, гравия, щебня и прочих материалов. После засыпки слой обязательно нужно утрамбовать.
Самым простым является земляной пол, но это создает неудобства и нарушает санитарные нормы. Если прямо на землю положить доски, то это ненадолго улучшит ситуацию, но они быстро сгниют.