Отопление и водоснабжение загородного дома, стр. 42
Минераловатные цилиндры снабжены гигиеническим и пожарным сертификатом, их можно применять в России без всяких ограничений. Они применяются для теплоизоляции трубопроводов при надземной и подземной прокладке. С ними легко работать, т. к. они имеют надрез по всей длине, легко закрепляются на трубе с помощью клипс или алюминиевого скотча. Цилиндры легко нарезаются на куски требуемой длины. Температурный диапазон такого материала колеблется в пределах от —180 до +600° С.
Синтетический каучук
Для изоляции систем вентиляции и кондиционирования, холодильных установок и других, так называемых холодных, объектов используется вспененный синтетический каучук.
Достоинствами этого изоляционного материала являются:
• прекрасные теплоизоляционные качества;
• надежность в работе;
• полная герметичность изоляционного слоя.
При выполнении изоляционных работ производится склеивание вспененного синтетического каучука. При этом возникает так называемое взаимное проникновение поверхностей, т. е. получается эффект холодной сварки. В результате швы имеют прочность, во много раз превышающую прочность самого материала.
Самый главный недостаток этого материала – дороговизна.
Пенополиэтилен
Пенополиэтилен намного дешевле, чем вспененный синтетический каучук, но область его применения ограничена. Он имеет низкую сопротивляемость проникновению водяного пара, что не дает возможности использовать его при изоляции «холодных» объектов. Кроме этого, при применении этого материала невозможно добиться полной герметичности изоляционного слоя, а это ведет к значительным тепловым потерям.
Существенным недостатком пенополиэтилена является невозможность качественного склеивания стыков. В процессе эксплуатации швы могут расклеиваться, приводя к негативным последствиям. Разгерметизация стыков возникает из-за усадки материала. В связи с этим теплоизоляционный слой нуждается в частом ремонте, вызывая дополнительные трудовые и финансовые затраты.
Преодолеть эти недостатки можно, применяя теплоизоляционные трубы из полиэтилена. Полиэтиленовые трубы вместе с листовыми материалами и необходимыми аксессуарами составляют единую универсальную систему изоляции различных инженерных коммуникаций.
Широкой популярностью пенополиэтилен пользуется потому, что легко и быстро монтируется, сравнительно недорого стоит и т. д. Полиэтиленовые трубы можно использовать и на вновь прокладываемых, и на уже действующих системах. Трубы имеют защелку, что очень удобно, особенно в тех местах, где производится постоянный демонтаж изоляции.
Прежде чем выполнять теплоизоляцию, изоляционные трубы разрезают по технологическому шву, чтобы после окончания работ склеить эти разрезы. Особое внимание необходимо уделять созданию небольшого натяга в сторон предыдущего стыка. Это делается для того, чтобы компенсировать возможную усадку полиэтилена. Выпускаются трубы длиной по 2 м.
Теплоизоляция наружных трубопроводов
Выполнение данной операции необходимо для того, чтобы снизить теплопотери в отопительных трубопроводах, а также для предохранения их от замерзания. Если на участке возведено одно строение (жилой дом), теплоизолировать нужно только трубопровод подключения к централизованным коммуникациям. Но для хозяев, имеющих на участке жилой дом, баню, гараж, теплицу, крытый бассейн и прочие строения, проблема тепловой изоляции труб весьма актуальна.
Нет смысла прокладывать локальную отопительную систему для каждого строения, а плохая теплоизоляция создаст дополнительные затраты на отопление. В некоторых случаях некачественная изоляция может привести к аварийным ситуациям – замораживанию трубопроводов.

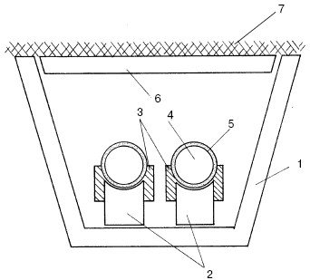
Рис. 94. Укладка отопительных трубопроводов в лотки: 1 – лоток; 2 – опоры под трубы; 3 – крепление труб; 4 – труба; 5 – изоляция; 6 – плита перекрытия; 7 – грунт
Как правило, трубопровод холодного водоснабжения заглубляют ниже точки промерзания грунта, а трассы отопительных систем укладывают в железобетонные лотки, утепляя их каким-либо теплоизоляционным материалом (рис. 94).
Обычно производят изоляцию стальных труб, стыки которых при монтаже свариваются. После сварки стыки зачищают и изолируют. Если трубопровод выполнен из медных или металлополимерных труб, его можно прокладывать в грунте без бетонного лотка. Для этого трубы предварительно изолируют, помещают в обсадные изоляционные трубы из особо плотного полиэтилена, укладывают на слой из песка, а затем засыпают песком на глубину не менее 20 см. Полученный слой уплотняют с обеих сторон от трубопровода. После этого траншею закапывают, засыпая обычным грунтом, уплотняя его слой за слоем.
Такой способ монтажа и теплоизоляции трубопроводов влечет за собой большие затраты времени и сил, потому что приходится вынимать большое количество грунта. Избежать этого можно, если использовать новейшие технологии, которые совсем недавно появились на российском рынке.
Трубы «Ecoflex» – это суперсовременный материал, дающий возможность решить все проблемы, связанные с традиционным монтажом локальных теплосетей в лотках. Надежная изоляция этих труб позволяет укладывать их в грунт на глубине всего в 40—50 см. В некоторых случаях их прокладывают даже поверх грунта. Этим трубам не нужно дополнительного утепления.
Выпускают их в бухтах от 100 до 200 м. Данные трубы предназначены для устройства однотрубных (для холодного или горячего водоснабжения) и многотрубных систем. В одном трубопроводе «Ecoflex» может быть до четырех труб. Поскольку они поставляются в бухтах, то не требуют монтажных соединений, а это, в свою очередь, значительно увеличивает надежность сетей.
Эти трубы обладают повышенной гибкостью, что позволяет плавно обходить встречающиеся препятствия (это тоже упрощает монтаж). Естественно, что стоимость этих труб значительно выше, чем традиционных. Но, учитывая большую экономию на монтажных, изоляционных и земляных работах, цена компенсируется. Зато надежность системы «Ecoflex» очень высока, а сроки прокладки трубопроводов сокращаются в несколько раз. Для производства монтажных работ не требуется специального инструмента или квалификации монтажника.
Теплоизоляция «Thermaflex». Компания «Thermaflex» предлагает покупателям широкий выбор теплоизоляционных материалов, предназначенных для отопительных, сантехнических, вентиляционных и прочих трубопроводов.
Самая популярная серия «Thermaflex FR» включает в себя пять вариантов теплоизоляционных материалов, изготовленных из высококачественного полиэтилена с закрытой ячеистой структурой:
1. «Thermaflex FRZ» – трубные оболочки с продольным надрезом, предназначенные для изоляции как старых, так и новых трубопроводов.
2. «Thermaflex FRZ-A SmartLine» – трубные оболочки с внутренним диаметром 12—42 мм, с самоклеющимся слоем вдоль продольного надреза.
3. «Thermaflex FRM» – трубные оболочки с замком-защелкой.
4. «Thermasheet FR» – теплоизоляционные маты, предназначенные для изоляции каналов с круглым и прямоугольным сечением.
5. «Thermaduct FR» – теплоизоляционные ленты с замком-защелкой.
В последнее время появилась еще одна новинка фирмы «Thermaflex» – изоляционный материал «Ther-macompact», предназначенный для укладки труб в бетоне, внутри стен и полов. В красный цвет выкрашен верхний защитный слой этого материала, предохраняющий его от агрессивного воздействия влаги и механических повреждений. Поскольку теплоизолирующий слой имеет достаточную толщину, высоту стяжки можно значительно уменьшить.