Отопление и водоснабжение загородного дома, стр. 17
Таблица 33
Технические характеристики конвекторов отечественного производства



Такого рода трубы бывают чугунными, имеют длину 1—2 м. Внутри ребристой трубы обычно устанавливается фланцевая труба для теплоносителя (рис. 33).
Из-за множества тонких ребер площадь нагревательной поверхности отопительного прибора увеличивается в несколько раз. Обычно ребристые трубы устанавливают в несколько рядов. Между собой они соединяются по схеме змеевика фланцами и двойными фланцевыми отводами.

Рис. 33. Труба ребристая чугунная с круглыми ребрами: 1 – канал теплоносителя; 2 – ребра; 3 – фланец (все размеры даны в мм)
Эти отопительные приборы имеют несколько положительных свойств:
• невысокую стоимость;
• небольшую температуру наружной нагревательной поверхности при высокой температуре теплоносителя;
• компактность;
• простоту установки.
Как и все отопительные приборы, ребристые трубы имеют и ряд недостатков, к которым можно отнести:
• довольно значительный вес;
• неустойчивость к механическим повреждениям;
• несоответствие санитарно-гигиеническим требованиям, т. е. из-за наличия большого количества ребер отопительный прибор трудно содержать в чистоте;
• непривлекательный дизайн.
Поэтому ребристые трубы, как правило, устанавливают в хозяйственных постройках.
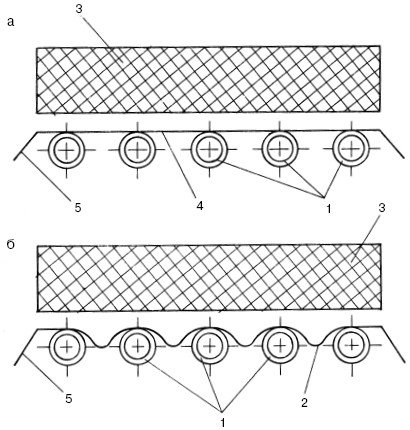
Такого рода отопительные приборы относятся к классу радиационных аппаратов, т. е., нагреваясь сами, они излучают тепло (рис. 34). Радиационный способ обогрева помещений представляет собой взаимный лучистый обмен между предметами, конструкциями дома и отопительными приборами.

Рис. 34. Потолочные излучатели: а – с плоским экраном; б – с волнообразным экраном; 1 – нагревательные элементы; 2 – волнообразный экран; 3 – теплоизоляция; 4 – плоский экран; 5 козырек
При обогреве помещения потолочными излучателями люди чувствуют себя более комфортно, чем при отоплении конвективным способом. Это объясняется тем, что при понижении температуры окружающего воздуха примерно на 2° С увеличивается конвективная теплоотдача человека, а это очень сильно влияет на улучшение его самочувствия. Оптимальная температура в помещении, обогреваемом конвекторами, составляет 19,3° С, а при отоплении потолочными излучателями – 17,4° С.
Потолочные излучатели имеют множество достоинств. Они создают микроклимат, благоприятный для человека, обеспечивают сильный нагрев внутренних поверхностей жилища и, как следствие, уменьшение теплоотдачи человека, а также значительно уменьшают тепловую энергию, требующуюся на обогрев помещения.
Наряду с достоинствами, конечно же, имеются и недостатки. К ним можно отнести:
• большую тепловую инерцию;
• теплопотери через наружные ограждения;
• монтаж дополнительной арматуры для регулировки теплоотдачи бетонных панелей.
Радиаторы – это отопительные приборы с двумя способами отдачи тепла: конвективным и радиационным. На конвекцию приходится 75% от общего теплового потока, а на радиацию – 25%.
Конструктивно радиаторы водяного отопления делятся на секционные и панельные. Первые изготавливаются из чугуна, стали и алюминия. Вторые могут быть стальными и биметаллическими (сталь и алюминий).
На российском рынке в наше время можно найти не только радиаторы отечественного производства, но и импортные. Но вторые покупать нужно только в том случае, когда вся отопительная система импортная. В противном случае зарубежные радиаторы быстро выйдут из строя, потому что они не рассчитаны на жесткую воду с механическими примесями.
Секционные чугунные радиаторы являются самым распространенным видом отопительных приборов в России. Их производят с начала ХХ в. Популярность данного вида приборов обусловлена тем, что стальные и алюминиевые радиаторы имеют недостаточную прочность для российских теплосетей.
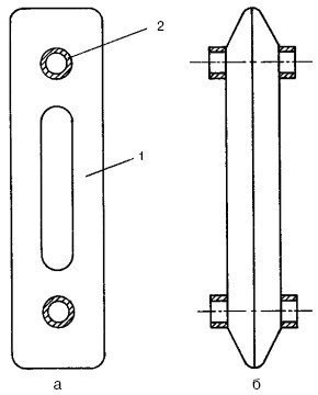
Чугунный радиатор состоит из одно– или многоколончатых секций с каналами круглого или эллипсовидного сечения. Самыми распространенными являются радиаторы с двухколончатыми секциями высотой 50 см (рис. 35). Между собой секции соединяются ниппелями с картонными, резиновыми или паронитовыми прокладками.
Обычно чугунные радиаторы рассчитаны на рабочее давление 6—9 атм, опрессовочное (испытательное) – 15—18 атм и максимальную температуру теплоносителя – 130° С. Они имеют следующие положительные свойства:
• большую тепловую мощность;
• высокую механическую прочность;
• хорошую коррозионную стойкость;
• невосприимчивость к плохому качеству теплоносителя.
К недостаткам этих отопительных приборов можно отнести:
• большую металлоемкость;
• высокую тепловую инерцию;
• нестойкость к гидравлическим ударам в системе;
• несоответствие санитарно-гигиеническим нормам;
• большие трудозатраты при транспортировке и установке из-за большого веса радиатора;
• неэстетичный внешний вид.

Рис. 35. Секция радиатора двухколончатая: а – вид в разрезе; б – вид сбоку; 1 – колонки; 2 – внутренняя резьба
Секционные алюминиевые радиаторы по популярности в нашей стране идут вторыми после чугунных. Они представляют собой прессованные секции и коллекторы, которые изготавливаются из алюминиевого сплава с добавлением кремния (он придает металлу необходимую прочность на разрыв). Алюминиевые радиаторы выпускаются в двух вариантах:
а) литые отопительные приборы (каждая секция отливается как отдельная деталь);
б) экструзионные радиаторы (каждая секция состоит из трех элементов, соединенных между собой специальными болтами). Герметичность соединений достигается за счет уплотнительных элементов или с помощью клеевого соединения.
У алюминиевых радиаторов также имеются свои плюсы и минусы. К положительным качествам можно отнести:
• повышенную теплоотдачу за счет оребрения секций;
• высокую скорость нагрева (нагреваются в несколько раз быстрее, чем чугунные);
• экономичность потребления энергии;
• возможность регулировки температуры воздуха в помещении;
• небольшую массу;
• простоту установки и транспортировки;
• современный дизайн.
Большинство алюминиевых радиаторов рассчитано на рабочее давление 6—25 атм, опрессовочное давление – 9—37 атм, максимальную температуру теплоносителя – 130° С.
К недостаткам алюминиевых радиаторов относятся:
• невысокая конвективная способность;
• повышенное газообразование, которое приводит к воздушным пробкам в системе отопления;
• высокая вероятность возникновения протечек между секциями;
• концентрация тепла на оребрении.
В продаже имеются также анодированные радиаторы, которые изготавливают из алюминия высшей степени очистки с последующим полным анодным оксидированием всей поверхности. Анодное оксидирование изменяет структуру алюминия, тем самым защищая радиатор от всех видов коррозии, а также других вредных воздействий. Для соединения элементов радиатора между собой применяются не ниппели, а сухие наружные муфты. Благодаря этому внутренняя поверхность отопительных приборов остается гладкой. Такой способ соединения исключает образование застоев теплоносителя и засоров системы. Теплоотдача анодированных радиаторов значительно выше, чем простых алюминиевых.

Рис. 36. Стальные панельные радиаторы: а – колончатой формы; б – змеевиковой двухходовой; в – змеевиковой четырехходовой; 1 – колонки
Анодированные радиаторы рассчитаны на рабочее давление 50—70 атм, а разрушаться они начинают только при давлении 215 атм!