Отопление и водоснабжение загородного дома, стр. 13
Водогрейные котлы, изготовленные в бывших соцстранах, несколько дешевле своих западных аналогов, хотя по качеству нисколько им не уступают.
Еще одним недостатком импортных аппаратов является то, что они не могут эффективно работать в условиях нестабильной подачи газа или электроэнергии. Но западные производители стали приспосабливать свое оборудование к российским условиям работы. Так, японская фирма «Rinnai» и немецкая «Viessmann» выпускают водогрейные котлы, которые могут работать при нестабильной подаче топлива.
Ниже расскажем о некоторых производителях импортного оборудования для отопления.
Фирма «Buderis» специализируется на производстве отопительного оборудования, являясь лидером по изготовлению чугунных водогрейных котлов со встроенными атмосферными и дутьевыми горелками.
Вышеназванная компания выпускает газовые котлы «Logano GE—315», «Logano GE—515» (рис. 23), «Logano GE—615». Их топочная камера изготовлена из специального антикоррозийного серого чугуна G 180 М, разработанного этой фирмой. Помимо этого, в котлах данного типа применена новая технология «Thermo-stream», поддерживающая температуру внутри котла на стабильном уровне, что, в свою очередь, не дает конденсату осаживаться на стенках теплообменника.

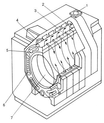
Рис. 23. Газовый котел «Logano GE-515»: 1 – подающая линия котла; 2 – отверстия выхода воды; 3 – обратная линия котла; 4 – верхняя обечайка; 5 – второй ход продуктов сгорания; 6 – третий ход продуктов сгорания; 7 – топка (первый ход продуктов сгорания)
Остывшая вода из обратного трубопровода постоянно перемешивается с нагретой водой, что поднимает температуру поверхности, контактирующей с отопительными газами. Благодаря применению данной технологии КПД котла увеличивается до 95%. Используемый экономичный низкотемпературный режим отопления почти не дает потерь тепла, снижая расход электроэнергии. Движение дымовых газов идет по трехходовому принципу, значительно уменьшая вредные выбросы в атмосферу.

Рис. 24. Водяной контур чугунной секции котла «Logano GE-434»: 1 – трубки подачи холодной воды; 2 – потоки теплой воды
Также эта фирма выпускает чугунный котел «Logano GE—434» (рис. 24), который представляет собой двухблочный агрегат с двумя независимыми атмосферными горелками.

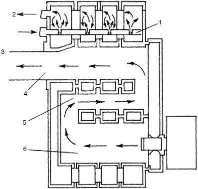
Рис. 25. Котел «Logano GE-215»: 1 – поступление холодной воды из обратной линии; 2 – подающая линия; 3 – обратная линия; 4 – третий ход продуктов сгорания; 5 – второй ход продуктов сгорания; 6 – топка: первый ход продуктов сгорания
Блоки смонтированы в общем корпусе, поэтому одновременная их работа соответствует работе двух отопительных котлов. Данные блоки контактируют друг с другом задними стенками, а между собой соединены трубами, на которых имеется по два кольцевых дроссельных клапана. Каждый блок оснащен одной газовой горелкой со своей аппаратурой. Из-за применения вышеназванной технологии «Thermostream» отпадает необходимость поддерживать постоянное значение температуры обратной воды.

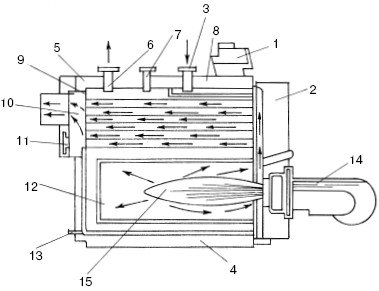
Рис. 26. Котел «Logano SE»: 1 – пульт управления; 2 – дверь котла; 3 – направляющий элемент водяного контура; 4 – рама котла; 5 – теплоизоляция; 6 – подающая линия котла; 7 – штуцер предохранительного клапана; 8 – обратная линия котла; 9 – композитные отопительные поверхности; 10 – сборник дымовых газов; 11 – ревизионное отверстие; 12 – камера сгорания; 13 – спуск воды из котла; 14 – горелка; 15 – пламя горелки
Котлы «Logano G—115» и «Logano G—215» (рис. 25) представляют собой низкотемпературные агрегаты, работающие на жидком топливе (дизтопливо). Их котельный блок изготовлен из антикоррозийного серого чугуна G 180 М. Камера сгорания топлива приспособлена под конфигурацию пламени. Применение принципа трехходового движения продуктов сгорания дает возможность топливу сгорать полностью, а вредные выбросы в атмосферу значительно снижаются.
Данный аппарат оснащен адаптивной автоматической системой управления, полностью отключающей котел, когда нет необходимости подогревать воздух в помещениях и отсутствует потребность в горячей воде. КПД такого рода котлов составляет 96%.
На рис. 26 показан стальной котел «Logano SE» с дутьевой горелкой, работающий на газе или дизтопливе. Он имеет специальную поворотную камеру сгорания. Стальные котлы фирмы «Buderis» имеют низкие рабочие температуры, оптимальный процесс сгорания топлива, возможность полного отключения оборудования. Все эти преимущества делают их долговечными, экономичными и надежными. Такие котлы бывают мощностью 71—1600 кВт.
Одним из лидеров в Европе по производству водогрейных котлов является немецкая компания «Vaillant». Фирма изготавливает газовые котлы VC, VU, VU/1. В настоящее время на рынке отопительного оборудования можно встретить и новейшие серии котлов этой фирмы: «Euro Pro» и «Euro Plus», в которых довольно много электронной начинки.
Водогрейные котлы «Euro Pro» оснащены дисплеем с 7 светодиодами, которые показывают состояние аппарата. Помимо этого, имеется кнопка устранения ошибки в исполнении программы. На котлах «Euro Plus» установлены 3 светодиода и клавиатура с 4 клавишами. Обе эти модели обладают небольшими габаритами, бесшумностью в работе, просты в обслуживании и эксплуатации и пр.
Еще фирмой «Vaillant» выпускаются водогрейные газовые котлы настенного исполнения (серии «Atmomax» и «Turbomax»). Эти котлы работают как на природном, так и на сжиженном газе. Они представляют собой одно– и двухконтурные котлы мощностью 12, 20, 24 и 28 кВт с модуляционными горелками. Помимо этого, двухконтурные котлы оснащены функцией «горячий пуск». При ее включении можно сразу получить горячую воду нужной температуры. Достигается это следующим образом. Во время нагревания воды котел работает только в этом направлении, а отопление просто выключается. Также отопление можно выключить на время теплого сезона. В этом случае котел будет нагревать только воду.
Газовый котел «Atmomax» имеет открытую камеру сгорания, из которой естественным образом удаляются продукты сгорания топлива. В нижней части агрегата, под модуляционной горелкой, установлена отражательная пластинка, защищающая от перегрева основные узлы котла и направляющая поступающий воздух к горелке. В связи с тем что забор воздуха, необходимый для эффективной работы котла, производится из помещения, необходимо оборудовать котел приточной вентиляцией. Дымовые газы будут удаляться естественным путем – через дымоход. В данной модели котла имеется стабилизатор тяги, который служит преградой, отделяющей горелку от дымовой трубы. Кроме этого, стабилизатор тяги служит датчиком выделяющихся при горении топлива дымовых газов. Он отключит котел через 1—1,5 мин после того, как дымовые газы появятся в воздухе отапливаемого помещения.
У аппарата «Turbomax» имеется закрытая камера сгорания топлива, оснащенная системой принудительного удаления дымовых газов, т. е. в камере установлен вентилятор. Вентилятор также служит для доставки воздуха к горелке. Для того чтобы можно было контролировать работу котла, на нем смонтировано реле давления воздуха. В случае, когда разность давления воздуха недостаточна, реле не включается. Если во время действия аппарата подача воздуха значительно снизится, контакты реле разомкнутся, подача газа прекратится немедленно. Установка данного котла весьма проста, поэтому его часто используют при модернизации устаревшего отопительного оборудования.
На обеих моделях котлов имеются системы безопасности: реле давления воздуха, датчики отходящих газов, датчики расхода воды, ионизационные электроды, предназначенные для контроля за горением топлива и т. д. Все эти приборы в случае возникновения пожаро-, взрывоопасной или любой другой экстремальной ситуации немедленно отключат котел.