Отопление и водоснабжение загородного дома, стр. 12
Таблица 22
Горелки для газового топлива


Таблица 23
Горелки для жидкого топлива


Поскольку цена котла с комбинированной горелкой значительно выше, чем у котла с одним видом топлива, но со сменной горелкой, то в России их пока немного.
Универсальный котел «Пламя»
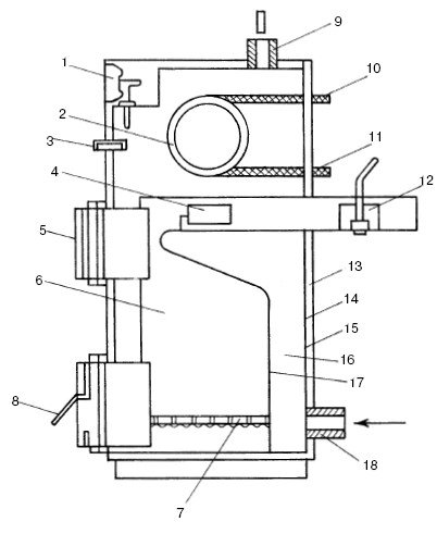
Такие котлы бывают как одноконтурными, так и двухконтурными. Их корпус изготавливается из стали, а работают они на всех видах топлива (рис. 21). Конструкция агрегата «Пламя» такова, что позволяет довольно быстро переоборудовать его с одного вида топлива на другой. На передней панели имеются две дверцы. Первую из них используют для загрузки твердого топлива, а вторую – для чистки топки и для подачи воздуха.
В случае, когда котел работает на газе или дизтопливе, вместо второй дверцы устанавливается атмосферная или жидкотопливная горелка. На задней стенке котла смонтированы патрубки горячей воды, дымоход и патрубок обратного трубопровода отопительной системы.
При работе котла с использованием твердого топлива используется регулятор подачи воздуха, который регулирует интенсивность горения и систему электроподогрева, позволяющую поддерживать постоянную температуру между загрузкой порций топлива. Кроме этого, если произойдет отключение основного источника обогрева, то данная система будет поддерживать плюсовую температуру в доме.
Промышленность выпускает три модификации универсального котла «Пламя», которые классифицируются по мощности:
– модель 12,5 предназначена для обогрева домов площадью до 120 м2;
– модель 20 – для домов площадью от 120 м2;
– модель 40 – для домов площадью 250—500 м2. Данные модели предназначены для отопительных систем с естественной и принудительной циркуляцией теплоносителя.

Рис. 21. Универсальный котел «Пламя»: 1 – термометр; 2 – проточный водонагреватель; 3 – патрубок установки термодатчика; 4 – турбулизатор; 5 – дверца загрузочная; 6 – топка; 7 – колосник; 8 – поддувало; 9 – патрубок подающего трубопровода; 10 – патрубок горячей воды; 11 – патрубок холодной воды; 12 – шибер регулирования тяги, установленный в дымоходе; 13 – кожух; 14 – воздушный зазор (теплозащита); 15 – внешняя стенка котла; 16 – водяная рубашка (теплоноситель); 17 – внутренняя стенка котла; 18 – патрубок обратного трубопровода
Положительными качествами котла «Пламя» можно считать невысокую цену оборудования, простоту и дешевизну установки, долгий срок эксплуатации, а также экономию тепла за счет системы электроподогрева.
Водогрейные (гидронные) котлы
В настоящее время промышленность выпускает водогрейные котлы трех типов:
• с горизонтальными водяными трубами (ГВТ);
• с горизонтальными огневыми трубами (ГЖТ);
• с чугунным секционным теплообменником (ЧСТ).
Внешний вид такого рода котлов показан на рис. 22.
Если при эксплуатации водогрейных котлов вышеуказанных типов будут соблюдаться условия, оптимальные для их работы, то агрегаты будут работать долго и без сбоев. Неправильная эксплуатация и уход не только уменьшают КПД котла, но могут привести к перебоям в работе весьма дорогостоящего и надежного оборудования. Поскольку в России довольно часто бывают всевозможные форс-мажорные явления, то специалисты были вынуждены придумать так называемые гидронные котлы, имеющие «прощающую» конструкцию. Массовое производство таких котлов началось в 2000 г.
Специальная «прощающая» конструкция была заимствована из авиастроения. Конструкция представляет собой систему, способную эффективно работать в экстремальных условиях: при высокой жесткости воды, при сбоях в подаче электроэнергии, при низкой температуре воды и т. д.
Гидронные котлы – это высокоскоростные водогрейные агрегаты малой емкости. Какими же преимуществами обладает гидронный котел по сравнению с другими моделями отопительных котлов?

Рис. 22. Водогрейные котлы: а – с горизонтальными водяными трубами; б – с чугунным секционным теплообменником; в – с горизонтальными огневыми трубами
Первое, и основное, преимущество – высокая скорость прохождения теплоносителя через нагреваемые поверхности аппарата. Высокая скорость предотвращает отложение накипи на стенках теплообменника, в трубах и отопительных приборах. Даже если накипь и появится, водяной поток, движущийся с большой скоростью, тут же смоет ее. Причем чем жестче будет вода, тем более высокой должна быть скорость потока.
Второе преимущество: в связи с высокой скоростью движения теплоносителя в системе скорость теплоотдачи в котле такого типа в 10 раз выше, чем в аппаратах обычной системы.
Третье преимущество: из-за небольшого водяного объема гидронные котлы абсолютно безопасны и экономят топливо. Агрегаты с большим объемом воды требуют больше времени и топлива для нагрева всей массы воды. Если при этом выйдет из строя система безопасности, то огромное количество горячей воды может спровоцировать сильный взрыв с довольно ощутимыми разрушениями. Правда, происходит это весьма редко, но все-таки случается.
Четвертое преимущество: в гидронных котлах не образуется конденсат, а значит, они не подвержены коррозии. Это происходит еще и потому, что трубы теплообменника изготовлены из меди, которая, как известно, слабо поддается коррозии.
Пятое преимущество: высокая безопасность гидронных котлов обусловлена тем, что при значительном подъеме температуры воды трубы теплообменника расплавляются, тем самым сбрасывается излишнее давление и предотвращается взрыв котла. После экстремальной ситуации гидронному аппарату требуется самый незначительный ремонт.
Шестое преимущество: «прощающая» конструкция дает возможность использовать режим быстрого охлаждения котла. Быстрое охлаждение может вывести из строя котел с традиционной конструкцией, но не окажет практически никакого воздействия на гидронный агрегат. Это стало возможным потому, что теплообменник гидронного котла как бы плавает в кожухе аппарата. Он имеет возможность сжиматься и расширяться, не испытывая при этом никакого противодействия.
Положительные и отрицательные стороны импортных котлов
В настоящее время на российском рынке отопительного оборудования имеется огромное количество водогрейных котлов зарубежного производства. Многие наши соотечественники отдают им предпочтение, считая импортное оборудование надежнее, красивее и лучше отечественного. Но так ли это на самом деле? Попробуем разобраться в этом вопросе.
Конечно, импортные водогрейные котлы обладают рядом преимуществ, среди которых можно назвать следующие:
• современный дизайн;
• удобные габариты;
• простота эксплуатации и обслуживания, которая достигается за счет встроенной в аппарат автоматики. Но это преимущество, в свою очередь, является и минусом, потому что вышедшую из строя автоматику очень сложно отремонтировать и настроить;
• только что приобретенный котел можно сразу монтировать по месту эксплуатации;
• довольно высокий КПД;
• хороший уровень безопасности оборудования, оснащенного несколькими степенями защиты.
К недостаткам агрегатов зарубежного производства относится в первую очередь высокая цена оборудования и монтажа, возникающая из-за того, что все комплектующие должны точно соответствовать качеству самого котла. Применение при установке дешевого оборудования значительно сокращает срок службы всей отопительной системы в доме. Но, как известно, если в момент покупки котел стоит очень дорого, то в процессе эксплуатации он сэкономит вам средства.