Большая Советская Энциклопедия (КО), стр. 292
Сильфонный компенсатор: 1 — сильфон; 2 — фланцы; 3 — ограничитель хода.

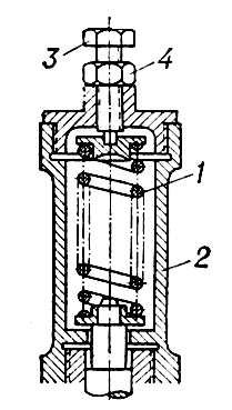
Компенсация отклонений, изменяющих усилие пружины, регулировочным винтом: 1 — пружина; 2 — корпус; 3 — регулировочный винт; 4 — контргайка.
Компенсатор автоматический
Компенса'тор автомати'ческий, автоматическое измерительное устройство, работающее по компенсационному методу измерения , то есть по методу сравнивания двух величин, главным образом электрических напряжений или сил токов. Существуют К. а. со следящим двигателем и с компенсационным усилителем. В К. а. со следящим двигателем датчик D преобразует измеряемую величину х в эдс Ех , которая сравнивается с другой эдс в измерительной схеме уравновешивания. Сигнал рассогласования DЕ усиливается и вызывает вращение следящего двигателя Д. Одновременно перемещается уравновешивающий орган (УО), изменяя сопротивление компенсирующей цепи (в схеме уравновешивания) таким образом, чтобы DЕ уменьшилось; при DЕ= 0 двигатель останавливается. Отсчёт производится по показанию стрелки прибора или самописца, жестко связанных с УО. По такому принципу работает, например, потенциометр автоматический. К. а. со следящим двигателем представляет собой замкнутую астатическую (поскольку она содержит одно интегрирующее звено в виде двигателя) систему и является разновидностью следящих систем . Большинство приборов, работающих по этому принципу, производят регистрацию, а иногда и регулирование измеренной величины. Такие самоуравновешивающиеся приборы можно применять для измерений практически любых величин (эдс, сопротивления, индуктивности, емкости, частоты, мощности, температуры, механического перемещения, давления, уровня, светового потока и т.д.), которые могут быть преобразованы в электрический сигнал. Преимущества этих приборов: высокая чувствительность (порог чувствительности некоторых К. а. < 1 мкв ) и точность измерения (0,2—0,5% от диапазона шкалы), возможность измерения без потребления энергии из измеряемой цепи; дистанционность измерений; хорошее быстродействие (скорость перемещения по шкале до 1 м/сек ).
В К. а. с компенсационным усилителем измеряемая эдс Ех сравнивается с компенсирующим напряжением Ек ; сигнал рассогласования DЕ = Ех —Ек подаётся на вход усилителя У, на выходе которого появляется ток I, создающий компенсирующее напряжение IR =Ek , приблизительно равное Ех . Результат измерения отсчитывается по гальванометру. К. а. с компенсационным усилителем представляет собой замкнутую, в общем случае статическую (поскольку здесь нет интегрирующего звена) систему, характеризуется статической или погрешностью компенсации (Ех — Ек ). Этот К. а. можно рассматривать также как измерительный усилитель с обратной связью, преобразующий подаваемую на вход малую эдс Ех (или ток) в пропорционально изменяющийся ток /. Точность измерения таких К. а. ограничена классом точности гальванометра. К. а. с компенсирующим усилителем являются лабораторными приборами для измерений небольших постоянных эдс и сил токов, а также для проверки электроизмерительных приборов, иногда применяются как комплексные компенсаторы переменного тока.

Схема автоматического компенсатора: а — со следящим двигателем; б — с компенсационным усилителем; х — измеряемая величина; D — датчик; Ех — преобразованная эдс; У — усилитель; DЕ — сигнал рассогласования; Д — электродвигатель; УО — уравновешивающий орган; Г — гальванометр; Ек — эдс компенсации; R — сопротивление; I — ток.
Компенсатор оптический
Компенса'тор опти'ческий, устройство, с помощью которого двум лучам света сообщается определённая разность хода , либо уже имеющаяся разность хода сводится к нулю или некоторому постоянному значению. Обычно К. о. снабжаются отсчётными приспособлениями, превращающими их в измерители разности хода. Общий принцип конструкций К. о. — возможность введения малых разностей хода посредством сравнительно грубых перемещений. Наиболее употребительны два типа К. о.
К. интерферометрические применяются в двухлучевых интерферометрах для уравнивания разностей хода в интерферирующих лучах. Примером К. о. этого типа является плоскопараллельная пластинка, в которой оптическая длина пути луча зависит от угла его падения на пластинку. Обычно на пути каждого из двух интерферирующих лучей помещают по пластинке одинаковой толщины; если они строго параллельны друг другу, то вносимая ими дополнительная разность хода равна нулю. Одна из пластинок снабжается приспособлением, позволяющим поворачивать ее на небольшой угол относительно другой; сообщаемая при этом разность хода может быть измерена по углу поворота. Имеется ряд более сложных конструкций — К. о. с передвижным клином и т.п.
К. поляризационные применяются для анализа эллиптически поляризованного света, т. е. для определения ориентации осей эллипса поляризации и отношения их величин (см. Поляризация света ). В таких К. о. используется свойство двояколучепреломляющих кристаллов разделять падающий на них луч света на два луча, поляризованные во взаимно перпендикулярных направлениях (см. Двойное лучепреломление ). Скорости этих лучей в кристалле (а следовательно, и оптические длины их путей) различны; поэтому, проходя через кристалл, они приобретают разность хода, определяемую его толщиной. Простейший из К. о. такого типа называют пластинкой четверть длины волны (по вносимой ею разности хода). Поляризационные К. о. изменяют характер поляризации пропускаемого через них света, превращая, например, эллиптически поляризованный свет в поляризованный линейно или по кругу. Точность измерения разности хода с их помощью достигает 10-5 2p.
К. о. широко применяются в дальномерах , при изучении распределения напряжений в прозрачных объектах с помощью поляризованного света, при изучении структуры органических веществ, в сахариметрии и в особенности в кристаллооптике , где К. о. является важнейшим вспомогательным прибором, используемым совместно с поляризационным микроскопом .
Лит.: Ландсберг Г. С., Оптика, 4 изд., М., 1957 (Общий курс физики, т. 3); Захарьевский А. Н., Интерферометры, М., 1952; Поль Р. В., Оптика и атомная физика, пер. с нем., М., 1966.