Кен Хэм Эндрю Снеллинг Карл Вилэнд КНИГА ОТВЕТОВ Ответы на 12 наиболее часто задаваемых вопросов о к, стр. 10
Измерения перемещения на один–два метра ничего не дают, но если будет установлено постоянное движение нескольких плит в направлении, предсказанном теоретическими моделями тектоники плит, то это, разумеется, явится мощным доказательством в их пользу. Если же такое доказательство появится и выдержит испытание временем, то модель Додуэлла будет, по–видимому, самым подходящим инструментом для исследования и объяснения первоначального быстрого перемещения плит во время Потопа, когда они благодаря громадной катастрофической энергии за короткое время преодолели тормозящую силу вязкой земной мантии, а затем снизили скорость до нынешнего уровня. Разделение на части одного континента могло бы в перспективе объяснить некоторые Другие очевидные геологические загадки, например, удивительную схожесть осадочных пластов на северо–востоке США и в Великобритании и в то же время отсутствие таких пластов в лежащем между ними бассейне Атлантического океана, схожесть в геологии частей Австралии, Южной Африки, Индии и Антарктиды и другие. Однако, как мы видели, эти измерения не дают таких доказательств. Следует отметить, что некоторые ученые обращаются к модели Додуэлла для объяснения континентального дрейфа как катастрофы, случившейся после Потопа, например, во времена Фалека [54].
В заключение
Отсутствие надежного механизма перемещения плит, неопределенность в отношении палеомагнетизма океанического дна вместе с отмеченным расширением океанического дна, а также сомнения относительно подмятия плит делают само предположение о дрейфе континентов и теорию тектоники плит в высшей степени спекулятивными и спорными. Как сказал один эволюционист:
«Почему немногие геологи–брюзги отказываются признать все или хотя бы некоторые принципы «новой глобальной теории тектоники»?.. Строго говоря, у нас нет научной гипотезы, есть скорее прагматическая модель, приспособленная для объяснения любого нового наблюдения… очевидно, что такую модель нельзя подвергнуть строгой научной проверке [55]».
Утверждения о том, что величина дрейфа измерена, также сомнительны. Во всяком случае в Библии не говорится прямо за или против континентального дрейфа.
Глава 3
ЧТО МОЖНО СКАЗАТЬ О ДАТИРОВАНИИ ПО УГЛЕРОДУ 14?
Углерод, черное вещество в древесном угле, существует в различных формах. Атомы одной из его наиболее редких форм в 14 раз тяжелее атомов водорода. Это и есть углерод–14 или С14. В отличие от обычного углерода (С12) углерод–14 относительно легко разлагается или «разваливается на части». Благодаря такой неустойчивости он радиоактивен. Многих тревожит, что углерод–14 якобы доказывает ошибочность библейской шкалы времени в истории. На деле же часы по углероду–14 идут в полном соответствии с библейским описанием прошлого Земли.
Углерод–14, как его часто называют, радиоактивный углерод, образуется в верхних слоях атмосферы под действием космических лучей. Обычный азот (№ 14) преобразуется в С14, как показано на рисунке 1.
Обычный углерод (С12) находится в форме двуокиси углерода в воздухе, которым мы дышим, и благодаря растениям и животным вовлекается в кругооборот в природе. Таким образом, ваше тело, лист дерева или даже любой кусок деревянной мебели содержит углерод. Когда образуется углерод–14, он ведет себя точно так же, как обычный углерод (С12), соединяясь с кислородом и образуя двуокись углерода (С14О2), и так же свободно циркулирует в клетках всех растений и животных. Разница вот в чем: образовавшись, углерод–14 начинает радиоактивно распадаться обратно в № 14, причем скорость изменения можно измерить. Если взять пробу воздуха и измерить, сколько в ней атомов С12 на один атом С14, это дает нам то, что называют пропорцией C14/C12. Поскольку углерод–14 очень равномерно перемешан с углеродом–12, можно ожидать, что пропорция будет той же самой при замере листа с дерева или какой–то части вашего тела.
Представьте себе, что в тесто для пирога высыпали чайную ложку какао: через некоторое время пропорция какао с частицами муки будет примерно одинаковой в любой части пирога. Тот факт, что атомы углерода–14 превращаются обратно в азот–14, не имеет значения для живого существа. Поскольку оно постоянно обменивается углеродом с окружающей средой, пропорция остается постоянной в атмосфере и во всех живых существах.

Рисунок 1
Как работают «углеродные часы»
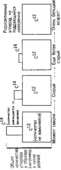
Однако после смерти животного или растения распадающиеся атомы С14 уже не восполняются новыми, приходящими извне, поэтому количество углерода–14 в умершем существе со временем становится все меньше и меньше. Другими слова ми, пропорция С14/С12 уменьшается. Можно сказать, что в момент смерти начинают тикать часы (рисунки 2а и 26).

Совершенно очевидно, что это относится только к вещам, ранее содержащим углерод. Этот метод нельзя использовать для датирования, например, пород и минералов. Поскольку известна скорость распада углерода–14, становится возможным измерить, сколько времени прошло после смерти животного или растения.
Главное допущение метода

Рисунок 26
Но подождите: откуда нам известно, какой была изначальная пропорция С14/С12? Совершенно очевидно, что нам необходимо знать, с какой точки часы начали ход. Мы видели, что в момент смерти индивида пропорция в нем та же, что и в атмосфере, но откуда нам известно, какой она была? Предполагают ли ученые, что в прошлом она была такой же, как сейчас? Не совсем. Например, хорошо известно, что промышленная революция, когда начали сжигать огромные массы угля и т.п., нарушила естественное соотношение углерода из–за выделения в атмосферу очень большого количества углерода–12. Какой была пропорция С14/С12 до промышленной революции, можно определить по годичным кольцам деревьев, и при радиоуглеродном датировании это учитывается. А как узнать, какой была пропорция еще раньше, скажем, тысячи лет назад? Предполагается, что пропорция оставалась неизменной в течение очень долгого времени до промышленной революции. Является ли это допущение справедливым (ведь на нем полностью держится система)? Почему У. Ф. Либби, блестящий первооткрыватель этого метода, сделал такое допущение? Известно, что углерод–14 постоянно входит в атмосферу (и, следовательно, в углеродный цикл) и что он постоянно выходит из системы благодаря распаду в N14. Чем больше радиоактивного вещества, тем больше распада, т. е. чем больше входит в систему, тем больше из нее выходит.

Чтобы это понять, воспользуемся примером бочки с водой, представляющей собой систему с рядами отверстий по бокам (рисунок 3). Откроем расположенный сверху кран, играющий роль источника образования углерода–14, равномерно входящего в систему с постоянной скоростью (а). Вначале воды будет входить больше, чем выходить, что позволит уровню воды (С14) повышаться. Однако, чем больше будет уровень воды, тем больше ее будет выходить, пока количество входящей и выходящей (б) воды не выровняется. Таким образом, после открытия крана уровень углерода–14 будет повышаться, сначала быстро, затем постепенно медленнее, и в конце концов достигнет устойчивого состояния (№ 3 на диаграмме). Либби вместе с почти всеми учеными своего времени допустил, что устойчивое состояние достигнуто очень давно и что углерод–14 входит в систему и выходит из нее с постоянной скоростью. Почему? А потому что расчеты показывают, что для достижения такого состояния требуется всего 30.000 лет с момента открытия крана (с начала бомбардировки атмосферы космическим излучением), а геологи и другие ученые давно убедили большинство людей, что возраст Земли, конечно же, гораздо больше. Другими словами, раз Земля настолько стара, углерод–14 находится в устойчивом состоянии уже много миллионов лет.