Строим печи и камины, стр. 24
Клеи
Все клеи, используемые при облицовочных работах, синтетические, промышленного производства; они продаются в готовом виде.
Заполнители для швов
Для заделки швов можно использовать как растворы, так и мастики. Что касается готовых изделий, то производители стройматериалов предлагают для этой цели специальную затирку для швов.
Разметка и провешивание вертикальной поверхности
После тщательной подготовки поверхности, предназначенной под облицовку, производится ее разметка и провешивание (определение и закрепление прямых горизонтальных и вертикальных линий).
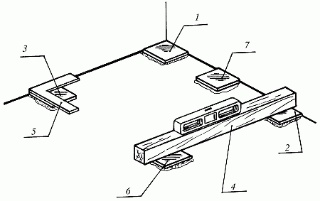
Для вертикального провешивания на верхнем уровне облицовки на расстоянии 30–40 см от угла примыкающей стены вбиваем гвоздь 1, шляпка которого должна выступать над поверхностью на толщину облицовки (7–15 мм – толщина плитки плюс толщина подстилающего слоя). К шляпке привязываем отвес и по нему определяем толщину облицовки внизу, где на расстоянии 20–25 см от пола вбиваем гвоздь 2, шляпка которого должна касаться отвеса. Затем между этими гвоздями натягиваем шнур.
Аналогичную операцию проводим на другой стороне стены. Точку для верх него гвоздя 3 определяем с помощью гибкого уровня, использующего закон сообщающихся сосудов (рис. 39). Нулевое деление (уровень воды) одной из визирных трубок уровня совмещаем с гвоздем 1, тогда нулевая отметка (уровень воды) другой визирной трубки покажет место для гвоздя 3. Эту операцию удобнее производить вдвоем. С помощью отвеса, привязанного на гвоздь 3, находим точку для установки гвоздя 4 (аналогично гвоздю 2). Между гвоздями 3 и 4 также натянем причальный шнур.

Рис. 39. Провешивание стен и установка маяков: 1–4 – гвозди; 5 – отвес; 6 – гибкий уровень; 7 – маячные плитки; 8 – шнур-причалка; 9 – угольник
Вертикальность будущих рядов определена. Причальные шнуры, натянутые между гвоздями 1–2 и 3–4, позволят вам контролировать прямолинейность вертикальных стыков при укладке плиток.
Для провески по горизонтали по углам на уровне нижнего ряда также с помощью гибкого уровня устанавливаем маячные плитки. По верхнему краю маячных плиток натягиваем шнур-причалку – он позволит в ходе облицовки контролировать прямолинейность горизонтальных стыков. Маячные плитки после завершения облицовки вырубим и заменим плитками на растворе.
Перпендикулярность между вертикальной провеской и шнуром-причалкой проверяем при помощи угольника.
Разметка горизонтальной поверхности
Для начала проверим горизонтальность поверхности, используя строительный уровень и двухметровую рейку. Отклонение поверхности от горизонтали не должно превышать 50 мм. Если отклонение больше предела, то на полу укладываем подушку из цементно-песчаного раствора, которая устранит наклон пола. После затвердения растворной подушки, приблизительно через сутки, можно приступать к дальнейшей разметке горизонтальной поверхности.
Теперь следует закрепить отметки уровня укладываемого пола по периметру стен: строительный уровень устанавливаем на рейку, добиваемся положения воздушного пузырька на нулевом уровне и на каждой стене проводим черту. Для постоянного контроля за горизонтальностью укладываемого пола в углах помещения на гипсовом растворе устанавливаем маячные плитки, выверив перпендикулярность двух смежных рядов по угольнику; если облицовываемая поверхность имеет большую площадь, то для удобства между угловыми маяками установим промежуточные (рис. 40).

Рис. 40. Разметка горизонтальной поверхности и установка маяков: 1–3 – угловые маячные плитки; 4 – деревянная рейка; 5 – угольник; 6–7 – промежуточные маячные плитки
По краям маячных плиток натянем шнур-причалку. Маячные плитки по окончании настилки всего пола удалим и заменим плитками на растворе.
После разметки и установки маячных плиток поверхность пола обильно смачиваем водой и оставляем на 5–6 часов (к началу облицовочных работ полы должны остаться влажными, но без видимых скоплений воды). Эту операцию производим только в том случае, если укладка плиток осуществляется на цементно-песчаном растворе.
При укладке плиток на мастике или клее поверхность должна быть абсолютно сухой.
Подготовка облицовочных плиток
Подготовку плиток одного размера начнем с сортировки по тону и качеству: отличающиеся по тону будем укладывать в нижние ряды, а дефектные (со сколами, выбоинами, трещинами, дефектами глазурованного слоя) оставим на заготовку неполномерных плиток для укладки в углах. Затем с помощью линейки разметим поверхность под облицовку (не забывая про толщину стыков), просчитаем количество целых плиток и количество и параметры неполномерных плиток для каждого ряда.
Раскрой неполномерных плиток производим плиткорезом или стеклорезом по глазурованной стороне, раскалывая их затем по линии надреза о деревянный брусок. Облицовка видимых поверхностей печи – задача не из легких, но, справившись с ней, вы сможете получить отличный результат. Учитывая возможности дизайнерских решений, мы дадим несколько рекомендаций по облицовке плиткой в частности и плиточным работам в целом.
Для облицовки пригодны термостойкие плитки, покрытые глазурью. Наиболее прочными из них считаются рифленые плитки из каолиновых глин. Также хорошо использовать декоративные профилированные плитки. Помимо обычных растворов, для крепления плитки применяются разнообразные термостойкие мастики, которые появились в последнее время.
Можно также вести облицовку печи на растворе со следующим составом: 1,5 ведра песка, 0,5 ведра глины, 0,5 ведра цемента, 1,5 л клея «Латекс» или «Бустилат», около 1/4 ведра измельченного асбеста.
Сам процесс облицовки печи несколько отличается от традиционной укладки плитки на стену. Дело в том, что глиняный раствор не может надежно прикрепить плитку к постоянно нагревающейся стенке печи, поэтому для облицовки приходится применять некоторые дополнительные приспособления.
Способ первый. В кирпичной кладке просверливают отверстия для гвоздей или шурупов с большими шляпками. Каждый гвоздь прижимает углы четырех плиток. Чтобы гвозди не выступали над облицовочной поверхностью, на углах плитки делают фаски. Гвозди и плитку закрепляют глиняным раствором.
Способ второй. В процессе кладки в вертикальные швы замуровывают алюминиевые полоски с отверстиями, которые служат крепежными приспособлениями для плитки. По окончании кладки к ним болтами прикручивают тавровый алюминиевый профиль и металлические уголки, на которых и будет держаться плитка. Ее кладут, начиная снизу, заполняя пространство между плиткой и поверхностью стены глиняным раствором с щебнем.