Пьезоэлектричество, стр. 9
По мере развития техники пьезоэлектрическую пластинку стали использовать и для новых целей. Об одной из них рассказывается ниже.
9. О необыкновенном манометре
Соприкасающиеся тела давят друг на друга с некоторой силой. Чернильница давит на стол; вода, налитая в сосуд, давит на его стенки; пар оказывает давление на поршень паровой машины.
Сила, воздействующая на соприкасающиеся тела, распределяется по поверхности их соприкосновения. Известно, что лыжник пройдёт по самому рыхлому снегу, а пешеход, весящий столько же, сколько и лыжник, увязнет в снегу по колено. Это происходит потому, что в первом случае сила тяжести распределяется по значительно большей площади, чем во втором.
Сила, которая действует на каждую единицу площади соприкосновения тел, называется давлением. Давление обычно выражается в килограммах на квадратный сантиметр (кг/см2).
Одна и та же сила, будучи приложена к различным площадям, производит разное давление. И наоборот, разные силы при определённых условиях вызывают одинаковые давления. Так, например, граммофонная игла давит на пластинку почти так же, как колесо паровоза на рельс. В обоих случаях давление равно примерно 1000 кг/см2. Это может показаться невероятным: ведь вес паровоза исчисляется десятками тонн, тогда как мембрана граммофона весит немногим больше ста граммов. Однако ошибки здесь нет: в первом случае вес распределяется по значительной площади, а во втором — сосредоточивается на острие иглы.
Очень часто возникает необходимость в измерении давлений. Машинист паровоза должен знать, каково давление пара в котле. Если оно слишком мало — поезд остановится, если слишком велико — может произойти взрыв котла. Метеоролог, не зная атмосферного давления, не сможет составить прогноз погоды. Врачу для определения болезни нередко требуется определить давление крови в кровеносных сосудах больного.
Измерение давлений производится с помощью специальных приборов, которые называются манометрами.
Простейший манометр представляет собой изогнутую стеклянную трубку, наполненную водой, ртутью или какой-либо иной жидкостью (рис. 25).

Рис. 25. Простейший жидкостный манометр.
Одно из колен трубки соединяется с сосудом, где нужно измерить давление (например, с котлом), другой остаётся свободным. На свободный конец трубки давит столб атмосферного воздуха. Если давление внутри сосуда равно атмосферному давлению, то они взаимно уравновешиваются, и жидкость в обоих коленах находится на одном уровне.
Если же давление в сосуде становится больше атмосферного, то жидкость в свободном колене начинает подниматься, а в колене, присоединённом к сосуду, — опушаться. Это происходит до тех пор, пока вес избытка жидкости в свободном колене не уравновесит разность давлений.
Величину давления в сосуде определяют по разности уровней жидкости в коленах трубки. Если трубка наполнена водой, то каждый сантиметр разности уровней означает давление в 1 грамм на квадратный сантиметр. Разность уровней в 10 см показывает, что давление внутри сосуда на 10 г/см2 больше атмосферного.
Очень распространён также манометр, состоящий из изогнутой металлической трубки и рычажного механизма со стрелкой. Один из концов трубки запаян, а другой соединён с сосудом, в котором измеряется давление. При повышении давления в сосуде трубка манометра распрямляется и приводит во вращение стрелку. Чем больше давление, тем сильнее отклоняется стрелка.
Описанные приборы не лишены недостатков. С помощью жидкостного манометра можно измерять лишь сравнительно небольшие давления. При быстрых отклонениях давления он не успевает отмечать происшедшие изменения, что влечёт за собой ошибки.
Механический манометр тоже недостаточно совершенен. Он имеет низкую чувствительность и мало пригоден для измерения слабых давлений. Непригоден он и для измерения очень больших давлений, например, в цилиндре двигателя (из-за недостаточной прочности металлической трубки). Таким прибором также невозможно измерять резкие изменения давлений, происходящие в сотые и тысячные доли секунды.
Упомянутые недостатки заставили учёных заняться поисками новой, более совершенной системы манометра, способной измерять и очень слабые и очень большие давления, а также регистрировать процессы, которые происходят в кратчайшие периоды времени.
Было разработано несколько типов манометров, отвечающих современным техническим требованиям и среди них — пьезоэлектрический манометр.
Мы уже знаем, что под воздействием давления на гранях пьезоэлектрической пластинки возбуждаются электрические заряды, величина которых пропорциональна давлению. Во сколько раз увеличивается давление, во столько раз возрастает и количество электричества на гранях пластинки. А эту величину можно измерить с помощью специальных электрических приборов.
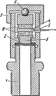
Рассмотрим устройство пьезоэлектрического манометра, применяющегося при испытании паровых машин (рис. 26).

Рис. 26. Устройство пьезоэлектрического манометра для испытания паровых машин.
Переходная трубка 1 соединяет манометр с цилиндром паровой машины. Давление пара воздействует на мембрану 2 и через специальную шайбу 3 передаётся на две кварцевые пластинки 8, собранные так, что одноимённые заряды на их гранях складываются. Отрицательные заряды возбуждаются на электроде 4, а положительные — на корпусе манометра. Электрод 4 и корпус манометра соединяются проводниками с электрическим прибором, служащим для измерения величины зарядов, а следовательно, и давления. Чтобы обеспечить равномерное давление на пластинки, применяется стальной шарик 6. Величину начального давления устанавливают при завинчивании крышки 7.
Благодаря высокой упругости кварца пластинки под давлением сжимаются незначительно. Поэтому мембрана 2 почти не перемещается, и манометр мгновенно отмечает малейшее изменение давления.
Пьезоэлектрические манометры пригодны для измерения очень малых давлений, так как даже самое ничтожное количество электричества на электродах пластинок может быть усилено посредством специальных устройств — усилителей, как это делается, например, в радиоприёмниках. Но такими манометрами можно измерять и огромные давления, так как прочность кварца велика.
К числу достоинств пьезоэлектрических манометров относится также возможность измерения давлений на расстоянии. При этом непосредственно на исследуемом объекте устанавливается только сам манометр. Усилительное же устройство и измерительные приборы могут удаляться на значительное расстояние, поскольку связь между ними и манометром осуществляется по проводам. В обычных механических манометрах такая связь требует сложного передаточного устройства с рычажным механизмом или особого трубопровода.
Пьезоэлектрические манометры применяются в ряде отраслей народного хозяйства нашей страны. На железнодорожном транспорте с их помощью исследуется давление, которое оказывает на рельсы проходящий поезд. В станкостроении определяются давления и усилия, возникающие при работе станков.
В метеорологии начинают находить применение пьезоэлектрические барометры — приборы для измерения атмосферного давления.
Были разработаны и пьезоэлектрические методы измерения кровяного давления, а также давления соков в стеблях и стволах растений.
10. Как пьезоэлектрическая пластинка измеряет ускорение
Представьте себе следующий довольно обычный случай из повседневной жизни.
…По улице движется трамвай. Внезапно вожатый замечает на линии зазевавшегося пешехода; он быстро выключает ток и поворачивает рукоятку тормоза. Движение трамвая мгновенно замедляется: пробежав несколько метров, он останавливается. В этот момент пассажиры ощущают резкий толчок вперёд, по ходу вагона.