Как проектировать электронные схемы, стр. 9
Два ввода постоянно используются при работе, а третий (R/W), служащий при необходимости для считывания содержимого внутренней памяти, может быть заземлен через резистор.
Наиболее распространенные управляющие программы описаны в главе 5. Пока же достаточно отметить, что индикатором можно управлять с помощью четырех битов вместо восьми. В этом случае, как ни странно, многие модели со строкой из 16 знаков начинают функционировать как двустрочные индикаторы, содержащие по восемь знаков на строку. Иначе говоря, после отправления восьмого знака необходимо выдать команду перехода на другую строку, чтобы получить возможность написать девятый знак.
Индикаторные модули позволяют регулировать контрастность изображения с помощью внешнего переменного резистора. Такое устройство необходимо, поскольку подключение соответствующего контакта к фиксированному напряжению (Vss или Vcc) не позволяет получить оптимальную контрастность. При подборе яркости фоновой подсветки, которую дают размещенные за индикатором светодиоды, лучше определить величину ограничивающего резистора экспериментальным путем, не полагаясь на инструкции производителя.
Подсветка потребляет много энергии, поэтому желательно выбрать максимально допустимую величину резистора, обеспечивающую достаточное освещение при любых условиях.
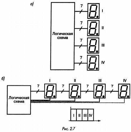
Мультиплексирование многоразрядного индикатора Как правило, семисегментным индикатором управляют посредством специализированной микросхемы декодирования (например, CD4511), включающей в себя четырехбитный дешифратор, защелку и несколько буферных каскадов для запуска каждого светодиода.
Если для индикации необходимо использовать ряд цифр, задача существенно усложняется, ведь при этом нужны схемы декодирования для всех цифр, а каждой из этих схем должна также управлять довольно сложная логическая схема (рис. 2.7а).
В таком случае рисунок печатной платы принимает вид головоломки, поскольку индикатор может иметь самое различное размещение компонентов. Кроме того, резко увеличивается общий расход тока, поскольку токи, потребляемые каждым освещенным сегментом, суммируются.

Другой подход состоит в мультиплексировании индикации, когда нужные цифры отображаются одна за другой с частотой, при которой создается впечатление, что все они светятся постоянно.
Если частота повторения слишком высока, яркость свечения снижается, при слишком низкой частоте появляется заметное мелькание. Подобная техника существенным образом упрощает электрические соединения и сокращает общее потребление энергии, поскольку в каждый момент времени горит только один индикатор.
На схеме, показанной на рис. 2.7б, осуществляется поочередное подключение общего электрода каждого из индикаторов (анода или катода). Когда некоторые сегменты активированы, загорается только тот индикатор, общий электрод которого также активирован, а остальные индикаторы погашены. Сначала управляющий сигнал поступает на общий электрод светодиодов первого индикатора, активируя его на определенный промежуток времени. По истечении этого интервала сигнал получает следующий индикатор и т. д. При этом необходимо точно соблюдать последовательность подачи управляющих сигналов на общий электрод и на соответствующие сегменты, что успешно выполняется некоторыми специализированными интегральными схемами (например, ICL7107). Вместо этого можно использовать микроконтроллер с соответствующим программным обеспечением.
Температурный дрейф подстроенных резисторов
У всех резисторов, в особенности у подстроенных, номиналы могут изменяться в зависимости от температуры. Необходимо учитывать это явление как при разработке, так и при изготовлении схемы. По обе стороны от подстроенного резистора следует поместить постоянные резисторы (рис. 2.8), а также расположить подстроенный резистор как можно дальше от всех источников тепла.
Желательно удалить на максимальное расстояние охлаждающие радиаторы, стабилизаторы, мощные резисторы и трансформаторы. Дополнительные резисторы позволяют свести диапазон регулировки сопротивления к минимуму Кстати, к этой мере рекомендуется прибегать всегда, даже когда нет опасности перегрева. Как правило, после тестирования схемы необходимо уточнить рассчитанные параметры.

ТРИГГЕРЫ И СЧЕТЧИКИ
Триггеры (логические элементы с двумя устойчивыми состояниями, подобные выключателю) могут быть выполнены как в ТТЛ (7413, 7414 и т. д.), так и в КМОП (CD4013) базисе. В одном корпусе содержится как минимум два триггера. При их монтаже необходимо соединить между собой некоторые выводы, что усложняет рисунок печатной платы. Вместо этих компонентов можно взять любой двоичный счетчик (рис. 2.9) и использовать в качестве выходного сигнала состояние бита с наименьшим весом (Q0 или Q1, в зависимости от изготовителя). Начальное состояние триггера можно выставить, подавая сигнал сброса на соответствующий вход счетчика.
Для решения рассмотренной задачи могут использоваться различные типы счетчиков, например CD4020, CD4040 или CD4060. В зависимости от модели можно выбрать запуск по переднему или заднему фронту. Для уточнения этого вопроса следует обратиться к технической документации.

БУФЕРНЫЙ УСИЛИТЕЛЬ
Микросхема CD4050 содержит шесть буферных усилителей, функция которых состоит в повышении мощности слабых сигналов до той величины, что необходима для управления компонентами с высоким потреблением тока (например, светодиодами). Ряд усилителей можно без всяких проблем соединить параллельно — для того чтобы увеличить выходной ток или не оставлять свободными входы одного или нескольких усилителей. Такая схема часто используется для управления мощными МОП транзисторами или источниками звуковых сигналов (рис. 2.10).
Аналогичным образом можно включать инверторы (микросхема CD4049). У этих микросхем есть одна особенность: их положительный вывод питания (Vcc) обозначен номером 1 (у большинства микросхем это номер 16).

ПОДАЧА ЗВУКОВЫХ СИГНАЛОВ
Существует много различных зуммеров, или звуковых преобразователей. Эти устройства можно разделить на два семейства: простые зуммеры и зуммеры со встроенным генератором. Последние использовать проще, поскольку, чтобы они зазвучали, им достаточно обеспечить питание. Зуммеры со встроенным генератором потребляют мало энергии при очень широком диапазоне напряжений питания, но их цена довольно высока. Для работы простого зуммера нужен внешний генератор, но часто вместо него можно использовать источник сигнала, уже имеющийся в схеме. Таким источником может быть, например, неиспользуемый (или используемый) выход счетчика или тактового генератора.
Когда для управления применяется микроконтроллер, нетрудно создать генератор, введя в программу логический цикл. В этом случае легко управлять частотой сигнала и появляется возможность регулировать тональность звучания.
С точки зрения схемотехники зуммер можно считать емкостной нагрузкой, поэтому во многих случаях параллельно ему следует подключить резистор (рис. 2.11).
ДАТЧИК ОСВЕЩЕННОСТИ
Классические полупроводниковые датчики освещенности, например фотодиоды и фототранзисторы, представляют собой диоды и транзисторы, у которых одна сторона корпуса пропускает свет. Чтобы в этом убедиться, попробуйте аккуратно спилить верхнюю часть металлического корпуса транзистора, например типа 2N2222 или 2N1711. Затем подключите к нему напряжение, не присоединяя базу, и вы сможете констатировать, что протекающий по цепи коллектор-эмиттер ток реагирует на источник света, направленный на прибор (рис. 2.12). Аналогичный эксперимент можно провести и со светодиодом.