107-мм горно-вьючный полковой миномет обр. 1938 г. (107 ГВПМ-38) Руководство службы., стр. 8
5. Выбить штифт 54.
6. Снять рукоятку 5З.
7. Протолкнуть малую коническую шестерню 52 в коробку корпуса подъемного механизма и вынуть шестерню.
8. Снять кольцо 55.
9. Вывернуть винт подъемного механизма 60 из матки 56.
10. Отвернуть крышку кожуха 62.
11. Вывернуть упорную гайку 59.
Сборка
1. Вставить изнутри коробки корпуса подъемного механизма малую коническую шестерню 52, предварительно надев на ее ось (патрубок) кольцо 55.
2. Поставить в коробку корпуса подъемного механизма опорную втулку 65.
3. Поставить на опорную втулку 65 шарикоподшипник 51.
4. Надеть на вышедший наружу конец оси малой конической шестерни рукоятку 5З и закрепить ее на оси штифтом 54.
5. Навернуть матку 56 на винт подъемного механизма 60.
6. Вставить винт подъемного механизма 60 вместе с маткой 56 в корпус подъемного механизма 50 так, чтобы направляющий цилиндр Ц вошел в кожух, и матка своими заплечиками ровно села на шарикоподшипник 51, а зубчатый венец матки сцепился с зубьями малой конической шестерки.
7. Ввернуть в крышку 57 упорную гайку 59.
8. Завернуть крышку 57 с гайкой 59 на коробку корпуса подъемного механизма. Довернуть гайку 59 так, чтобы она плотно прилегала к верхнему торцу матки (благодаря чему будет устранено вертикальное перемещение последней) и чтобы вращение матки в то же время не было тугим.
9. Поставить стопорный винт 58.
10. Навернуть на нижний конец кожуха крышку 62.
11. Закрепить крышку 62.
Разборка и сборка рукоятки (рис. 21).
Разборка
1. Выбить штифт 3.
2. Выбить ось 2.
3. Выбить штифт 10.
4. Снять корпус ручки 8.
5. Вывернуть гайку 9.
6. Снять стакан 7.
7. Свернуть внутренний стаканчик 4 из проушины 6.
8. Снять пружину 5 со стержня рукоятки 1.
Сборка
1. Надеть пружину 5 на стержень рукоятки 1.
2. Надеть внутренний стаканчик 4 на стержень рукоятки 1 и на пружину 5.
3. Ввернуть внутренний стаканчик в проушину 6.
4. Надеть стакан 7 и навернуть гайку 9 на верхний конец стержня рукоятки 1.
5. Надеть на стакан 7 корпус ручки 8 и поставить штифт 10.
6. Соединить проушину 6 с рукояткой при помощи оси 2.
7. Закрепить ось 2 штифтом 3.
Инструмент для разборки и сборка подъемного механизма (рис. 66): пробойник 15, отвертка 14, слесарные крючки (изготовляются средствами части), ключ сб. 5, ключ разводной.
Механизм горизонтирования назначается для приведения угломерного стола прицела в горизонтальное положение. 107-мм горно-вьючный полковой миномет обр. 19З8 г. имеет два образца механизмов горизонтирования: первый образец производства 1938 и 1939 гг., второй образец — производства 1940 г. Ниже рассматриваются оба образца.
Механизм горизонтирования второго образца
Механизм горизонтирования второго образца состоит из механизма грубого горизонтирования, который иначе называется зажимом — ЗЖ. и механизма точного горизонтирования — Т (рис. 19).
Механизм грубого горизонтирования располагается на правой ноге (рис. 22).
Собранный механизм грубого горизонтирования при отвернутой зажимной втулке имеет возможность свободно скользить по правой ноге; он состоит (рис. 22) из зажимной втулки 40, конусной гайки 41, навернутой на втулку 40, разрезных вкладышей 42 и стопорного винта 43, который ограничивает возможность свинчивания конусной гайки 41 с втулки 40. Таким образом, винт 43 ограничивает поступательное движение конусной гайки 41 по отношению к зажимной втулке 40 так, чтобы первая не могла полостью сойти с резьбы во время отжатия механизма на ноге.

Рис. 22. Зажим механизма грубого горизонтирования 2-го образца (сб. 2–5):
40 — втулка зажимная (2-19); 41 — гайка конусная (2-11); 42 — разрезные вкладыши (2-18); 43 — винт (2-65); 44 — ручка (2-12); 46 — палец (2-13); 47 — пружина (2-15); О — проушина.
Кроме этого, конусная гайка 41 имеет ручку 44, которая может вращаться на пальце 46, примерно, на 90°. Ручка служит рычагом для поджатия и отжатия механизма установки на правой ноге. В рабочем положении ручка 44 удерживается пластинчатой пружиной 47, привернутой винтами к торцу конусной гайки 41. Зажимная втулка 40 имеет проушину О, которая служит для шарнирного соединения ее при помощи оси 71, с точным механизмом горизонтирования (рис. 19). Другим концом механизм Т соединен осью 73 с проушиной кожуха корпуса подъемного механизма 50. В свою очередь точный механизм горизонтирования (рис. 23) состоит из винта 76, соединенного наглухо заклепкой 3 с ушком 74 корпуса 77, который внутри имеет такую же резьбу, как и резьба винта 76. Корпус 77 одним концом укреплен на ушке 78, при помощи втулок 79 и 80, причем втулка 79 застопорена винтом на ушке 78, а втулка 80 застопорена на корпусе 77. Втулка 79 имеет возможность вращаться во втулке 80, что в свою очередь обеспечивает вращательное движение корпусу 77 по отношению к винту 76. Следовательно, при вращении корпуса 77 винт 76 будет ввертываться в корпус 77 или вывертываться из него, чем и достигается точное горизонтирование.

Рис. 23. Механизм точного горизонтирования:
74 — ушко (проушина) (2-43); 76 — винт (2-45); 77 — корпус (2-46); 78 — ушко; 79 — втулка; 80 — втулка; 3 — заклепка (2-47).
Механизм горизонтировання первого образца
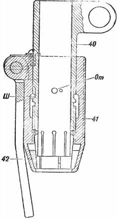
Механизм горизонтирования первого образца отличается от механизма горизонтирования второго образца лишь механизмом грубого горизонтирования, или горизонтирования зажимом ЗЖ. В первом образце вместо стопорного винта 43 в зазор между конусной гайкой 41 и зажимной втулкой 40 вставлен шарик Ш, который и ограничивает возможность свинчивания конусной гайки с зажимной втулкой. В этом случае шарик Ш вставляется изнутри, через отверстие От в зажимной втулке. В остальном устройство механизма грубого и точного горизонтирования первого образца ничем не отличается от механизма горизонтирования второго образца.

Рис. 24. Механизм грубого горизонтирования 1-го образца:
40 — втулка зажимная (2-19); 41 — конусная гайка (2-11); 42 — разрезные вкладыши (2-18); От — отверстие для установки (при сборке) шарика Ш; Ш — шарик (2-20).
(рис. 19, 22 и 23)
При перемещении вдоль ноги зажимной втулки (или зажима) после отжатия конусной гайки кожух подъемного механизма вращается вокруг пальца. Вместе с тем перемещается в поперечной плоскости и вертлюг.
Это перемещение позволит подвести пузырек уровня вертлюга, примерно, на середину, чем и будет осуществлено грубое горизонтирование. Для точной установки уровня необходимо зажать конусную гайку и действовать механизмом точного горизонтирования, то есть вращать корпус 77 до тех пор, пока пузырек уровня не установится на середине, этим будет характеризоваться окончательное горизонтирование системы.