107-мм горно-вьючный полковой миномет обр. 1938 г. (107 ГВПМ-38) Руководство службы., стр. 23

Рис. 65. Валек (нормализованный):
1 — средняя обойма; 2 — древко валька; 4 — крюк; 5 — обойма крайняя; 6 — кольцо; 7 — ремень.
Древко валька 2 изготовляется из молодого дуба. Средним кольцом валек надевается на вальковый крюк.
На концах валька укреплены крайние обоймы 5 с крюками 4.
Обоймы допускают применение постромок, имеющих на концах кольца или петли. Постромки, имеющие на концах кольца, закладываются последними в крюки обойм и удерживаются кольцами 6; постромки, имеющие на концах петли, закладываются петлями между выступами обоймы и удерживаются ремнем 7.
Глава VIII
ТРАНСПОРТИРОВКА МИНОМЕТА НА АВТОМАШИНЕ
Для транспортировки миномета применяется грузовая машина ГАЗ-ЗА с специальным оборудованием кузова для погрузки в него колесного хода с минометом и 24 окончательно снаряженными минами в ящиках парковой укупорки. Кроме того, в кузов машины садится минометный расчет. Этот вид транспортировки обеспечивает скорость передвижения до 40 км в час (рис. 5).
Кузов автомашины ГАЗ-3А (рис. 5) состоит из следующих частей:
а) рам (правой и левой) и сидений для минометного расчета;
б) кронштейна, прикрепленного к переднему борту кузова автомашины;
в) двух колодок, прикрепленных болтами к настилу кузова автомашины, для установки в них колесного хода.
г) двух стяжек с болтами и с звеньями и
д) двух накатов, уложенных в гнезда по бортам кузова автомашины.
Все эти части смонтированы в обычном кузове автомашины ГАЗ-3А. Правая и левая рамы представляют собой сварные конструкции из угольников с приваренными поручнями (передними 2 и задними 3).
Рамы связаны между собою угольниками, приваренными к кронштейну, и прикреплены к пастилу автомашины болтами. Кронштейн 1 на конце своего вылета имеет два упора, приваренные к планкам, и сзади них упорную планку, в которую вставляется крюк с винтом. В гнезда упоров вдвигается хоботовая часть хода с минометом, поднятого по накатам в кузов автомашины, и крюком за шворневую лапу колесного хода подтягивается к упорам винтом крюка. Колодки, прикрепленные к настилу кузова автомашины, служат для упора колес хода миномета. Стяжка прижимает колеса хода к колодкам, не давая тем самым ходу с минометом подпрыгивать при толчках во время транспортировки. Накаты устанавливают на заднюю часть настила автомашины, на специально устроенные крепления, и по ним накатывают на автомашины колесный ход с минометом. В походном положении накаты вкладываются в гнезда, под сиденья по бортам автомашины.
Между правой и левой рамами, на настил кузова автомашины, укладываются рядами парковые ящики с боеприпасами. Первый ряд ящиков закрепляется угольником при помощи барашков, навинчиваемых на болты, свободно качающиеся в скобах, которые прикреплены к настилу кузова автомашины.
Последний ряд закрепляется таким же угольником при помощи барашков, навинчиваемых на болты, свободно качающиеся в скобах, приваренных к корпусу рам. Установка миномета с колесным ходом на автомашину производится после укладки и закрепления парковых ящиков с боеприпасами.
После установки на автомашину миномет сверху покрывается штатным брезентовым чехлом.
Глава IX
ЗИП
(рис. 66)
Для войскового ремонта и эксплоатации миномет снабжается комплектом запасных частей, специальным инструментом и принадлежностью.
Орудийный комплект ЗИП
В орудийный комплект ЗИП входит следующее:
а) запасные части, положенные целыми единицами на одну систему и используемые на огневой позиции непосредственно наводчиком, командиром орудия или батарейным мастером;
б) специальный инструмент и принадлежность, положенные целыми единицами на одну систему (необходимые во всех условиях ее службы).
Орудийный комплект ЗИП размещается в вьючном ящике, который перевозится на колесном ходе каждого миномета; шанцевый инструмент, тормоз, банник, вехи и т. п. укладываются отдельно как при движении на колесах, так и при движении на вьюках.
Полковой комплект ЗИП
В полковой (военного времени) комплект ЗИП входит следующее:
а) запасные части, положенные в полковой запас военного времени (используемые в мастерской части в военное время);
б) принадлежность для ремонта, производимого в мастерской части;
в) специальный инструмент для ремонта в мастерской части.
Расходный комплект ЗИП (мирного времени)
В полковой расходный комплект ЗИП мирного времени входят:
а) запасные части для обеспечения ремонта в мастерской части и для пополнения орудийных комплектов;
б) принадлежность и специальный инструмент для ремонта в мастерской части.

Рис. 66. Инструмент и принадлежность:
1 — ключ (сб. 2) к дет. 1-27; 4 — ключ (сб. 1) к дет. 1-88 и 1-31; 9 — ключ к дет. 1-19 и 1-30; 10 — ключ к дет. 3–1, 3–5, 3-20, 3-57 и 4-61; 11 — ключ к дет. 3–2, 3-49 и 3-59; 12 — ключ и дет. 4–3 и 4-90; 13 — ключ (сб. 5) к дет. 2-36, 2-37 и 4-86; 14 — отвертка; 15 — пробойник; 20 — ключ (сб. 6) к дет. 01–28; 23 — ключ для вьюков; 24 — жестянка на 0,4 кг густой смазки; 25 — масленка; 26 — жестянка на 0,4 кг жидкой смазки; 27 — сумка для инструмента; 33 — экстрактор; 34 — динамоэлектрический фонарь; 35 — ломик; 37 — вкладная доска в сумку для инструмента.
Израсходованный орудийный ЗИП немедленно пополняется из расходного полкового запаса.
При израсходовании предметов из полкового расходного запаса немедленно доносить начальнику артснабжения округа (в дивизиях через начальника артснабжения дивизии). Нормы ЗИП указаны в приложениях 3 и 4. Ниже дается описание некоторых изделий ЗИП.
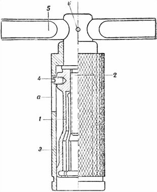
Экстрактор (рис. 67) предназначается для извлечения из трубки стабилизатора патрона основного заряда при замене его (в случае осечки).
Экстрактор состоит из захвата 1, в который ввинчен ходовой винт 2. В таком виде захват с винтом вставлен в кожух 3, в котором через долевую прорезь а в захват 1 ввернут винт 4. Винт 4 имеет назначение удерживать захват 1 от проворачивания при вращении ходового винта 2.
При вращении стержня ходового винта (против хода часовой стрелки) захват будет выходить из кожуха, разжимаясь (он имеет четыре долевые прорези). Своими лапками захват обхватит шляпку гильзы хвостового патрона. При вращении ходового винта в обратную сторону (при захвате, прижатом в торец трубки стабилизатора) захват своими лапками зацепится за закраины шляпки гильзы и будет увлекать ее (а вместе с ней и весь патрон) внутрь кожуха. Это и позволит разрядить стабилизатор.

Рис. 67. Экстрактор (сб. 4):
1 — захват (4–5); 2 — винт ходовой (4–2); 3 — кожух (4–1); 4 — винт (4–6); 5 — рукоятка (4–3), 6 — штифт (4–4); а — прорезь.
Разборка и сборка экстрактора
Разборка.
Экстрактор разбирается для устранения неисправностей. Разборку необходимо производить в следующем порядке:
1. Выбить цилиндрический штифт 6.
2. Вынуть рукоятку 5.