107-мм горно-вьючный полковой миномет обр. 1938 г. (107 ГВПМ-38) Руководство службы., стр. 19
Таким образом, средние стенки и связи делят короб на шесть частей (четыре угловых и две средних).
Каждая угловая часть в свою очередь делится тавриками 12 на две части. Таким образом, короб имеет десять гнезд для лотков.
Связи, полозки и угольники с отогнутыми вертикальными краями, а также таврики служат для направления вкладываемых в короб лотков. Кроме того, перечисленные детали отделяют лотки и не дают ударяться лоткам друг о друга при перевозке.
Средние стенки крепятся еще друг с другом средней связью, которая делит среднюю часть короба на два самостоятельных гнезда, закрываемых крышками.

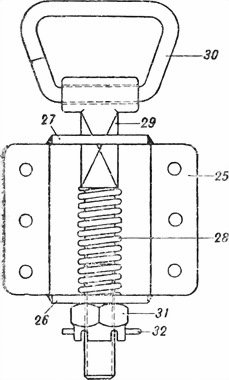
Рис. 54. Державка прижима:
25 — коробка державки (02–31); 26 — дно коробки (02–33); 27 — крышка (02–32); 28 — пружина (02–36); 29 — болт (02–34); 30 — петля (02–35); 31 — гайка (02–37); 32 — шплинт (02–38).
Средняя связь состоит из двух коробок, приваренных друг к другу и прикрепленных к дну; сверху к коробкам приварена петля 16. Петля с обеих сторон при помощи осей шарнирно соединена с крышками 18.
Каждая крышка своими краями шарнирно соединена при помощи оси 19 с накладкой 20. Когда крышка закрыта, в отверстие накладки 20 проходит завертка, приклепанная (с каждой стороны) к боковой стенке короба. Под расклепанный конец завертки подложена шайба. Завертка повертывается вниз и тем предохраняет крышку от закрывания. Для запирания средних гнезд короба в отверстия заверток пропускаются дужки висячих замков.
Под каждым лотком приклепано по два резиновых буфера 23 — всего 20 буферов. Назначение буферов — смягчать при перевозке удары лотков о дно короба.
Для закрепления вложенных лотков в передке имеется прижимы 1 со стяжками 9 (рис. 50).
Для регулирования длины стяжек прижимов к боковым стенкам короба прикрепляются державки Д (рис. 54) прижима следующего устройства:
В коробку 25 с приваренными к ней дном 26 и крышкой 27 вставляются сверху пружина 28 и болт 29 с петлей 30. Болт снизу крепится гайкой 31 и шплинтом 32. На петли 30 закидываются крючки стяжек прижимов.
По мере посадки или износа буферов вынимаются шплинты 32 и подтягиваются гайки 31. Обратно шплинты вставляются в то отверстие, которое совпадает с пазом подтянутой гайки 31.
Пружина 28, упираясь в дно коробки и в головку болта, выжимает болт вверх и не дает ему болтаться во время перевозки хода без вложенных в его короб лотков.
Разборка державки прижима лотков. Вынуть шплинт 32, свинтить гайку 31, вынуть болт 29 и пружину 28.
Сборка державки прижима лотков. Вставить в пробку пружину 28 и болт 29; на хвост болта, навинтить гайку 31 и вставить шплинт 32, концы которого развести.
Крепление короба к раме (рис. 50). Короб прикреплен к раме: по бокам — к боковинам, спереди — к передней связи, сзади — к задней связи, в средине — к двум угольникам. Для крепления топора к раме и коробу сзади приклепаны скоба и две планки с ремнем, имеющим пряжку и шлевку.
Топор вкладываются лезвием под планку, а топорищем в скобу и пристегивается двумя ремнями.
Колеса передка устроены так же, как и колеса хода. На концах осей колеса крепятся так же, как на ходе.
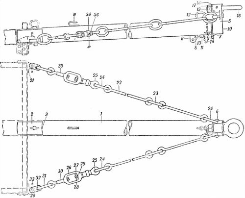
Стрела механической тяги (рис. 55) применяется при движении любой тягой (механической и конной), при этом движение механической тягой может производиться со скоростью не более 10 км.
Основная часть стрелы механической тяги представляет собой трубу 1, в задний конец которой вставляется и приваривается конец 2 с отверстиями для засова, крепящего стрелу в дышловой трубе рамы, и ловитель 3. В передний конец трубы вставляется и приваривается втулка (на рисунке не показана). На торцах втулки имеются два полукруглых гнезда для ловителя кронштейна 5 шворневой лапы.
Снизу к трубе приварены проушина 6 для крепления подстановки и ушко 7 для крепления цепи засова.
Проушина 6 имеет упор 8, который не дает подстановке подгибаться вперед. Сзади, вверху, к трубе приварен крючок 9 для корневой ваги.
В трубе имеются два отверстия: одно, сквозное, для засова, крепящего в трубе кронштейн 5 стрелы или корневую часть дышла; другое, прямоугольное, несквозное, внизу — для захвата подстановки.
Примечание. Труба 1 со всеми приваренными к ней деталями является частью стрелы механической тяги, кроме того, она предназначена для соединения дышла с передком при конной тяге.
Спереди в трубу 1 и втулку вставляется кронштейн 5 с крюками б для растяжек, ловителем и заглушкой 10, предохраняющей внутреннюю часть стрелы от загрязнения.

Рис. 55. Стрела механической тяги:
1 — труба (03-1); 2 — конец (03-2); 3 — ловитель (03-7); 5 — кронштейн шворневой лапы (03–32); 6 — проушина для крепления подстановки (03-5); 7 — ушко для цепи (03-4); 8 — упор (03-6); 9 — крючок (03–33); 10 — заглушка (03–10); 11 — засов (03–27); 12 — ручка засова (03–28); 13 — шплинт пружинный (03–29); 14 — цепь (03–30); 15 — кольцо (03–31); 16 — шворневая лапа (03-8); 17 — гайка (03–25); 18 — шайба (03–24); 19 — штифт (03–26); 20 и 21 — кронштейн; 22 — тяга (03–21); 23 и 24 — звенья (03–23); 25 — передний рым (03–14); 26 — стяжка (03–13); 27 — гайка (03–19); 28 — штифт (03–15); 29 — шайба (03–18); 30 — задний рым (03–12); 31 — звено (03–23); 32 — серьга (03–22); 33 — засов; 34 — стопорная втулка (03–17); 36 — штифт втулки (03–20); д — прорезь стяжки 26; ж — Г-образный паз; б — крюк кронштейна.
Кронштейн крепится засовом 11, пропущенным через отверстия трубы, втулки и кронштейна.
Засов имеет ручку 12 и пружинный шплинт 13, прикрепленный к ручке цепью 14 с кольцами 15.
Кронштейн 5 имеет выступ со сквозным отверстием, в которое вставляется своим хвостом шворневая лапа 16, закрепляющаяся гайкой 17 с подложенной под нее шайбой 18; для предохранения от свинчивания гайка стопорится штифтом 19.
Так как геометрические оси кронштейна и отверстия под шворневую лапу смещены одна относительно другой на 100 мм, то при перестановке кронштейна 5 выступом вверх или вниз шворневая лапа будет ниже или выше оси стрелы на 100 мм, такое смещение дает возможность зацепить передок за тягача, имеющие различные по высоте сцепные устройства.
Для сцепления с кронштейнами 20 и 21 рамы имеется оттяжки.
Каждая оттяжка имеет следующее устройство:
Три тяги 22, скрепленные между собой звеньями 23, такими же звеньями 24 скрепляются спереди с крюком кронштейна 5, а сзади — с передним рымом 25; рым вставляется в стяжку 26 и свободно закрепляется гайкой 27 и штифтом 28; под гайку подкладывается шайба 29; в нарезное отверстие стяжки ввинчивается задний рым 30, соединенный звеном 31 с серьгой 32. Серьга каждой тяги крепится в кронштейнах 20 и 21 рамы при помощи засова 33.
При вращении стяжек 26 в какую-либо сторону длина оттяжек меняется.