История выдающихся открытий и изобретений, стр. 6
Рис. 3.1. Опыт Мюс- хенбрука (со старинной гравюры)
Так была изобретена лейденская банка (по имени г. Лейдена), представлявшая собой простейший конденсатор, который после ряда усовершенствований стал одним из важнейших электротехнических устройств.
Письмо Мюсхенбрука произвело подлинную сенсацию, его опыт стали повторять не только физики, но и многие любители, интересующиеся новыми открытиями. Как это часто бывает, в том же 1745 г. независимо от Мюсхенбрука подобная банка была создана немецким физиком Э. Клейстом. В печати изобретение «банки» «приветствовалось, как великое открытие».
Особую известность приобрел опыт с лейденской банкой, осуществленный «мастером экспериментов» французским физиком аббатом Ж. Нолле в Версале в присутствии короля.
Нолле выстроил цепь из 180 гвардейцев, взявшихся за руки, причем «первый держал в свободной руке лейденскую банку, а последний, прикоснулся к проволоке, извлекая искру… Удар почувствовался всеми в один момент, было курьезно видеть разнообразие жестов и слышать мгновенный вскрик, исторгаемый неожиданностью у большей части почувствовавших удар». Далеко не всем известно, что от этой цепи солдат произошел термин «электрическая цепь». Опыты с лейденской банкой стали повторять физики в разных странах, особенно в Англии, что даже поразило Мюсхенбрука. В своем письме хранителю Физического кабинета в Royal Society В. Уатсону он писал: «Своими великолепнейшими опытами ты поразил всех!» Уатсон первый попытался определить скорость распространения электричества, «заставив» его «пробежать» расстояние в 12 000 футов.

Рис. 3.2. Лейденская банка
В течение последующих десятилетий конструкция лейденской банки усовершенствовалась: вначале воду заменили дробью, а наружная поверхность обкладывалась тонкими свинцовыми пластинами, затем внутреннюю и наружную поверхности стали покрывать листами (оловянной фольгой), и банка приобрела современный вид (рис. 3.2). Исследования физиков привели к выводу о том, что количество электричества, накапливаемого в банке, пропорционально размеру обкладок и обратно пропорционально толщине изоляционного слоя.
В 1782 г. французский ботаник Адансон, посетив Сенегал, впервые сравнил удар электрического угря с ударом лейденской банки.
Петербургский академик Ф.У. Т. Эпинус (1724-1802) впервые отверг утверждение известного американского физика Б. Франклина об особой роли стекла в лейденской банке и впервые создал простейший «воздушный» конденсатор, состоявший из двух металлических пластин, разделенных воздушной прослойкой.

а)

б)
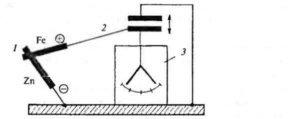
Рис. 3.3. Электроскоп с конденсатором:
а – внешний вид приборов; б – схема конденсаторного электроскопа; 1 – цинковая пластина; 2 – пластины конденсатора; 3 – электрометр
В 1747 г. Б. Франклин сформулировал первую теорию лейденской банки, указав, почему обе обкладки банки «заряжены противоположным электричеством». Выдающийся итальянский физик А. Вольта в 1782 г. соединил конденсатор с электроскопом (рис. 3.3) и показал, что, увеличивая расстояние между пластинами конденсатора, можно уменьшить его емкость (он впервые вводит этот термин), при этом увеличивается напряжение между пластинами, а это вызывает большее расхождение «листочков» электроскопа. Иными словами, он добился повышения точности измерения.
Прошло более двухсот лет, но конденсатор до сих пор остается одним из важнейших элементов современных электротехнических и радиоэлектронных схем.
Алессандро Вольта был уже профессором физики в старей- шем университете в г. Павии и ему принадлежало несколько открытий и изобретений (например, электрофор), когда летом 1791 г. он узнал об удивительном открытии итальянского анатома Л. Гальвани (1737-1798), описанном им в трактате «О силах электричества при мышечном движении».
Вот как описывает Гальвани свое открытие. Он препарировал лягушку, лежавшую на столе недалеко от электростатической машины. И когда его помощник случайно коснулся концом скальпеля спинного нерва лягушки, а от кондуктора машины извлеклась искра, «мускулы лапки содрогнулись как бы от конвульсии». Желая проверить влияние на лягушку атмосферного электричества, он зацепил медным крючком за спинной нерв лапку лягушки и подвесил ее на железную решетку забора его сада. Иногда лапка содрогалась независимо от состояния атмосферы. И когда он «утомленный напрасным ожиданием», прижал медный крючок к железным перилам, то мускулы заметно содрогнулись. Чтобы исключить влияние атмосферного электричества, Гальвани перенес лягушку в комнату и положил на «железную дощечку». Когда он прижал к дощечке медный крючок, «спазматические содрогания были налицо». Затем он стал использовать для опыта разные металлы и убедился, что сила содроганий изменяется. Но если металлы заменялись телами, не проводящими электричество (например, стекло, смолу, резину, дерево), «явлений не было».
В заключение Гальвани утверждал, что, по-видимому, «электричество находится внутри животного», и оно подобно «тонкой нервной жидкости», переходящей от нервов к мускулам, вызывает «содрогание» (это напоминает разряд лейденской банки). «Существует особый вид электричества, присущий организму животных» – утверждал Гальвани («животное электричество »).
Трактат Гальвани произвел сенсацию не только среди физиков, но и врачей и широкой публики. Если нервы и мускулы мертвой лягушки «оживают от действия разряда», то, по мнению физиологов, «жизненные проявления после смерти… приближают нас к разгадке тайны жизни» и возможного «средства исцеления».
Среди физиков начались горячие споры за и против животного электричества. Наиболее авторитетное заключение сделал А. Вольта, повторив опыты Гальвани. Лапки лягушки, утверждал Вольта, есть «чувствительный электрометр», а электричество возбуждается от «соприкосновения двух разнородных металлов».
В 1792-1795 гг. Вольта экспериментально – с помощью созданного им чувствительного электроскопа – доказал, что «два соприкасающихся металла взаимно электризуются».
В результате уникальных экспериментов Вольта установил закон контактных напряжений и, измерив контактную разность потенциалов, составил известный «ряд Вольта», где металлы располагались в следующей последовательности: цинк, свинец, железо, медь, платина, золото, серебро, ртуть. Каждый из них при соприкосновении с любым из последующих, получает положительный, а последующий – отрицательный заряд, например, железо (+)/медь (-), цинк (+)/серебро (-). Силу, возникающую между двумя металлами, Вольта назвал электровозбудительной или электродвижущей. Эта сила, «перемещает» электричество так, что получается разность напряжений между металлами, и эта разность напряжений будет тем больше, чем дальше в ряду расположены друг от друга металлы.
Но попытки Вольты получить непрерывный электрический ток (или флюид, как он вначале его называл) за счет простого контакта двух разнородных металлов оказались безуспешными. Как мы теперь понимаем, он предполагал получить электрическую энергию без затраты другого вида энергии.
Дальнейшие опыты показали, что для того, чтобы действия каждой пары металлов суммировались, их нужно разделить каким-либо проводящим материалом, который бы не препятствовал прохождению «флюида» (т.е. тока). Он считал, что существует два рода проводников – металлы и жидкости.
Экспериментальным путем он пришел к своей конструкции «столба»: если, например, составить «столб» из двух-трех пар цинковых и серебряных пластинок, то каждая серебряная пластинка будет соприкасаться с двумя одинаковыми цинковыми пластинками, и их общее действие будет иметь электричество разных знаков. Но если каждую пару цинк-серебро разделить суконным кружком, смоченным водой или (лучше) кислотой, то действие отдельных пар будет суммироваться.