Абсолютный минимум. Как квантовая теория объясняет наш мир, стр. 23
Важная сфера современных квантовых исследований — расчёт электронных состояний молекул. Эта область называется квантовой химией. Такие вычисления позволяют получить квантованные уровни энергии для электронов в молекулах (энергетические уровни), а также рассчитать строение молекул. Расчёт строения молекулы даёт расстояния между атомами и положения всех атомов в молекуле с точностью, ограниченной лишь принципом неопределённости. Таким образом, квантовомеханические расчёты позволяют определять размеры и форму молекул. Подобные вычисления важны для понимания фундаментальных принципов связывания атомов в молекулы и для конструирования новых молекул. По мере развития квантовой теории и появления всё более мощных и сложных компьютеров, способных решать трудоёмкие математические задачи, всё более и более крупные молекулы удаётся исследовать методами квантовой химии. Одно из наиболее важных приложений квантовой теории — разработка фармацевтических препаратов. Молекулы можно конструировать так, чтобы они имели нужные размеры и «подходили» по форме к конкретным локусам протеинов или энзимов.
Квантовая химия требует очень трудоёмких вычислений. Даже для простейшего атома водорода квантовомеханические расчёты математически очень сложны. Атом водорода состоит из одного электрона, связанного с одним протоном. Протон, который является ядром атома водорода, — это положительно заряженная частица, а электрон заряжен отрицательно. Притяжение отрицательно заряженного электрона к положительно заряженному протону удерживает их вместе, скрепляя атом водорода. Детали расчёта энергетических уровней атома водорода здесь излагаться не будут, но в следующих главах мы рассмотрим некоторые особенности результатов этих вычислений. Они дают энергетические уровни атома водорода и его волновые функции. Именно волновые функции, то есть волны амплитуды вероятности для атома водорода, являются отправной точкой для понимания всех атомов и молекул. Атомы и молекулы сложны потому, что они являются абсолютно малыми трёхмерными системами, и необходимо учитывать, как протоны и электроны взаимодействуют друг с другом.
Частица в ящике — классический случай
Есть очень простая задача, имеющая отношение к нашей теме. Она известна как задача о частице в ящике. Для её решения не нужна сложная математика, однако это решение позволяет проиллюстрировать важные свойства связанных электронов, например квантование уровней энергии и волноподобную природу электронов в связанных состояниях. Прежде чем анализировать природу электрона в одномерном ящике атомных размеров, обсудим классическую задачу об идеальной одномерной игровой площадке для ракетбола, чтобы выявить различия между классической (большой) и квантовомеханической (абсолютно малой) системами.
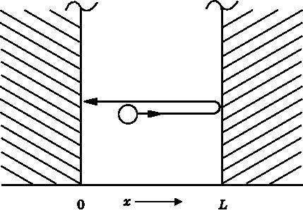
На рис. 8.1 изображён идеальный «ящик». Он одномерный. Его стенки считаются бесконечно высокими, бесконечно массивными и совершенно непроницаемыми. Внутри ящика нет воздуха, который оказывал бы сопротивление движению. На рисунке внутренняя часть ящика обозначена Q=0, а внешняя — Q=?. Ранее говорилось, что свободной называют такую частицу, на которую не действуют никакие силы. Силы возникают, когда частица с чем-то взаимодействует. Например, отрицательно заряженная частица, такая как электрон, может взаимодействовать с положительно заряженным протоном. Взаимодействие в виде притяжения между противоположно заряженными частицами будет порождать силу, действующую на электрон. При управлении электронами в ЭЛТ (см. рис. 7.3) электрическое поле порождает силу, действующую на электроны и заставляющую их менять направление.
Мера взаимодействия частицы с чем-то влияющим на неё, вроде электрического поля, называется потенциалом и имеет размерность энергии. В дальнейшем потенциал будет обозначаться буквой Q. Внутри ящика Q=0, как в случае свободной частицы. Это означает, что частица не взаимодействует ни с чем внутри ящика. Здесь нет ни электрических полей, ни сопротивления воздуха. Однако снаружи ящика Q=?. Бесконечный потенциал означает, что частица должна была бы обладать бесконечной энергией, чтобы оказаться в областях вне ящика. Выражение Q=? — это просто способ формализации утверждения о том, что стенки ящика являются идеальными. Частица не может проникнуть сквозь стенки или перепрыгнуть через них, сколь бы велика ни была её энергия. Если поместить частицу в такой ящик, она не может ускользнуть и всегда будет оставаться внутри него. В этом смысле частица заперта в ящике. Она может находиться в области пространства длиной L, но нигде больше.

Рис. 8.1. Идеальный одномерный ящик. Его стенки бесконечно высокие, бесконечно толстые, бесконечно массивные и совершенно непроницаемые. В ящике нет сопротивления воздуха. Внутри ящика потенциальная энергия Q равна нулю, а снаружи — бесконечности. Ящик имеет длину L
На рис. 8.2 изображён мяч для игры в ракетбол, отскакивающий от стенок идеальной одномерной классической (большой) ракетбольной площадки. Как уже было сказано, эти стенки идеальные, а внутри нет сопротивления воздуха. Кроме того, мяч тоже идеален, то есть обладает абсолютной упругостью. Когда мяч сталкивается со стенкой, он сжимается, как пружина, и снова распрямляется, что вызывает его отскок. Реальные мячи не идеально упругие. Когда мяч сжимается при ударе, не вся энергия, затраченная на его сжатие, идёт на отталкивание от стены. Часть энергии, затраченной на сжатие мяча, идёт на его нагрев. Однако здесь мы будем считать мяч идеально упругим. При ударе о стену вся кинетическая энергия мяча, которая обусловливает его сжатие, расходуется затем на отталкивание мяча от стены. Поэтому скорость мяча перед самым столкновением со стеной равна скорости его отскока после столкновения.

Рис. 8.2. Мяч на идеальной одномерной ракетбольной площадке. Сопротивление воздуха отсутствует, а мяч идеально упруг. Когда мяч ударяется об стену в точке L, он отскакивает, ударяется об стену в точке 0 и продолжает отскакивать взад и вперёд, поскольку площадка идеальна, мяч идеален и нет сопротивления воздуха. Начав так отскакивать, мяч будет бесконечно долго продолжать двигаться туда-обратно
На этой идеальной ракетбольной площадке мяч отскакивает от стен без какой-либо потери энергии; кроме того, нет ни сопротивления воздуха, ни гравитации. Поэтому мяч будет вечно двигаться туда-обратно, отражаясь от стен. Он ударится о стену в точке L, отскочит, столкнётся со стеной в точке 0, снова отскочит и будет продолжать своё движение взад и вперёд. Внутри ящика, поскольку потенциал равен нулю (см. рис. 8.1), никакие силы на мяч не действуют. Поэтому его энергия является чисто кинетической:
Ek=?m•V2,
где m — масса мяча, а V — его скорость. Если мяч испытает слабые внешние воздействия, его скорость станет немного меньше и значение Ek тоже немного уменьшится. В этом идеальном ракетболе энергия может меняться непрерывным образом. Значение Ek может увеличиваться или уменьшаться произвольным образом в зависимости лишь от силы воздействия на мяч.
Другая важная особенность классического ракетбола — это возможность остановить мяч так, чтобы он неподвижно лежал на полу. В этой ситуации его скорость равна нулю: V=0. А раз V=0, то и Ek=0. При V=0 импульс тоже равен нулю, поскольку p=m•V, так что импульс известен нам точно. Если мяч лежит на полу (V=0), то его положение известно. Если обозначить это положение x (см. рис. 8.2), то значение x будет находиться в интервале от 0 до L. Величина x не может принимать никакие другие значения, поскольку мяч находится на площадке (в ящике) и не может оказаться снаружи из-за идеальных стенок. Мяч можно поместить в определённое положение x на полу площадки, и тогда его положение будет известно точно. Это свойство макроскопической игровой площадки, даже идеальной. Это классическая система, и в ней можно точно и одновременно знать импульс p и положение x.