Благоустройство территории вокруг коттеджа, стр. 22
Чаще всего антисептики выпускаются в виде жидких растворов или паст. Жидкость наносится на обрабатываемую древесину кистью, валиком или, что наиболее удобно, разбрызгивателем. Этот вариант подходит для достаточно сухой древесины, так как затрагивает только поверхностный слой. Для влажной древесины лучше применять пасты, которые при тщательном нанесении заполняют неровности, надежнее защищая материал. Что касается выбора активного компонента (химического вещества, которое и обеспечивает эффективность состава), то решающим фактором здесь является высокая токсичность к бактериям в сочетании с нейтральностью по отношению к самой древесине, металлическим деталям, человеку и домашним животным. Для защиты древесины от гниения часто применяются следующие растворимые в воде вещества: фторид натрия, кремнефтористый натрий в сочетании с фторидом натрия или кальцинированной содой, кремнефтористый аммоний. Иногда используются смеси веществ, например бура и борная кислота, хлористый цинк и хромпик (часто – с добавлением медного купороса). Следует учитывать, что последняя смесь негативно влияет на металлические детали, как и названный выше кремнефтористый аммоний.
На рынке существуют и более современные готовые составы, самыми эффективными среди которых можно назвать прозрачные грунтовки, декоративные окрашивающие средства различных оттенков, антисептики для борьбы с уже появившимися грибками, консервационные составы (их особенность заключается в том, что они не только борются с микроорганизмами, но и придают древесине огнестойкость).
Для нежилых деревянных строений иногда в качестве антисептической пропитки применяются не водорастворимые, а маслянистые смеси на основе керосина или мазута. Помните: как для бани, так и для остальных построек использовать такие составы противопоказано!
Если же вы опоздали и на поверхности уже готовой постройки увидели признаки поражения грибком, поступайте следующим образом: испорченный участок разберите, древесину сожгите и замените новой, предварительно пропитав землю под участком раствором хромпика на глубину около полуметра. Свежую древесину тщательно обработайте антисептическим составом.
Таким образом, применение антисептиков в сочетании с хорошей гидро– и пароизоляцией, а также с защитой древесины от соприкосновения с бетоном и землей позволяет решить проблему гниения и заражения грибками. Но существует еще одна опасность, характерная именно для деревянной бани: повышенная вероятность пожара. Поскольку функционирование бани связано с высокими температурами и использованием различных отопительных приборов, помимо соблюдения противопожарных правил во время проектирования и строительства, нелишней будет и обработка деревянных деталей постройки специальными составами, повышающими огнестойкость. Активные вещества, применяемые в производстве противопожарных пропиток, – бура, сернокислый, фосфорнокислый или хлористый аммоний, фосфорнокислый натрий. Обработка ими древесины требует особой тщательности и соблюдения рекомендаций производителя, приведенных на упаковке. Древесина, пропитанная составом всего на 0,5 см, способна сопротивляться возгоранию в течение 30 минут.
Противопожарные составы для пропитки древесины называются антипиренами и делятся на несколько групп в зависимости от механизма воздействия на материал. При повышении температуры разные группы антипиренов способны:
¦ образовывать на поверхности древесины пленку, не допускающую возгорания;
¦ выделять особые газы, препятствующие доступу кислорода, активизирующего процесс горения;
¦ обеспечивать защиту материала на всех этапах развития пожара.
Последняя группа защитных веществ, о которых хотелось бы сказать несколько слов, – средства для борьбы с насекомыми. Можно использовать масляные растворы инсектицидов или концентраты на основе органических растворителей. Пропитка деревянных конструкций бани (как и всех остальных построек на участке) одним из этих составов позволит защитить ее от муравьев, жуков-древоточцев и прочей подобной напасти на долгое время.
Древесина, при всех ее неоспоримых достоинствах, не является единственно возможным материалом для строительства бани. Вполне подходят, к примеру, кирпич и камень. Кирпичная или каменная баня простоит дольше деревянной, будет менее пожароопасной, правда, не такой теплой. Для стен можно использовать облегченный кирпич и камни с пустотами; технология кладки из этих двух материалов одинакова.
Неплохо зарекомендовал себя на строительном рынке такой материал, как арболит: его качества вполне удовлетворяют требованиям, предъявляемым к бане. Арболит представляет собой легкий бетон с добавлением вяжущего вещества и заполнителя. Он не подвержен гниению, пожаробезопасен, морозостоек. Плотность и прочность зависят от марки и количества используемого цемента, качества подготовки заполнителя и степени уплотнения массы в процессе твердения.
Из арболита можно возводить монолитные стены, используя съемные и скользящие опалубки высотой 1-1,2 м. Можно изготовить опалубки из асбестоцементных листов или шифера и смазать их внутренние поверхности известковым молоком. На фундамент или на готовую часть стены устанавливают листы опалубки на стяжных болтах со стяжными брусьями. Верхние края листов соединяют между собой распорками и закрепляют в вертикальном положении укосинами. Подготовленную массу укладывают в опалубку слоями высотой не более 50 см, каждый слой утрамбовывают.
В теплое время года на застывание арболита уходит двое-трое суток, в холодное – около недели. Снимая опалубку, болты осторожно выкручивают, чтобы не повредить стену. Вертикальные швы между соседними участками стены выполняют в виде шпунтовых соединений.
Стены бань могут быть и каркасными. Данная технология позволяет использовать любые строительные материалы. На фундамент ставят каркас стен или целиком бани, а крышу и фундамент обшивают снаружи и изнутри. Полости наполняют теплоизоляционным материалом.
Кровля
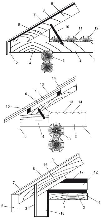
Покрытие бани делается с чердаком (рис. 4.24) или без него (рис. 4.25). Выполняя чердачные перекрытия, к щитам наката снизу прикрепляют потолок. Балки перекрытий чаще всего производятся из древесины хвойных пород. Потолок как в чердачном, так и в бесчердачном покрытии можно изготовить из любого материала с низкой теплопроводностью, лучше всего – из дерева с низким содержанием смолы. Можно сделать его панельным, настильным или подшивным.

Рис. 4.24. Чердачное покрытие крыши: 1 – пароизоляция; 2 – обшивка потолка; 3 – верхняя обвязка стен; 4 – балка чердачного перекрытия; 5 – карнизная доска; 6 – доска перегородки; 7 – водоизолирующий слой; 8 – настил из досок; 9 – стропила; 10 – скоба; 11 – покрытие утеплителя из горбыля; 12 – утепляющая засыпка; 13 – шифер; 14 – обрешетка крыши; 15 – покрытие утеплителя из шифера; 16 – подстропильный брус; 17 – покрытие утеплителя из несгораемых плит; 18 – обшивка стен

Рис. 4.25. Бесчердачные крыши: а – односкатная панельная крыша; б – двускатная панельная крыша: 1 – каркас панели перекрытия; 2 – нижняя обшивка из досок; 3 – пароизоляция; 4 – верхняя обшивка; 5 – водоизоляция; 6 – утеплитель; 7 – теплоизолирующая прокладка; 8 – стеновая панель; 9 – связующие доски; 10 – карниз; 11 – промежуточный брус каркаса; 12 – стойка; 13 – коньковый брус-низ; 14 – коньковый брус-верх; 15 – кровельная сталь (жесть)
Крыша бани выполняется односкатной или двускатной. Уклон рассчитывается с учетом нагрузки возможного снежного покрова. Типовые решения можно найти в СНиП 2.01.01-82 «Строительная климатология». Без расчета допускается использовать балки и несущие стропила сечением 50?150 мм, если длина пролета составляет не более 3 м. Главный несущий элемент скатных крыш – стропила. От количества пролетов в крыше и ее величины зависит вид стропил. Все элементы висячих стропил должны быть прочно соединены между собой, так как эта конструкция опирается лишь на две крайние опоры. Для стропил применяются брусья из просушенной, хорошего качества древесины хвойных пород. Дощатые стропила крепят гвоздями.