Загородный участок с нуля, стр. 11
Не менее разнообразны и калитки. Традиционно калитки представляют собой часть ограды и выполняются из одного с ней материала (фото 2.8.2), однако все большее внимание уделяется совместному оформлению калиток и парадных входов. Растет понимание того, что внешний облик участка и дома на нем наряду с оградой определяют калитка и вход в дом.
Небольшую пешеходную дорожку к парадному входу в дом можно эффектно выделить красиво оформленной калиткой. Выдержанная в старинном стиле парадная дверь уже сама по себе украшает дом. Эффект можно усилить за счет оформления калитки в гармонирующем с дверью стиле, сделав ее, например, ажурной из металла (фото 2.8.3).
При строительстве ворот и оборудовании входа и въезда-выезда с улицы, вдоль которой проходит водосточная канава — необходимо не нарушать водостока. На дно канавы закладывают металлическую, асбоцементную или бетонную трубу соответствующих диаметра и длины. Желательно, чтобы въезд имел твердое покрытие, особенно при круглогодичном пользовании.
Издавна самый распространенный материал для изготовления ворот — дерево. Деревянные ворота и калитка обычно состоят из рамы и обрешетки. Рамы прямоугольной формы вяжут сквозным одинарным шипом из брусков, например, сечением 50 ? 100 мм, обязательно с диагональной укосиной для предупреждения перекоса створок ворот. Рамы лучше собирать с применением водостойкого клея. Шиповые соединения дополнительно укрепляют шурупами или нагелями. Ворота и калитку навешивают на петлях амбарного типа. Для крепления их к металлическим или бетонным столбам иногда устанавливают деревянные накладки, которые прочно крепят к столбам. Запирать ворота можно при помощи слеги и четырех скоб (весьма старинный способ), а можно и современными запорами, выбор которых теперь велик.
Существуют, разумеется, и другие конструкции, например, ворота для ограды в стиле «ранчо», характеризующиеся простотой исполнения. Вполне уместными оказались металлические рамы для деревянных ворот и калитки (фото 2.8.4).
Особенно тщательно надо выполнять фундаменты под столбы, кладку и крепление шкворней для навески ворот. В частности, возможен такой вариант. Фундамент закладывают размером 50 ? 50 см необходимой глубины. В середину его помещают металлическую трубу ?50–60 мм, закрепляют ее бутом и заливают бетонной стяжкой с цокольной частью высотой 3–5 см от уровня земли. Столбы сечением в полтора кирпича выкладывают из красного кирпича с заполнением пустоты остатками раствора и кирпичного боя. Во время кладки устанавливают шкворни из стального прутка ?15–16 мм Г-образной формы. Кирпичную кладку ведут под расшивку. Подобным образом устанавливают и современные отнюдь не легкие сдвижные ворота (фото 2.8.5).
Изложенное выше — в основном дань традициям. Но в «заборном» деле, естественно, тоже существует прогресс, чаще всего обусловленный решением каких-либо новых задач. Подобные примеры существуют, к ним и перейдем.
Одним столбом меньше. Наиболее распространен вариант, когда ворота и калитка расположены рядом, что и понятно — нерезонно пешеходу пользоваться воротами, и тем более калитка не для автотранспорта. В условиях садового, например, участка это плохо тем, что увеличивается ширина воротного створа, а значит, уменьшается площадь участка, которая включена в хозяйственный оборот, ведь напротив ворот должен быть проезд, а напротив калитки — проход. Весьма желательно поэтому объединить проезд с проходом, а значит — ворота с калиткой. Задача эта решается изготовлением ворот из двух разновеликих створок (рис. 2.8.1).

Рис. 2.8.1. Ворота-калитка из двух разновеликих створок
Створка-калитка может быть выполнена в традиционном стиле, а воротная створка снабжена дополнительными откидными стойками-упорами 5, шарнирно закрепленными на каркасе створки 3. Шарнир представляет собой приваренное к створке кольцо (или полукольцо) 8, плоскость которого горизонтальна, и продетых в него проушин (полуколец), приваренных к примыкающим к шарниру концам откидных стоек-упоров 5. Такой шарнир просто изготовить из трех связанных звеньев цепи, соединив среднее звено со створкой, а к крайним приварив стойки.
Практика показала, что пользоваться такими воротами очень удобно. При въезде на участок автомобиля открывают обе створки. Стойки 5 при этом откинуты, а при необходимости могут служить для фиксации воротной створки в положении «открыто». Автомобиль занял свое место на участке, а калиткой можно пользоваться для прохода. Для этого воротную створку возвращают в положение «закрыто», а стойки 5 ставят в указанное на рисунке положение. Тем самым примыкающий к калитке край воротной створки жестко фиксируют в пространстве, и функционально он заменяет собой столб ограды, от которого данная конструкция и позволила отказаться.
Пользование калиткой (в частности, ее задвижками) остается обычным. При длительном отсутствии хозяев стойки 5 могут быть зафиксированы на крючках 9, т. е. в положении, показанном на рисунке пунктиром. Это дополнительно укрепляет стык створок, что немаловажно, например, для противостояния снежным наносам.
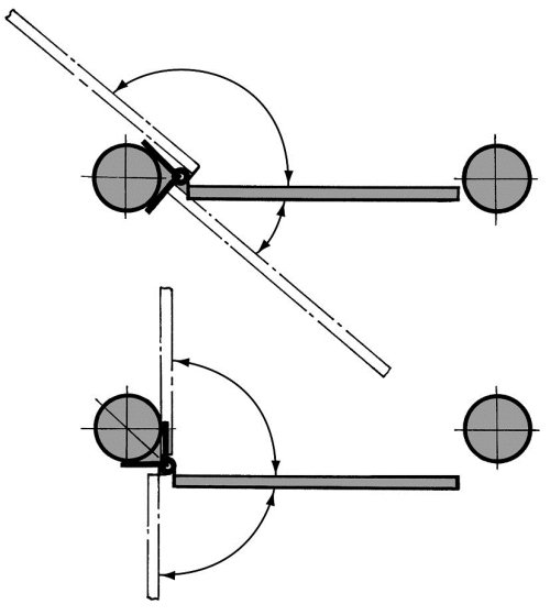
Калитка «От себя — от себя». Обычно калитку делают открывающейся в одну сторону. И если при входе или выходе ее надо тянуть к себе, то почти наверняка приходится себя преодолевать — есть что-то противоестественное в движении, которое называется «пятиться задом». Отсюда понятно желание иметь калитку, всегда (независимо от того, туда идем или обратно) открывающуюся «от себя». Есть еще одно слабое место у калиток: они требуют неразъемных петель, иначе ее и открывать не надо — «бери да уноси».

Рис. 2.8.2. Крепление калитки в металлическом (сварном) исполнении
Решить обе проблемы оказалось возможным при помощи простой конструкции крепления калитки в металлическом (сварном) исполнении (рис. 2.8.2). На рис. 2.8.3 в плане сплошной линией показано положение «закрыто», а пунктиром — «открыто». Видно, что углы открытия наружу и внутрь могут быть разными. Изменяя взаимное положение упора-ограничителя и рамы калитки, например, в закрытом положении, можно менять их соотношение. Последний вариант соотношения углов открытия калитки оказался очень полезным. В реально имевшем место случае такая калитка вошла в состав предыдущей конструкции (Одним столбом меньше). Но тогда при въезде-выезде автомобиля калитка является и воротной створкой. С учетом того, что улица, примыкающая к границе участка оказалась очень уж узкой, именно специально подобранное соотношение углов позволило организовать приемлемые и въезд-выезд, и проход.

Рис. 2.8.3. Варианты соотношения углов открытия калитки внутрь и наружу
При монтаже выбранное положение упора-ограничителя отмечается на столбе мелом, после чего на нем сваркой фиксируются петли с таким расчетом, чтобы ось петли совпадала с угловым ребром упора-ограничителя, установка которого на место является завершающей операцией. Между верхушкой петли упором-ограничителем обеспечивается зазор, в пределах которого возможно вертикальное перемещение створки калитки. Аналогичное решение нетрудно использовать и для случая деревянной конструкции калитки на деревянном же столбе.

Рис. 2.8.4. Двухэтажная калитка
Автор и исполнитель очень многих оригинальных технических решений в области самодеятельного строительства А.И. Плотников из г. Смоленска успешно реализовал свои решения в области «заборостроения».
Двухэтажная калитка. Приезжая зимой на свой участок, садоводы обычно испытывают серьезные трудности. Калитка занесена снегом, а если она еще и открывается внутрь, то остается только одно — лезть через забор. Избавиться от этих трудностей можно, если приподнять калитку на 35–40 см от земли и навесить ее так, чтобы открывалась «на себя» (на улицу). Перекрыть доступ чужой живности на участок через проем под калиткой проще всего с помощью легкосъемного решетчатого щитка. Открыть такую калитку зимой будет очень просто. Несложно перешагнуть и через «порожек», а при перевозке тяжестей его можно снимать.