Балконы, лоджии, террасы, беседки, гаражи, навесы, стр. 40

Рис. 156. Схема выполнения обноски: 1 – обноска, 2 – гвозди; 3 – шнуры
Разбивку начинают с того, что намечают угловые точки постройки (например, 3,85 х 5,5 м). Наносят оси фундамента под несущие стены с помощью шнура, натянутого на обноску. Последняя представляет собой кол диаметром 12–14 см, к которому на высоте 75-100 см от уровня земли прибита на ребро доска (2,5 х 16 см). Верхняя грань доски должна быть строго горизонтальной, поэтому ее проверяют по уровню и корректируют. Обноску устанавливают на расстоянии 1,5 м от наружных стен, благодаря чему они не упадут при рытье траншей под фундамент.
Применяя рулетку и угольник, переносят расстояние между осями стен на обноску и вбивают в определенные точки гвозди. Пользуясь отвесом, на земле находят проекции граней фундамента и забивают в них колышки, на которые затем натягивают шнур. Он укажет границы траншеи, которую необходимо выкопать под ленточный фундамент.
При разбивке осей надо строго следить за тем, чтобы стенки будущего гаража примыкали друг к другу под прямым углом. Чтобы проверить это, измеряют обе диагонали прямоугольника гаража. на отсутствие ошибок укажет их равенство.
Затем роют траншеи под фундамент. Если глубина траншеи не превышает 1 м, ее стены выполняют вертикальными, а при глубине более 1 м делают небольшой уклон. для предупреждения осыпания грунта между стенками можно поставить временные щиты с распорками.
Если под фундаментом будет проходить траншея с подведенными коммуникациями, ее следует заполнить грунтом, уплотнить или залить бетонным раствором до подошвы фундамента.
Учитывая все эти обстоятельства, все-таки хотелось бы, чтобы фундамент не слишком сказался на стоимости всей постройки и тем более не превзошел ее.Кроме того, исправление просчетов и ошибок, которые, возможно, проявятся не на этапе строительства, а во время эксплуатации, может обойтись дороже, чем стоимость самого фундамента.
...
Профессионалы советуют
Беседки-перголы или беседки-тенты не имеют стен, но, несмотря на это, пространство все-таки ограниченное, поэтому оно воспринимается как внутреннее и нуждается в оформлении. Например, можно поставить скамейку, выполненную в стиле беседки.
Вид и глубина заложения фундамента определяются состоянием грунта, проектом строения и используемыми стройматериалами. к его закладке приступают немедленно после окончания земляных работ, поскольку намокание грунта в результате дождя снизит его несущую способность и потребует дополнительных работ по зачистке дна котлована или траншеи, что увеличит сроки строительства.
Глубина заложения фундамента зависит от:
1) вида постройки (многоэтажный дом, строение с подвалом, гараж и пр.);
2) нагрузок, которым будет подвергаться фундамент;
3) гео– и гидрогеологических условий;
4) риска морозного пучения.
Минимальная глубина заложения фундамента, независимо от характера грунта, составляет 50 см от поверхности. При плотных или укрепленных грунтах его можно не заглублять в грунт.
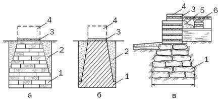
Виды фундаментов. Наиболее часто встречается ленточный фундамент. Само название указывает на то, что он выполняется в виде непрерывной ленты, сформированной из монолитных или сборных элементов. Его закладывают по всему периметру будущей постройки на всю глубину траншеи. Для увеличения площади основания и нейтрализации сил морозного пучения основание делают расширенным, поскольку по восприятию нагрузки трапеция является наилучшей формой сечения ленточного фундамента (рис. 157).

Рис. 157. Расширение основания фундамента: а – из кирпича; б – из бетона; в – из бутового камня; 1 – расширенное основание; 2 – грунт; 3 – слой гидроизоляции; 4 – цоколь; 5 – отсыпка; 6 – пол на лагах
Если грунт относится к пучинистым и глубокопро-мерзающим, то устройство ленточного фундамента оказывается экономически невыгодным, поскольку влечет за собой расход стройматериалов и увеличение земляных работ. А на сухих непучинистых грунтах это вполне оправданно: он превращается в заглубленный цоколь, а по стоимости он практически не отличается от столбчатого фундамента.
Ширина ленточного фундамента не должна быть меньше толщины стен.
В индивидуальном строительстве часто встречаются ленточные фундаменты, выполненные из бутового камня. Положительным моментом является использование местных материалов, что значительно удешевляет строительство, а недостатком – трудоемкость работ, поскольку практически все они осуществляются вручную. Несущая способность бутового фундамента обеспечивается как оптимальным подбором камней и качеством раствора, так и технологией, в соответствии с которой идет укладка камней, расчетной высотой и шириной кладки.Стенки траншеи под бутовый фундамент могут быть прямыми или наклонными. В зависимости от этого выбирают способ заложения – «под заливку» или «под лопатку». При вертикальных стенах применяют способ «под заливку». Для фундамента подходят рваные и постелистые камни, которые кладут рядами высотой 15–25 см враспор со стенами траншеи или опалубки, сопровождая расщебенкой пустот, и заливают бетонным раствором отдельно уложенные слои таким образом, чтобы раствор заполнил все пустоты. Последующие слои кладут аналогично, но не уплотняя.
...
Профессионалы советуют
Некоторые вяжущие материалы перед применением следует выдержать во влажном состоянии 1–2 дня, что указано на упаковке.
При наклонных стенах прибегают к способу «под лопатку», при котором каждый ряд выкладывают из камней, примерно одинаковых по высоте. Наружные ряды выполняют из постелистого камня, переслаивая их раствором, образуя версты (забутки), между которыми насыпают мелкие камни и заливают раствором.
Камни (так как механизация труда невозможна, их вес не должен превышать 30–35 кг) очищают от пыли и других наслоений и смачивают водой. Затем их начинают укладывать в траншею, дно которой должно быть заранее подготовлено, то есть уплотнено и залито 5-сантиметровым слоем цементного раствора. Толщина швов между слоями камня должна составлять 10–15 мм, поскольку под более толстыми швами камни проседают, разрушая кладку.
На дно кладут самые большие камни, стараясь уложить их как можно более устойчиво. Неизбежно образующиеся пустоты заполняют мелкими камешками (это и называется расщебенкой), применяя молоток или кувалду. камни укладывают горизонтальными рядами, соблюдая перевязку швов, для чего верхний камень сдвигается на четверть размера нижележащего камня, то есть перевязка швов осуществляется как в горизонтальном, так и вертикальном направлении. Необходимо соблюдать следующее правило: вертикальная нагрузка должна передаваться от одного камня к другому по всей его плоскости, а не в отдельных точках, иначе неизбежен его сдвиг и разрушение фундамента.
В процессе работы возможно перерывы. Если это время составляет более 6 ч, верхний ряд камней заливают бетоном до половины их высоты.
Бутобетонный фундамент выполняется примерно так же, как и кладка «под залив». камни кладут на подстилающий бетонный слой толщиной 15–20 см и утапливают так, чтобы расстояние между ними не превышало 40–60 см. кроме того, они должны находиться на расстоянии примерно 5–6 см от опалубки. Бетонная масса не теряет своих свойств в течение приблизительно 1,5 ч, поэтому в этот промежуток времени и должны укладываться подготовка и выполнение работы. Чтобы раствор плотно заполнил пустоты, используют вибратор. В работе возможны перерывы. Если они превышают 24 ч, тогда необходимо защитить бетонную кладку от высыхания. При возобновлении работ ее очищают, увлажняют и выполняют насечки, что обеспечивает адгезию с последующими слоями.
Ленточный фундамент можно выполнить из железобетонных блоков. он может быть сплошным или прерывистым. Железобетонные блоки различаются по ширине (300, 400, 500, 600 мм) и выбираются в соответствии с толщиной стен. Если требуется расширить площадь основания фундамента, тогда прибегают к установке блоков-подушек из железобетона (рис. 158).