Балконы, лоджии, террасы, беседки, гаражи, навесы, стр. 25
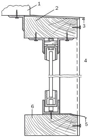
5. Размер раздвижных створок определяется общей застекляемой площадью, при этом учитывается обрамляющая деревянная рама в сборе. Должно быть 4 створки, причем их ширина должна быть такой, чтобы передняя сторона балкона была полностью закрыта, 2 из них должны быть неподвижными и 2 – раздвижными, причем последние могут при открывании заходить за неподвижные створки, следовательно, рама балкона будет открыта наполовину. Каждая створка состоит из стекла толщиной 5–6 мм, алюминиевых профилей, которые его обрамляют, и подшипников, благодаря которым створки перемещаются по полозьям и вращаются во взаимно перпендикулярных плоскостях. Подшипники прикрепляют к уголку с помощью болтов (рис. 85, 86).

Рис. 85. Фиксация верхнего подшипника: 1 – гайка; 2 – шайба; 3 – болт

Рис. 86. Фиксация нижнего подшипника: 1 – гайка; 2 – шайба; 3 – болт
6. Предварительную сборку осуществляют до того, как будут вставлены стекла. Раму монтируют и примеряют по месту. При отсутствии погрешностей ее размонтируют, вставляют прокладки и устанавливают окончательно.
Общий вид конструкции раздвижных створок представлен на рис. 87.

Рис. 87. Общий вид конструкции раздвижных балконных створок: 1 – железобетонная плита; 2 – верхняя доска; 3 – фартук из кровельной стали; 4 – стойка-уголок; 5 – слезник; 6 – подоконная доска
7. Раздвижные створки устанавливают следующим образом. В первую очередь по всей длине балкона прикрепляют верхний направляющий уголок. Он должен прилегать к внутренней стороне боковых неподвижных створок. Затем под ним фиксируют направляющий швеллер. Вертикальность проверяют с помощью отвеса. Шурупы, которые используют в качестве крепежа, не должны препятствовать вращению нижнего подшипника. для этого их вкручивают впотай.
...
Профессионалы советуют
Водоотталкивающее покрытие наносится на поверхность в 2 слоя. Первый из них выполняют до того, как деталь будет установлена на место, а последний – уже на готовую конструкцию.
Установленные по месту створки прижимают внутренним верхним направляющим уголком. Между передними кромками подвижных створок прокладывают уплотнитель, в качестве которого используют резиновые прокладки. скоба-запор не позволит створкам самопроизвольно раздвигаться. Атмосферная влага будет отводиться с помощью слезника, изготовленного из алюминиевого уголка 12 х 12 мм (рис. 88).

Рис. 88. Слезник: 1 – профиль переплета; 2 – слезник
Все, что сказано об остеклении балкона рамой с раздвижными створками, в равной степени относится и к лоджии. Рамы для остекления балконов или лоджий могут быть изготовлены из полимерных материалов. Обычно используют полиэфирные стеклопластики и ПВХ-профи-ли, которые существенно потеснили традиционные рамы из древесины. их главное достоинство – абсолютная точность подгонки, но список положительных сторон полимерных материалов этим не ограничивается, поскольку они:
1) не деформируются на солнце;
2) не боятся перепада температур и атмосферных осадков, в том числе кислотных дождей;
3) имеют гарантийный срок службы 15 лет (для сравнения, деревянные рамы каждые 2 года обновляют, покрывают новым слоем краски и пр.).
Самыми популярными становятся изделия из стеклопластика, для которых характерны прочность металла и теплопроводность древесины. они износоустойчивы, поэтому всегда выглядят, как новые. Единственным минусом этого материала является то, что современные технологии пока не позволяют выполнять из него конструкции сложной конфигурации.В последние годы ПВХ-профили в чистом виде используются все реже. Более востребованными стали комбинированные профили – металлопластиковые. Благодаря металлическим вставкам ПВХ-профиль становится более устойчивым к механическим воздействиям. кроме того, уменьшается линейное расширение материала, закономерно возникающее при колебаниях температуры. Особое сечение профиля в ПВХ-системах позволяет использовать в пластиковых оконных и балконных блоках не сплошные бруски, а многокамерные профили без потери качества. При этом в рамках и створках по всему периметру расположены воздушные камеры, улучшающие теплоизолирующие свойства поливинилхлорида, поскольку воздух является отличным теплоизолятором.
...
Профессионалы советуют
Водоотталкивающее покрытие обновляют каждые 3–5 лет. Сигналом о необходимости выполнения этой работы является то, что дерево начинает обесцвечиваться.
За последние годы разработано огромное количество систем многокамерных профилей для створок и рам, но чаще всего применяют трехкамерные профили, толщина стенок которых равна примерно 3 мм, с коэффициентом теплопроводности 1,2 Вт/м2 °С. Этот показатель достаточно высокий и дает возможность поддерживать необходимый тепловой режим в помещении на хорошем уровне.
Помимо основных несущих профилей, производят вспомогательные и доборные профили, которые позволяют решать самые необычные архитектурные задачи, расширяют технологические возможности (можно создать створки, повторяющие конфигурацию окон и решить практически любые дизайнерские задачи) и превращают сборку балконных и других рам в приятное занятие с конструктором. способы открывания створок очень разнообразны – от привычных открывающихся и раздвижных до поворотных и откидывающихся.
Всевозможные доборные элементы применяют при выполнении переплетов, которые в последнее время становятся модными. Причем горбыльки могут монтироваться сразу при сборке стеклопакета либо имитировать переплеты, будучи просто наклеенными на стекло. для усиления иллюзии их прикрепляют с обеих сторон (рис. 89).

Рис. 89. Модные переплеты
К доборным элементам можно отнести и всевозможные соединители, благодаря которым блоки монтируются под любым углом, что важно при выполнении рам сложных конфигураций (рис. 90).
Большинство балконных ПВХ-систем производится с одинарной створкой, одинарным или двойным стеклопакетом. Конечно, можно увеличить количество стекол, сделав тепло– и звукоизоляцию практически идеальной. Однако следует учитывать, что, во-первых, объем светового потока значительно уменьшится, во-вторых, существенно возрастет вес всей конструкции (при остеклении балкона это имеет немаловажное значение), в-третьих, обойдется это гораздо дороже.

Рис. 90. Балконная рама сложной конфигурации
Завершая разговор о ПВХ-профильных системах, скажем, что описывать их конструктивные особенности и технологию производства кажется лишенным смысла, поскольку в домашних условиях воссоздать обстановку и повторить возможности сложного предприятия нельзя. Если вы отдали предпочтение ПВХ-профилю, его следует заказать в соответствующей фирме, которая осуществляет подобные работы.
Подводя итог всему вышесказанному, коротко сформулируем некоторые особенности остекления балконов и лоджий:
1. Остекление лоджии ПВХ-профилем, сопровождаемое минимальным утеплением, сделает температуру на лоджии примерно на 20° с выше, чем на улице.
2. Остекление лоджии ПВХ-профилем – это не только улучшение шумо– и теплоизоляции. Разбить такое стекло гораздо труднее, чем стеклопакет. кроме того, поставив триплекс, вы защитите свой дом от непрошенных визитеров.
3. Заказывая ПВХ-профиль, вы можете выбрать ту конструкцию и тот цвет, который вам больше нравится.4. Остекление лоджии возможно при температуре не ниже 15 °C.
...