Техника и вооружение 2013 06, стр. 22
В сложившейся ситуации завод № 255, ознакомившись с представленными материалами, высказался только о наличии в электроприводе множества весьма серьезных и принципиальных недостатков (малая мощность электромоторов поворота башни и подъема пушки, электромашинного агрегата, излишне усложненная схема и др.). По мнению завода, эти недостатки определялись, в основном, выбранной схемой электропривода и неверным подбором характеристик.
В результате руководство завода № 255 было вынуждено отклонить данные требования и предложило ЛКЗ (во избежание недоразумений в дальнейшей работе) выслать в адрес завода полный комплект документации на электропривод (из числа первых опытных образцов), который стал бы эталоном при изготовлении.
Одновременно, в соответствии с приказом № 107, завод № 255 самостоятельно, по ТТТ ГБТУ ВС и Министерства транспортного машиностроения, должен был разработать и изготовить для танка ИС-7 новые генераторы и электростартеры мощностью 3кВт и 18,4 кВт соответственно.
Позднее, в соответствии с приказом министра, на завод № 255 с ЛКЗ поступил полный комплект рабочей документации по электроприводу (за исключением двух приборов), технические условия и общая схема. Кроме того, из министерства на завод были отправлены уточненные ТТТ, подписанные Ж.Я. Котиным и И.С. Бером, подтверждавшие изготовление электроприводов по проекту ЛКЗ. Исходя из этих требований, завод № 255 приступил к отработке полученной документации с целью ее адаптации к своим технологическим процессам, с сохранением характеристик и схемы, предусмотренных проектом ЛКЗ.
Однако в результате более детального рассмотрения полученных материалов специалистами завода № 255 было установлено следующее:
— схема электропривода не работала при управлении от прибора «Штурм», так как отсутствовало реверсирование электромотора механизма подъема пушки (цепи ограничителей хода пушки были разомкнуты при любом ее положении, кроме крайних). Поэтому независимо от заданного прибором «Штурм» направления, электромотор механизма подъема орудия обеспечивал отработку угла только в одном направлении. Схематакже не обеспечивала правильную работу электропривода горизонтальной наводки в режиме ее максимальной скорости (отсутствовал принцип независимости работы одного привода от другого, что было недопустимо). Кроме того, схема и конструкция отдельных приборов были излишне и бесцельно усложнены (например, схема приведения пушки к углу заряжания). Для выполнения заданных функций совсем не требовалось использовать сложные четырехмостиковые реле и реверс-реле;
— выбор системы вольтодобавочной машины для управления приводом вертикальным наводки был сделан крайне неудачно, что привело к усложнению конструкции приборов управления (контроллер, прибор «Нуль» и пр.). Она также не обеспечивала необходимую жесткость связи управления в режиме второй половины плавного диапазона, а также устойчивость скоростей, вследствие влияния нагрузки обмотки возбуждения вольтодобавочной машины, что могло проявиться на малых (доводочных) скоростях. На работу системы частично могли повлиять состояние и нагрузка аккумуляторных батарей. Использование в коммутационной аппаратуре (контроллер, прибор «Нуль») для включения возбуждения и якоря электромотора механизма подъема орудия жестко связанных движков привело к увеличению «мертвого» хода рукояток контроллера (для обеспечения разрыва между моментами включения возбуждения и якоря) и создавало опасность коротких замыканий при некотором износе контактов;
— выбор основных характеристик всех электрических машин был проведен неверно. Электромотор поворота башни МПБ-К спроектировали тихоходным — с частотой вращения вала 4500 мин'1 по сравнению с выпускавшимся электромотором МПБ-52, имевшим частоту вращения вала 8000 мин-1. В результате, несмотря на увеличение габаритов, мощность электромотора МПБ-К оказалась почти равна мощности электромотора МПБ-52. В то же время масса башни танка ИС-7 вдвое превышала массу башен существовавших танков и, соответственно, она имела больший момент неуравновешенности. Поэтому переключение редуктора на пониженную скорость (само по себе нежелательное) не компенсировало увеличения нагрузок в механизме поворота башни.
Электромотор механизма подъема пушки также был спроектирован маломощным и не мог обеспечить ведение эффективного огня при стрельбе сходу из-за возникновения значительных инерционных сил. Соответственно, и электромашинный агрегат ЭА-1, разработанный ЛКЗ, имел недостаточную мощность генератора для вертикального привода.
Все перечисленные недостатки являлись принципиальными и по существу делали предложенный ЛКЗ электропривод непригодным для использования в танке ИС-7.
Помимо основных, принципиальных недостатков, были перечислены и отдельные элементы схемы, которые требовали уточнения:
— из-за автоматического приведения пушки к углу заряжания (то есть сразу же после выстрела пушка занимала горизонтальное положение) при наводке пушки на цель с помощью контроллера (без прибора «Штурм») наводчик не мог корректировать стрельбу, так как терял цель и не видел результатов выстрела. Это можно было устранить за счет введения подъема площадки конвейера снарядов вместе с пушкой;
— переключение редуктора поворотного механизма согласно схеме производилось принудительно от поворота рукояток контроллера примерно в середине плавного диапазона. Поэтому после плавного увеличения скорости примерно до 2 град./с происходил скачок скорости (в 3 раза), затем при дальнейшем повороте рукоятки опять осуществлялось ее плавное увеличение (до момента переброса);
— в схеме в качестве горизонтального привода поворота башни был использован серийный привод ЭПБ-1, но с переделкой на двухпроводную систему, с целью отключения агрегата АБ-60 при питании электромотора поворота башни непосредственно от аккумуляторных батарей. Этим достигалась незначительная экономия расхода электроэнергии на холостом ходу агрегата. Но эта экономия никак не оправдывалась, поскольку при повороте рукоятки контроллера обратно на нулевое положение агрегат АБ-60 вновь запускался. Причем его пуск происходил под нагрузкой, а этот режим являлся самым напряженным и вызывал большой износ щеток и коллектора.

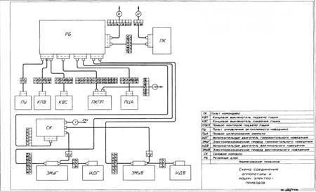
Схема соединения аппаратуры и машин электропривода конструкции ВЭИ.
Помимо усложнения аппаратуры, в принятой схеме использовалось увеличенное количество выводных клемм для агрегатов и проводов.
В итоге, по оценке специалистов завода № 255, следовало, что изготовление электроприводов в таком виде, как это было задано заводу, — явно нецелесообразно. Переработка отдельных узлов и приборов в виду ошибочной схемы и неверного выбора основных характеристик электрических машин не позволяла устранить все выявленные недостатки. По существу, требовалось заново разработать электропривод, начиная со схемы.
Для исправления этой ситуации руководство завода № 255 предложило разработать электропривод для танка ИС-7 по ТТТ Министерства транспортного машиностроения и ГБТУ ВС. При этом предполагалось, что завод № 255 использует чертежи Л КЗ в качестве руководящего материала, неся за свою работу полную ответственность. В связи с этим рекомендовалось несколько изменить ТД исключив задание на изготовление электропривода по проекту ЛКЗ, уточнить их по указанным выше вопросам и пересмотреть сроки исполнения приказа министра в части изготовления опытных образцов.
По оценке завода № 255, для форсированного проведения работ требовалось поручить ЛКЗ изготовление контроллеров и приборов «Нуль» в количествах, необходимых в 1948 г., привлечь к выпуску механических деталей для электромашин и аппаратуры Опытный завод № 100 в Челябинске, а также оказать дополнительную помощь конструкторами, откомандировав их с ЛКЗ для обеспечения совместного проектирования.
Полный технический проект электропривода мог быть представлен через 1,5 месяца, т. е. к 1 августа 1948 г. В этом случае изготовление опытных образцов определялось сроками, установленными Министерством транспортного машиностроения для ЛКЗ и завода № 100.