Ремонт часов, стр. 38
Чтобы отрегулировать ход будильника, когда импульсный штифт находится не в центре, надо передвинуть колодку волоска пинцетом, к которому приклепана лопаточка длиною немного больше 0,5 диаметра волоска (рис. 184).
Рожки вилки не должны касаться боков или дна паза оси баланса. Если же они касаются, то колено вилки нужно выгнуть насколько это необходимо.
Короткая вилка может перескакивать на другую сторону импульсного штифта баланса. В этом случае импульсный штифт не проходит в паз рожков, а падает на ее боковую поверхность.
Вилку надо удлинить, распрямив ее колено.
Зазор между рожками вилки и осью баланса с обеих сторон должен быть одинаков. Этого достигают осторожным поворотом вилки на оси.
Необходимо проверить и исправить перекошенные центровые винты.
Сигнальная стрелка должна быть установлена так, чтобы ее положение в момент включения сигнала соответствовало положению часовой и минутной стрелок. Следует обратить внимание на правильную установку сигнальной пружины и короткий стержень, останавливающий молоток.

Рис. 184. Комбинированный пинцет
При закреплении сигнальной и минутной стрелок ударом мо лотка следует придерживать баланс так, чтобы -он не двигался, так как от удара молотка могут притупиться цапфы оси баланса.
Подкладывая шайбы под вексельное колесо, регулируют по высоте его сцепление с минутным грибом. При закреплении вексельного колеса замковой шайбой необходимо установить осевой зазор. Если механизм установлен в корпусе неправильно, возможны следующие дефекты: стрелки задевают одна другую, циферблат или стекло; ключи упираются в платину или трут крышку корпуса; молоток трет вырез корпуса; крышка корпуса давит на центровой винт.
Все указанные дефекты при сборке следует устранять.
До установки механизма в корпус следует смазать маслом все трущиеся поверхности, гнезда цапф, центровые винты, штифты якоря, штифт сигнального колеса, скобку молотка и пружины.
Особенности отдельных конструкций отечественных будильников требуют индивидуального подхода при их разборке и сборке.
Остановимся на наиболее характерных особенностях будильника марки «Ростов-Дон». Чтобы вынуть механизм при разборке, необходимо под кнопку останова звонка подложить с двух сторон отвертки и приподнять кнопку, затем вывернуть гайку плоскостью губки плоскогубцев или широкой отверткой (при этом следует следить, чтобы механизм не выпал). Далее снимают стрелки, циферблат и стойку циферблата. Вынув плоский штифт, освобождают волосок. Мост баланса, находящийся под циферблатом, посажен туго, и для того чтобы не сломать цапфу, рекомендуется заранее отвинтить градусник и осторожно снять накладку, чтобы не потерять спиральную пружину и полудугу, находящиеся на градуснике, затем снять мост и вынуть баланс. Имеющийся на мосту винт служит для регулировки осевого зазора баланса.
Во время разборки следует обратить внимание, правильно ли смонтирована плоская пружина, упирающаяся в сигнальный вал. Чтобы не выскочила кнопка останова при сборке, необходимо трубку, находящуюся внутри, несколько раздать.

Рис. 185. Плоскогубцы для снятия стрелок
Для удобства снятия стрелок в малогабаритных будильниках рекомендуется применять специальные плоскогубцы (рис. 185), которые мастер может изготовить из обыкновенных плоскогубцев. Одну из губок опиливают с наружной стороны, просверливают отверстие, вставляют в него штифт и расклепывают. Вторую губку спиливают с внутренней стороны, сделав ее клинообразной, и прорезают в ней отверстие, как указано на рисунке. Для снятия стрелок губки подводят под стрелки, и сжимая плоскогубцы, упираясь штифтом в торец оси центрального колеса, свободно снимают стрелки.
4. НАРУЧНЫЕ ЧАСЫ-БУДИЛЬНИК
Все большее распространение в последние годы получают наручные часы-будильник. С конструктивной точки зрения наибольший интерес представляют часы марки «Сверчок», изготовляемые в Швейцарии.
Эти часы по своему устройству почти не отличаются от обычного будильника, но имеют некоторые специфические особенности
Механизм часов снабжен двумя пружинными двигателями: один приводит в действие часовой механизм, другой — сигнальное устройство. Обе пружины заводятся от одной заводной головки. При вращении головки по часовой стрелке заводится пружина часов, при противоположном вращении — пружина сигнального устройства.
Часовая и минутная стрелки переводятся обычным способом, но только вперед; при обратном вращении заводной головки стрелки не переводятся. Установка сигнальной стрелки производится также при вытягивании заводной головки, но при этом дополнительно нажимают кнопку, имеющуюся на корпусе слева от заводной головки, чем отключают механизм перевода стрелок и включают механизм установки сигнальной стрелки. При возвращении заводной головки в исходное положение кнопка автоматически освобождается, и сигнальный механизм отключается от сцепления с заводной головкой.
Эта же кнопка служит и для прекращения сигнала во время его действия. Полная продолжительность действия сигнала равна 25 сек.Сигнал может быть также вообще отключен нажимом той же кнопки. Повторное включение сигнального устройства производится вытягиванием и возвратом на место заводной головки.
Разборка механизма часов с сигнальным устройством не представляет каких-либо трудностей. Весь механизм (кроме колесной передачи) размещен под циферблатом часов. Удалив стрелки и циферблат, снимают часовое колесо и освобождают поворотом трехфазную фрикционную пружину сигнального колеса, расположенного также на центральной оси, удаляют ремонтуарный мост и разбирают колеса перевода стрелок, включая и колеса установки сигнальной стрелки с рычагами для их сопряжения со стрелочным механизмом.
Своеобразными деталями в описываемых частях являются: кулачковая муфта с заводным трибом, которые имеют не храповые, а прямоугольные зубья для взаимного сцепления, а также часовое и сигнальное колеса, снабженные, соответственно, тремя отверстиями и тремя выступами для включения сигнала (так, как это происходит в будильниках с центральной сигнальной стрелкой), Указанные отверстия размещены таким образом, что выступы западают в них только при одном определенном взаиморасположении указанных колес; в то же время три штифта, создавая при взаимном проскальзывании колес точки опоры, исключают перекосы часового колеса и его боковое трение о минутный триб.
Механизм наручных часов-будильника с точки зрения сигнального устройства аналогичен обычному будильнику и подвержен тем же дефектам. Ремонт этих часов не обладает спецификой, за исключением более тщательной работы, требующейся от мастера, ввиду малых размеров деталей.
Отечественная часовая промышленность выпускает наручные часы-будильник марки «Сигнал», конструкция которых не отличается какими-либо особенностями, требующими специальных приемов ремонта.
5. АВТОМОБИЛЬНЫЕ ЭЛЕКТРОМЕХАНИЧЕСКИЕ ЧАСЫ
Конструктивно близкую группу к будильникам составляют так называемые автомобильные часы, которые могут быть как механические, так и электромеханические. Первые не имеют каких-либо специфических конструктивных особенностей и распространены относительно мало. Наибольшее распространение имеют электромеханические часы, выпускаемые в нашей стране под марками АЧП, АЧЗ, 4ЧТ и 5ЧТ.

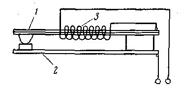
Рис. 186. Термореле:
1 — биметаллический контакт; 2 — неподвижный контакт; 3 — обмотка термореле
Автомобильные часы снабжены штифтовым спуском, не имеющим отличий от вышеописанного аналогичного спуска, применяемого в будильниках, за исключением несколько меньших габаритов. В автомобильных часах улучшенной конструкции (АЧП и АЧЗ) применяется анкерный спуск с рубиновыми налетами.