Ремонт часов, стр. 21

Рис. 105. Нагрев готовой оси баланса
В механизме анкерного хода обычно применяют двойкой ролик. Иногда попадают в ремонт часы, имеющие баланс с одинарным роликом, поэтому о таком ролике следует сказать особо.
Одинарный ролик баланса. Если одинарный ролик сидит на оси недостаточно плотно, его можно закрепить шеллаком. Необходимо проверить, чтобы ролик был хорошо отцентрован и чтобы в каком-нибудь месте не уходил в сторону или вверх. Боковая поверхность ролика и колье вилки должны быть хорошо отполированы.
Если копье задевает заролик и если на ролике имеются риски-, это нужно устранить, отполировав ролик.
Если ролик имеет настолько большое отверстие, что закрепление его шеллаком не дает .нужных результатов, в этом случае можно отверстие ролика стянуть при помощи пуансона. Для этого следует вынуть эллипс и отпустить ролик до темно-синего цвета, взять пуансон с коническим концом, в котором имеется отверстие, и вставить в него направляющий штифт. Штифт вводится в отверстие ролика и выходит с обратной стороны наружу. Затем ролик кладут на наковальную (нитбанк) над отверстием, равным диаметру штифта, и ударом по пуансону стягивают отверстие. Ролик должен надеваться на ось с небольшим натягом.

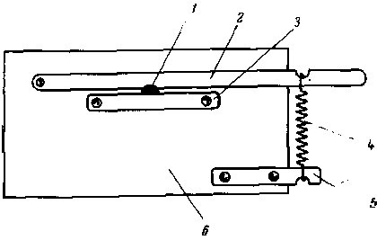
Рис. 106. Пинцет для снятия двойного ролика:
1 — пинцет; 2 — баланс; 3 —перекладина
Двойной ролик.Указанный выше способ закрепления одинарного ролика также относится и к двойному ролику. Двойной ролик следует снимать специальными пинцетами (рис. 106).
Чтобы определить, плотно ли закреплен ролик на оси баланса, необходимо пинцетами ухватить боковую сторону импульсного ролика и попытаться повернуть его в ту или другую сторону. Если нижний предохранительный ролик помят и выправить его невозможно, следует снять эллипс, отрезать предохранительный ролик или сточить его на токарном станке.
Для изготовления ролика берут латунный пруток, по диаметру несколько больший, чем ролик, просверливают отверстие так, чтобы обеспечить плотную посадку на ось баланса. Затем просверливают отверстие в том месте, где должен быть вырез, надевают заготовку на державку и закрепляют шеллаком. После этого обтачивают заготовку на токарном станке. Требуемый вырез ролика образуется во время обточки.
Обтачивать предохранительный ролик нужно заостренным лезвием грабштихеля. Ролик должен быть тщательно отполировав и иметь совершенно плоский бортик без завалин.
Сняв ролик с державки, надевают его на ось баланса, при этом центр выреза ролика должен быть расположен точно против эллипса. Ролик вставляют от руки и окончательно доводят легким прижимом пинцета. Затем ролик при необходимости приклеивают шеллаком. После этого следует поставить баланс в механизм и проверить, попадает ли копье в центр ролика и выдержан ли надлежащий зазор между ограничительными штифтами, копьем и роликом.

Рис. 107. Приспособление для выравнивания двойного ролика: 1 — деревянная подставка; 2 — отверстие для предохранительного ролика; 3 —отверстие для эллипса; 4 —двойной ролик
Если предохранительный ролик немного помят, его можно выровнять на токарном станке: увеличить длину копья и соответственно углубить предохранительный вырез. Обточку на токарном станке производят очень осторожно, чтобы грабштихелем не завалить углы выреза.
Если верхняя часть ролика погнута, снимают ролик, ставят его на пластину из твердого дерева, в которой должно быть отверстие, куда бы плотно входил предохранительный ролик. Затем горячей иглой прожигают место для эллипса и, поставив ролик, выравнивают его, прижимая плоским молотком или пуансоном (рис. 107).

Рис. 108. Приспособление для закрепления шеллаком двойного ролика и эллипса:
1 — баланс; 2 —щипцы; 3- — двойной; ролик
Эллипс.Качающийся или криво посаженный эллипс необходимо выровнять и закрепить шеллаком. Для этой операции необходимо нагреть щипцы, сделанные из проволоки красной меди. При большой опытности эту операцию можно проводить, не снимая спирали и моста (рис. 108).
Между рожками вилки и эллипсом должен быть небольшой зазор, но такой, чтобы эллипс проходил без всякого тренич. Если же зазор большой, то и диаметр эллипса должен быть соответственно больше. Кроме того, эллипс не должен сидеть глубоко в пазу вилки.
Если у мастера нет нового эллипса, его можно изготовить: при стальной анкерной вилке — из нагартованной латуни, а при латунной — из стали-серебрянки. Для изготовления эллипса из стали-серебрянки следует отпустить серебрянку до желтого или светло-синего цвета.
Отверстия в пластинке должны находиться ближе к краям так, чтобы предохранительный ролик любого размера свободно проходил по наружной стороне пластинки. Размеры этих отверстие должны соответствовать применяемым в практике эллипсам. При этом не эллипс вставляют в отверстие ролика, а, наоборот, ролик надевают на эллипс и затем эллипс закрепляют шеллаком.
Шлифуя эллипс на камне, придают ему нужную форму.
Далее эллипс полируют крокусом и подгоняют как по отверстию в ролике, так и по рожкам вилки. Затем ножовкой надрезают полученный фасонный пруток с двух сторон так, чтобы после изготовления эллипса его можно было бы легко отломать. После этого закаляют эллипс в масле (чтобы не появилась окалина до закалки эллипс смазывают мыльной пеной), потом снова полируют крокусом и, придерживая пинцетом рабочую часть эллипса, отламывают лишний металл и зачищают оставшиеся на эллипсе заусенцы бархатным напильником. Готовый эллипс укрепляют на ролике и проклеивают шеллаком. Эллипс должен плотно входить в отверстие ролика. Чтобы было удобнее вставлять эллипс, мастер может сделать соответствующий инструмент. Для этого нужно коническим пуансоном в тонкой металлической пластинке пробить ряд эллипсообразных отверстий, предварительно засверлив их (рис. 109).

Рис. 109. Приспособление для вставки эллипса в двойной ролик:
1 — пуансон; 2 — пластинка; 3 —деревянная подставка; 4— эллипс; 5 — двойной ролик
Применяется и другое приспособление для вставки эллипса без баланса (рис. 110). Для этого берут металлическую планку длиной 50 мми шириной 30 мм,к которой приклепывают три металлические пластинки (их лучше изготовлять из пружины карманных часов). В первой пластинке пропиливают паз, который будет удерживать эллипс в приспособлении. Верхнюю пластинку следует приклепать одной заклепкой, под головку которой подложить шайбу. Пластинка должна двигаться по планке без зазора. Вторую пластинку приклепывают наглухо рядом с верхней, в пазу которой и зажимается эллипс.
Третью пластинку приклепывают внизу для крепления пружины. Пружину навивают из тонкой струны; она не должна сильно зажимать эллипс, так как последний может выскользнуть из приспособления.

Рис. 110. Приспособление для вставки эллипса:
1 — эллипс; 2 — первая пластинка; 3— вторая пластинка; 4 —спиральная пружина; 5 — третья пластинка; 6— металлическая планка
На указанном приспособлении ролик также надевают на .эллипс.
4. СТРЕЛКИ И ЦИФЕРБЛАТ
Стрелки. Стрелки снимают специальными рычажками, пинцетом (рис. 111) или двумя отвертками. Стрелки нужно снимать осторожно, чтобы не нанести царапин на циферблате или не повредить его эмаль [Эмалированные циферблаты в настоящее время встречаются весьма редко, в часах устаревших конструкций. (Прим. ред.).]. Для этого на циферблат под стрелки следует подложить замшу или кусок бумаги, вырезанные в форме сектора. Если минутная стрелка держится на оси слабо, то ее отверстие необходимо стянуть пуансоном. Затем это отверстие нужно подправить разверткой; для этого существует специальный инструмент — зажимные тисочки для стрелок (рис. 112). Если таких тисочков нет, можно использовать пинцет, сделав на нем в нескольких местах распиловку разных размеров (рис. 113). Слабую посадку часовой стрелки следует исправить следующими способами: стянуть отверстие стрелки специальным пуансоном или прорезать ножовкой трубку стрелки, после чего надеть ее на деревянную оправку и сжать тисочками до нужного размера.