Занимательная анатомия роботов, стр. 22



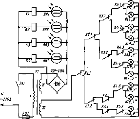
В устройстве применены следующие реле: К1 и К2 – РЭС9 (паспорт РС4, 524.201), КЗ – РЭС22 (паспорт РФ4.500.131), К4 – РС13 (паспорт РС4.523.07). Фоторезисторы – ФСК-1. Трансформатор Т1 набирают из пластин Ш20, пакет толщиной 40 мм. Обмотка I содержит 14000 витков провода ПЭЛ 0,31; II – 450 витков провода ПЭЛ 0,15; III – 45 витков провода ПЭЛ 0,8. Диоды Д226Б можно заменить на Д7Е, Д7Ж, Д226В.
Внешний вид прибора представлен на рис. 78. На лицевой панели корпуса расположена ячейка с фоторезисторами и индикаторное устройство – цифры 1 – 9, О, подсвечиваемые лампами HL1 – HL10.
Описанная модель опознает цифры одного разряда почтового индекса. Увеличив число подобных устройств до шести, мы сможем добиться опознавания всех цифр индекса.
Перцептрон на микросхемах. В 1985 году в журнале «Радио» была опубликована схема микроэлектронного перцептрона, который разработан под руководством Л. Д. Пономарёва и распознает пять цифр (рис. 79).
Глаз перцептрона состоит из четырёх блоков А1 – А4 с фотодиодами BD2 – BD4. На стыке элементов 1 и 2 сетки (см. рис. 74) размещён фотодиод ячейки А1, под ним на стыке элементов 1, 7 и 6 в левом нижнем углу находятся ячейки A3, в правом нижнем – ячейки А4. Над фотодиодами в корпус автомата вмонтированы осветители (на схеме не показаны).
Пока глазу ничего не показывают, все его фотодиоды освещены и транзистор в каждой ячейке открыт. На коллекторе транзистора – небольшое напряжение, соответствующее уровню логического 0. Сигналы с ячеек поступают на дешифратор, состоящий из логических элементов микросхем DD1 – DD4. Выходными элементами дешифратора служат логические элементы с открытым коллектором, поэтому если на выходе этих элементов присутствует уровень логической 1, лампы HL1 – HL4 на табло перцептрона выключены.

Как только к глазу перцептрона будет поднесена, скажем, цифра 1, нарисованная черным лаком на пластине из органического стекла, она закроет фотодиоды второй и четвёртой ячеек. Закроются соответствующие транзисторы, и на входах элементов DD1.2, DD1.4 будет напряжение, соответствующее уровню логической 1, а на их выходах – логического 0. Нетрудно проследить, что при этом у элемента DD2.1 на всех входах будет сигнал 1, а на выходе – 0. Включится лампа HL1, высветив на табло цифру 1. Когда глазу перцептрона покажут цифру 2, загорится лампа HL2, при цифре 3 будет светиться лампа HL3, и т.д.
В перцептроне можно применить другие фотодиоды, разброс их параметров компенсируют под – строечным резистором R2 и подборкой резистора R1. Лампы HL1 – НЬ5 – на напряжение 6,3 В и ток не более 60 мА.
Самовоспроизводство роботов
От искусственного интеллекта и самообучения ЭВМ и роботов остаётся совсем немного до проблемы самовоспроизводства роботов. Рассмотрим самую удивительную из всех кибернетических машин – машину, способную к самовоспроизводству или, ещё лучше, способную производить более совершенные машины, чем она сама (рис. 80).

По идее Дж. фон Неймана машина – родитель представляется помещённой в содержащее компоненты ограниченное пространство, из которых состоят аналогичные машины. По инструкции, записанной на ленте, машина – родитель должна отбирать необходимые элементарные компоненты и строить из них потомка.
Чтобы понять существо этого предложения, необходимо чётко уяснить принцип блочной конструкции. Машины, отвечающие современным требованиям, имеют сравнительно простую конструкцию, ибо для их построения применяют заранее изготовленные блоки. Не меньшее значение имеет замечательный вывод известного физика, лауреата Нобелевской премии Джорджа П. Томсона, высказанный им в его проникновенной книге «Предвидимое будущее»: «Миру, в котором мы живём, присуща одна особенность столь общего и столь универсального характера, что она не привлекла к себе, по – видимому, должного внимания. Я назову её, за отсутствием лучшего определения, „принципом массового производства“. Это – тенденция природы к почти бесконечному повторению всех порождаемых ею существ. Нагляднее всего эта тенденция проявляется, видимо, в мире мельчайших объектов. Во вселенной существует меньше ста разновидностей атомов, а сами эти сто разновидностей состоят из очень малого числа (из двух или трёх) обычных, элементарных частиц – электронов, протонов и нейтронов. На этом уровне все индивидуумы, образующие множество объектов, идентичны. Примеры, подтверждающие это положение, могут быть найдены в мире как живой, так и неживой природы: дождевые капли, песчинки, частицы дыма, бактерий, клетки любого куска с виду однородной органической ткани. Всякое дерево покрыто летом большим, хотя, быть может, и не вполне одинаковым количеством листьев. Каждый лист состоит из множества сравнительно немногочисленных разновидностей клеток…
С моей точки зрения, эта множественность представляет собой самую замечательную особенность вселенной, какой она предстаёт перед нами. Внимательный наблюдатель обнаруживает это даже визуально, а прогресс в области разработки точных инструментов и в развитии научных познаний выявляет эту особенность уже с полной и поразительной очевидностью.
Это, безусловно, одно из основных явлений мира, которых не изменят никакие новые открытия. Атомизм в самом широком смысле этого понятия – массовое производство, осуществляемое природой, – представляет собой глубочайшую из научных истин» [Томсон Дж. П. Предвидимое будущее. М.: ИЛ, 1958. Стр. 35 – 37].
И в самом деле, элементарные логические ячейки, составляющие основу современных ЭВМ, знают только два сочетания: 1 и 0. А ведь ЭВМ способны управлять не только роботами, но и сложнейшим производством, а иной раз выигрывать в шахматы у гроссмейстеров, и все это на основе различных логических сочетаний все тех же элементарных ячеек.
Вот и ключ к решению задачи самовоспроизводства: машине – строителю нужно только умело собирать блоки элементарных логических ячеек и создавать потомство с большей памятью и другими перспективными характеристиками.
11. Конструирование роботов
Роботы – игрушки
На рис. 81 вы видите модель кибернетического краба, созданную юными техниками в пионерском лагере им. Вити Коробкова (Крымская обл.). Краб двигается на свет электрического фонаря или на солнечный свет, перемещаясь с помощью двух электродвигателей с редукторами, которые вращают колесо (такие узлы есть в комплекте многих детских электромеханических конструкторов). Поверх ходовой части на металлической плите собраны два узла зрения из радиокубов. Нос краба – отсек с батареями 3336 (для питания двигателей) и «Крона» (для питания устройства зрения) – отделяет один глаз краба от другого. Поэтому боковой свет попадает только в один глаз, и его реле включает электродвигатель, разворачивающий краба в сторону источника света. Как только свет попадает и во второй глаз, включается второй электродвигатель и краб движется прямо на источник света. Чтобы в глаза краба попадало больше света, его металлическая платформа установлена под углом 45° к горизонту. Третье колесо, поддерживающее платформу, свободно поворачивается при её поворотах.