Занимательная анатомия роботов, стр. 20
Прежде чем познакомиться с пересчетными декадами, состоящими из последовательных цепей триггеров, рассмотрим работу триггеров различных типов.
Триггер с раздельными входами (рис. 71) – это две усилительные ступени с жёсткой обратной связью через резисторы R2 и R5. Она обеспечивает триггеру два устойчивых состояния: когда один из его транзисторов открыт, а другой закрыт, и наоборот. Из одного устойчивого состояния в другое триггер переключается поочерёдной подачей управляющих импульсов положительной полярности на его входы. Для наглядного контроля за состоянием транзисторов в цепь коллекторов транзисторов включены лампы накаливания (HL1 и HL2) на напряжение 2,5 В и ток 0,075 А.

Стоит кратковременно нажать на кнопку SB2, как триггер перейдёт в другое устойчивое состояние, так как при этом на базу транзистора VT2 от элемента G1 (элемент 332) поступит положительный импульс. Триггер сохраняет своё устойчивое состояние сколь угодно долго. Благодаря отрицательным обратным связям через резисторы R2 и R5 процесс перехода триггера в новое устойчивое состояние происходит лавинообразно в течение нескольких микросекунд. Напряжение на электродах транзисторов, соответствующее другому устойчивому состоянию триггера, показано в скобках. Рассмотрим работу триггера.
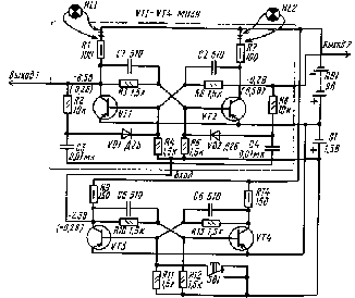
Триггер со счётным входом. Схема этого триггера (рис. 72) выделена красной линией. Он похож на уже знакомый триггер с раздельными входами, но содержит несколько дополнительных элементов: конденсаторы СЗ и С4, резисторы R2 и R8, диоды VD1 и VD2 и, кроме того, имеет один общий вход. Конденсаторы СЗ, С4 и диоды VD1, VD2 образуют цепи, через которые на базу транзисторов VT1 и VT2 подводят входные управляющие импульсы.
Из одного устойчивого состояния в другое триггер переключается положительными импульсами напряжения, подаваемыми на вход. При отрицательных входных импульсах изменения состояния триггера не происходит.
Подавать на вход триггера одиночные импульсы кнопкой нельзя, так как в момент соприкосновения контактов кнопки во входной цепи возникает не один, а серия импульсов продолжительностью в несколько микросекунд (это явление называют «дребезгом контактов»). Здесь роль формирователя одиночных импульсов играет вспомогательный триггер с раздельными входами на транзисторах VT3 и VT4, управляемый кнопкой SB1.
В коллекторную цепь транзисторов VT1 и VT2 целесообразно включить индикаторные лампы HL1 и HL2, по свечению которых удобно судить о состоянии транзисторов.
Как работает триггер со счётным входом? При включении питания (батарея GB1) один из его транзисторов, как и в триггере с раздельными входами, открывается, другой – закрывается. Будем считать исходным состоянием триггера такое, при котором транзистор VT1 закрыт, а транзистор VT2 открыт (должна гореть лампа HL2). Если состояние триггера иное, то нажмите на короткое время на кнопку SB1.

При этом лампа HL2 должна загореться, a HL2 – погаснуть. Устойчивое состояние, когда транзистор VT1 закрыт, VT2 открыт, поддерживается цепями отрицательной обратной связи точно так же, как в триггере с раздельными входами. Напряжение на базе закрытого транзистора VT1 положительно, а на его коллекторе – отрицательно, поэтому диод VD1 закрыт и база этого транзистора отключена от входа триггера (путь сигналу через конденсатор СЗ блокирован).

В то же время наличие отрицательного напряжения на базе открытого транзистора VT2 (около – 0,4 В) и на его коллекторе (-0,2 В) приводит к открыванию диода VD2, тем самым вход триггера к базе транзистора VT2 подключается через конденсатор С4. Переключают триггер в другое состояние подачей на его вход положительного импульса. Для этого надо лишь кратковременно нажать на кнопку SB1. При каждом нажатии на кнопку SB1 на вход триггера со счётным входом поступает одиночный импульс положительной полярности.
Таким образом, триггер переключается положительными импульсами. Положительный и отрицательный перепады напряжения, снимаемые с Выхода 1 и Выхода 2, могут быть использованы для управления другими электронными устройствами. Положительный импульс на Выходе 1 появляется при поступлении на вход триггера каждого нечётного импульса, а на Выходе 2 – чётного импульса; триггер, следовательно, делит частоту поступающих на его вход импульсов на два. То есть коэффициент счета триггера К = 2. Мы уже говорили о том, что основным элементом ЭВМ, участвующим во всех вычислительных операциях, является триггер. На основе триггеров можно создать множество занимательных конструкций, например действующие модели светофоров, увлекательные кибернетические игры. В промышленности триггерные счётчики широко применяют в электронной измерительной аппаратуре с цифровой индикацией результатов измерений. Такие счётчики можно использовать и в роботе, например, для подсчёта проходящих мимо него деталей или людей.
Объединение механической системы робота – манипулятора с ЭВМ (рис. 73) позволяет создавать обучаемых роботов.
Обучение робота
Робот действует по программе. Вначале изучают траекторию движения руки робота, затем «обучают» его самого и составляют программу самостоятельной работы. Кратко рассмотрим этапы обучения.
Перемещения, которые должна совершить рука робота, фиксируют при выполнении рабочей операции. Всю траекторию перемещения руки делят на отдельные движения. После этого приступают к «обучению» робота. С пульта оператор управляет роботом, и его рука совершает путь, соответствующий одному движению.
Движения, совершаемые рукой, фиксируют кодовые датчики (см. рис. 73) и сигналы в цифровом виде поступают на блок записи программы. Этот блок записывает программу на магнитный барабан памяти движения руки по пяти осям (три поступательных движения и два вращательных) в цифровом виде на пяти дорожках. После того как записано одно движение, приступают к записи другого. Заметьте, что робот запоминает с первого раза и удерживает в памяти до 180 команд и на столько времени, сколько это необходимо человеку.
Когда рука робота под руководством оператора проделала всю операцию и обучилась, т. е. в блоке памяти зафиксированы её движения, робот может многократно, уже без оператора, повторять движения рукой.
В последние годы электронной промышленностью созданы чудесные микроЭВМ и микропроцессоры. Благодаря низкой стоимости микропроцессора его стало возможным включить в большинство обычных машин и аппаратов. Любую машину микропроцессор может наделить способностью принимать решения, хранить в памяти программу работы и инструкции на различные ситуации, автоматически регулировать свою работу в зависимости от складывающихся условий.
В чём принципиальные преимущества использования в массовых объектах управления микропроцессоров и микроЭВМ?
Главное – малые габариты и потребляемая мощность, низкая стоимость микропроцессорных вычислительных систем, особенно так называемых однокристальных, у которых на одной кремниевой пластине объединены микропроцессор и запоминающие устройства. Уже одно это позволяет применять вычислительную технику в тех областях, где ранее вычислительные и управляющие машины были недоступны из-за «барьера стоимости» и сложности организации промышленного выпуска необходимого их количества. Благодаря малым размерам микропроцессорную систему можно легко разместить на станке, в кабине трактора, в корпусе робота – манипулятора, в магнитофоне, в телефонном аппарате.