Журнал «Компьютерра» № 18 от 15 мая 2007 года, стр. 29
Впрочем, карточка нужна исключительно для того, чтобы видеокамерой фотографировать, а я уже не раз писал, что это, на мой вкус, – чистой воды извращение. И тем не менее, увлекшись стабилизатором и возможностью снимать в достаточно большом разрешении – 2048х1536, три с лишним мегапиксела (больше для любительских съемок, полагаю, не нужно вообще!), поработал камерой и как фотоаппаратом. Ну что можно сказать? Мало-мальски продвинутой мыльницей снимать удобнее и, что называется, управляемее, – хотя, конечно, мыльниц с десятикратным оптическим зумом еще поди поищи. Одним словом, если и приобрету когда-нибудь HV20 (или одного из ее потомков), – не откажусь не только от зеркалки – даже и от парочки качественных, но маленьких (и, главное, под фотографию специально заточенных) «мыльниц», которые по обыкновению с собою ношу.
Впрочем, по сумме, камера настолько хороша, что ворчать по ее поводу даже как-то и не хочется…
ПАТЕНТНОЕ БЮРО: Патентное бюро
Автор: Сергей Леонов

Количество пультов управления в доме (и кнопок на этих пультах) растет вместе с количеством бытовой техники, и запутаться в устройствах ничего не стоит (помнится, мой знакомый как-то пытался набрать номер телефона на ПДУ от телевизора и был немало удивлен отсутствием гудка). Выпускаются, конечно, пульты универсальные или переключаемые, но с ними тоже проблем хватает. Например, если вы смотрите спутниковое ТВ, то переключать каналы вам надо именно кнопками спутникового ресивера, а не кнопками телевизора, а это разные кнопки на пульте, или разные пульты. Для решения этой проблемы французская компания предлагает ввести так называемый «профиль активности пользователя»: например, «смотрю ТВ», «смотрю DVD», «слушаю интернет-радио» и т. д., а для больших систем – еще и с привязкой к помещению: «смотрю спутниковое ТВ в спальне». Кнопки пульта при этом переназначаются так, чтобы нужные команды, вне зависимости от конкретных устройств, оставались на одних и тех же кнопках. То есть для последнего приведенного примера переключение каналов отрабатывал бы спутниковый ресивер, а регулировку громкости – телевизор, причем именно тот, который в спальне. Учитывая, что ресивер вряд ли находится именно в спальне, пульт должен быть не инфракрасный, а радио.
Идеи относительно того, чтобы освободить юзера от необходимости читать текст, а использовать вместо этого голосовой синтезатор, высказываются давно. Это действительно может быть полезно, когда человек не может отвлекаться на чтение – при управлении автомобилем, например, или во время прогулки. А так – надел наушники, выбрал нужную страницу в Сети и гуляй себе, а синтезатор пусть читает новости. Однако не все так просто. Вам приходилось видеть страницы в Интернете? Вариант с двумя строчками текста и трехмегабайтной картинкой – это еще цветочки. После «прочтения» десятка рекламных баннеров из верхней части страницы вы вполне можете и телефон об асфальт шваркнуть. Тем не менее выход есть. Есть пока еще канал передачи информации, не загаженный разного рода спамом, рекламой и форматами, которые не годятся для мобильных устройств, – это RSS. Впрочем, мне кажется, что данное предложение скорее вредно, чем полезно, – как только значимая часть пользователей начнет «слушать RSS», значимая часть провайдеров забьет значимую часть этого канала той же рекламой.
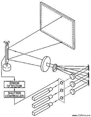
1

ОС класса Windows пытаются потихоньку избавиться от необходимости перезагрузки на каждый чих, связанный с изменениями на уровне драйверов. В данном случае предлагается обойтись без перезагрузки при обновлении драйвера видео. Проблема в том, что сам драйвер-то остановить можно, но вот клиентским программам, использующим его, не всегда можно объяснить, что надо хотя бы на время перестать к нему обращаться. Чтобы удалить старые файлы драйвера и записать на их место новые (имена могут совпадать), первые надо выгрузить из памяти. Но при этом дисплей не будет ничего отображать, и некоторые приложения могут повести себя неопределенным образом (а вдруг тот же инсталлятор захочет что-то спросить у пользователя?). Соответственно, предлагается следующий метод. Первым делом нужно загрузить в память драйвер по умолчанию (например, стандартный VGA) и перенаправить все обращения к нему. Затем старый драйвер можно будет выгрузить и спокойно перезаписать файлы с одинаковыми именами, загрузить новый драйвер и перенаправить все обращения теперь уже к нему. Останется только выгрузить драйвер по умолчанию – клиентские приложения при этом «ничего не почувствуют» и будут продолжать работать. На самом деле все, конечно, сложнее, но если бы я попытался дословно перевести заявку, мне не хватило бы места.


Обнаружив столь серьезную заявку, я было подумал, что компания решила встать в один ряд с производителями проекторов, для чего и собирается запатентовать новую систему развертки. Однако рисунки показали, что ничего нового здесь нет – подобные отклоняющие системы известны давно. Заявители же вознамерились застолбить за собой решение, связанное с безопасностью подобных устройств. Безобидная на первый взгляд система механической развертки лазерного луча по экрану на основе вращающихся зеркал может оказаться опасной при случайной остановке узла отклонения, когда луч высокой интенсивности постоянно светит в одну точку. Даже если мощности лазера не хватит для прожигания экрана, ее может быть более чем достаточно для повреждения сетчатки глаза, если человек вдруг окажется в зоне развертки. Чтобы исключить подобное, предлагается устанавливать на пути луча оптический затвор, управляемый от датчика ошибки системы развертки.
TERRALAB.RU: Железный поток
Автор: Сергей Леонов
Gigabyte GV-NX86T256D: Видеоускоритель с пассивным охлаждением

Устройство сделано на базе графического процессора GeForce 8600 GT, но его главная особенность даже не в этом, а в новой системе охлаждения SilentPipe II и в фирменной технологии Screen-Cooling.
Передача тепла от ядра к радиатору осуществляется тепловыми трубками, а сам радиатор занимает практически весь возможный объем слота и, благодаря диагональным ребрам, использует естественную конвекцию воздуха внутри корпуса компьютера – никаких вентиляторов здесь нет. Как сообщает компания, такая система охлаждения не только не уступает активным, но и превосходит их. Из прочих особенностей – память 256 Мбайт GDDR3, поддержка DirectX 10 и Shader Model 4.0, технологии nVidia GigaThreadTM и Quantum EffectsTM, HDR-рендеринг, HDCP, два интерфейса Dual-Link DVI, конденсаторы с твердым электролитом. В комплекте поставляется игра Supreme Commander, «чтобы пользователи могли сами убедиться в безупречном качестве воспроизведения игр высокого разрешения». Цена не указана.

В англоязычных источниках эти устройства обозначаются как Flash Solid State Disk (SSD) – фактически накопитель на основе Flash-памяти со стандартным IDE-интерфейсом и в габаритах 2,5-дюймового винчестера. Эти «диски» совместимы с обычными винчестерами для большинства ноутбуков, а их главным преимуществом называется отсутствие механических движущихся частей и низкое энергопотребление (быстродействием уже не козыряют – видимо, особых преимуществ перед современными винчестерами у Flash-дисков нет). Три новые модели имеют стандартную толщину 7,4 мм и емкость 32, 16 и 8 Гбайт соответственно. Для исключения ошибок применяется ECC-коррекция. Интерфейс поддерживает режимы передачи данных до Ultra DMA Mode 4 включительно. Цена не указывается, но в целом по рынку Flash-диски довольно дороги, если сравнивать с винчестерами соответствующего объема.