Отопление и водоснабжение загородного дома, стр. 32
Таблица 49
Двужильные нагревательные кабели ЕСО («Теплолюкс»)

Глава 4
Печное отопление
Конечно, мы все привыкли к централизованному водяному отоплению. Но и в наш век развития техники многие владельцы загородных домов хотят иметь печное отопление и камины. При некоторых определенных условиях печное отопление в загородном доме и на даче является самым оптимальным вариантом.
Во-первых, не во всех регионах имеется магистральный газ и не в каждом дачном поселке проведены линии электропередач. Во-вторых, в отличие от водогрейных котлов печи и камины обычно работают на древесном топливе – самом дешевом виде в европейской части России. В-третьих, печи и камины возводят из простых, доступных и дешевых строительных материалов.
Прежде чем возводить отопительное сооружение, следует решить, что вы выбираете – печь или камин. Конечно, камин эффектнее смотрится, его эксплуатация требует меньше времени и физических усилий. Но это не все критерии, которыми стоит руководствоваться.
Загородные дома, в которых люди живут в теплое время года, можно отапливать каминами и тонкостенными печами. Они быстро разогреваются, но так же быстро и остывают. Поэтому для обогрева большого загородного дома в течение года они не годятся. Для этого нужны толстостенные печи, у которых теплоотдача значительно выше. Они представляют собой довольно сложные устройства, рассчитанные не только на отопление дома, но и на приготовление пищи, нагрев воды и пр.
Классификация бытовых печей
Бытовые печи по своему назначению бывают:
• отопительные;
• отопительно-варочные;
• варочные;
• русские;
• каменки для русской бани.
Самым оптимальным вариантом для загородного дома является отопительная или отопительно-варочная печь. Для обогрева жилых помещений нужна печь с высоким КПД. Если печь правильно сложена и правильно эксплуатируется, то ее КПД составляет 80—85%. Это примерно столько же, сколько у электрообогревателей, и немного больше КПД водяных отопительных приборов. Так, КПД камина составляет только 20—35%.

Рис. 71. Печь, имеющая закрытые поверхности, обращенные в отступки (пространство между печью и стеной): 1 – стена; 2 – теплоизоляционная перегородка; 3 – кладка печи
Наружная поверхность отопительной печи не должна иметь температуру выше 60° С, а в отдельных ее точках – 80—90° С. Она должна нагреваться медленно и долго сохранять тепло. Все это возможно в том случае, когда толщина стенок печи составляет не меньше 1/2 кирпича.
Важным моментом в работе печи является ее теплоотдача. В среднем при одной топке в сутки удельная теплоотдача печи должна равняться 290—350 Вт/м2, а при двух топках – 520—580 Вт/м2. В случае когда печь имеет закрытые поверхности, обращенные к стене дома, то теплоотдачу печи рассчитывают, применяя поправочный коэффициент, равный 0,75—1 (рис. 71). Необходимо учитывать, что в течение суток теплоотдача отопительной печи изменяется, а максимального значения достигает примерно через 1,5—2 ч после начала работы для тонкостенных печей и через 2,5—3 ч для толстостенных.
Через 10 ч печь начнет охлаждаться, температура воздуха в комнате снизится, но станет ровной за счет тепла, отдаваемого нагретыми предметами. При использовании печей с толстыми стенками колебания температуры не так заметны, потому что чем толще стенки, тем дольше печь сохраняет тепло.
В табл. 50 даны параметры теплоотдачи различных бытовых печей.
Таблица 50
Теплоотдача бытовых печей в зависимости от конструкции


Отопительно-варочные печи не только обогревают помещение, также на них можно готовить пищу. Такого рода печи используются в двойном режиме:
– в летнем, когда массив печи не прогревается, а горячие газы от варочной плиты поступают в дымовую трубу;
– в зимнем, когда горячие газы поступают в дымоход печи и отдают свое тепло стенкам.
Проектирование печного отопления
Как правило, для обогрева всего дома одной печи бывает недостаточно, потому что она может обогреть не более трех смежных помещений (рис. 72).

Рис. 72. Оптимальное размещение печи в трехкомнатной квартире
Тем не менее при проектировании печного отопления следует стремиться минимизировать количество отопительных приборов путем рационального их размещения. Необходимо, чтобы соблюдалось правило, согласно которому теплоотдача выходящей в каждое помещение части нагретой печи полностью возмещала бы его тепловые потери (рис. 73).
При проектировании печного отопления для кухни, жилых комнат и подсобных помещений печи необходимо соединить в так называемый тепловой узел. При этом дымоходы должны быть объединены в один кирпичный стояк. Такой вариант позволяет значительно снизить финансовые затраты на возведение печей.

Рис. 73. Варианты размещения отопительных печей: а – в центре или с небольшим смещением от него; б – угловое; в – пристенное с наличием вентиляторов для создания тепловых потоков; 1 – печь; 2 – вентиляторы; 3 – потоки теплого воздуха
Отопительные печи нужно устанавливать у внутренних стен, потому что возведение их у наружных стен создаст дополнительные проблемы и увеличит расходы на постройку дымовых труб. Печь должна стоять открыто и свободно обогревать помещение.
Принцип работы печи
Вне зависимости от конструкции принцип работы печи связан с преобразованием энергии, выделяющейся при сгорании топлива, и последующей передачей тепла в помещение конвекционным способом.
Печи классифицируют:
• по толщине стенок;
• по способу теплоотдачи;
• по форме;
• по направлению движения дымовых газов. Печи бывают одноэтажные и многоэтажные.
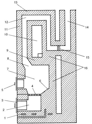
По способу топки они подразделяются на печи периодического, т. е. с прерывистым циклом горения, и непрерывного действия. На рис. 74 дана схема отопительной печи.
Принцип работы печи таков. Кислород, необходимый для горения топлива, поступает в топливник через поддувало, имеющее открытую или полуоткрытую дверцу и сообщающееся с помещением. Топливо сгорает в топочном пространстве, которое в нижней части через колосники сообщается с поддувалом, а в верхней – с системой дымооборотов, отводящих в атмосферу дымовые газы.

Рис. 74. Принципиальная схема отопительной печи: 1 – шанцы; 2 – поддувало; 3 – поддувальная дверка; 4 – колосниковая решетка; 5 – топочная дверка; 6 – под; 7 – топочное пространство (топливник); 8 – хайло; 9 – свод топливника; 10 – тепловоздушная камера; 11 – наружная теплоотдающая поверхность; 12 – дымообороты; 13 – перекрыша; 14 – дымоход; 15 – дымовая задвижка; 16 – внутренние тепловоспринимающие поверхности
При прохождении через систему газоходов или дымооборотов дымовые газы нагревают боковые и заднюю стенки печи, которые излучают большое количество тепла. В табл. 51 указана зависимость коэффициента теплоустойчивости от материалов ограждающих конструкций.
Таблица 51
Зависимость коэффициента теплоустойчивости от материалов ограждающих конструкций

