Отопление и водоснабжение загородного дома, стр. 29
Температура в помещении, отапливаемом длинноволновыми лучами, может быть относительно низкой, но люди на себе этого не почувствуют. Ощущение комфорта создается не столько температурой окружающего воздуха, сколько теми лучами, которые попадают на открытые участки человеческого тела и греют, как солнце.
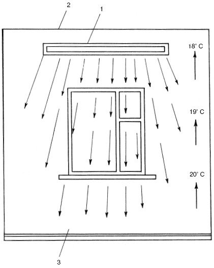
ИК-панели, в отличие от конвекторов, не используют воздушную среду для распространения тепла, они равномерно излучают тепло: температура у пола и под потолком примерно равная (рис. 61), а температура поверхности пола и предметов практически такая же, как температура воздуха в помещении.
Поскольку при таком способе отопления не возникает конвекционных потоков, то снижается циркуляция пыли и микрочастиц в воздухе помещения. Помимо этого, излучающие панели не изменяют влажности воздуха и не сжигают кислород. В связи с этим их обычно устанавливают в медицинских и детских учреждениях.
ИК-панели гораздо быстрее прогревают помещение, чем конвекторы. Это обусловлено тем, что поверхность теплоотдачи от нагретых пола и предметов в 5—10 раз больше, чем у традиционных отопительных приборов.
При временном отключении панелей температура в помещении долгое время находится на одном уровне, а охлажденный воздух очень быстро прогревается.
К достоинствам системы лучистого отопления относятся:

Рис. 61. Схема действия ИК-панели: 1 – ИК-панель под потолком; 2 – потолок; 3 – пол
• мобильность системы;
• влагоустойчивость и пожаробезопасность отопительных приборов;
• бесшумность работы;
• легкость обслуживания;
• простота и дешевизна монтажных работ;
• долговечность системы. ИК-обогреватели
ИК-обогреватель – это основной элемент лучистой системы отопления. Он представляет собой аппарат прямоугольной формы с защитным слоем из жаростойкой краски. На поверхности обогревателя, обращенной к полу, имеется отражающая пластина из высокопрочного анодированного алюминия. В нее встроен нагревательный элемент, спираль или ТЭН.
При выборе ИК-обогревателя следует обращать внимание на то, какой нагревательный элемент в нем установлен. Предпочтение следует отдавать панелям с ТЭНами, потому что открытая спираль довольно быстро выходит из строя.
На противоположной стороне панели устроена система крепления. Между корпусом и отражающей панелью выполнена жаростойкая изоляция из минерального волокна. Практически 90% электроэнергии, исходящей от нагревательного элемента, преобразуется в тепловой поток, отражается от алюминиевой панели и излучается в сторону обогреваемых поверхностей. Остальные 10% энергии тратятся на нагрев воздуха, контактирующего с отражающей пластиной.
ИК-обогреватели подразделяются на два подкласса:
• длинноволновые;
• инфракрасные.
У инфракрасных обогревателей нагревательный элемент разогревается до 700—800° С. В связи с этим их называют высокотемпературными. В длинноволновых обогревателях элемент накаляется до 200—250° С, их второе название – «низкотемпературные».
Нагревательный элемент длинноволновых обогревателей встроен в металлический короб. Излучающая поверхность имеет специальный защитный металлический слой, максимально поглощающий тепло. Этот слой устроен таким образом, чтобы обогреватель также максимально отдавал тепло. Обычно, чтобы увеличить площадь излучающей поверхности, ее изготавливают рельефной.
У высокотемпературных обогревателей нагревательный элемент в открытом виде вмонтирован в отражающую пластину. В некоторых моделях излучающая поверхность покрыта специальной керамикой, дающей возможность уменьшить температуру нагрева алюминиевой пластины и повысить коэффициент излучения тепловой энергии.
Поскольку низкотемпературные излучающие панели пожаробезопасны, следует отдавать предпочтение именно им при выборе обогревателей для загородного дома. Высокотемпературные инфракрасные панели в закрытых жилых помещениях применять опасно!
Последней новинкой в семействе низкотемпературных обогревателей являются теплоизлучающие зеркала, у которых отражающий слой одновременно служит нагревательным элементом. Температура поверхности теплоизлучающего зеркала составляет не больше 75° С. Такого рода зеркала не запотевают в помещениях с повышенной влажностью, имеют повышенный уровень пожаробезопасности и экологичности. В табл. 44 даны технические характеристики длинноволновых потолочных обогревателей ЭЛК («ЭкоЛайн»).
Таблица 44
Технические характеристики длинноволновых потолочных обогревателей ЭЛК («ЭкоЛайн»)

В табл. 45 даны сравнительные характеристики длинноволновых обогревателей.
Таблица 45
Сравнительная характеристика длинноволновых обогревателей


Комбинированные, или конвективно-радиационные, обогреватели представляют собой маслонаполненные электрорадиаторы. Они отдают тепло за счет конвекции масла и теплового излучения от нагретой поверхности корпуса.
В нижней части комбинированного аппарата имеется радиатор, нагревающий масло. Конвекция масла происходит так. Масло разогревается и поднимается вверх, а холодное стекает по уже остывшим стенкам радиатора вниз.
Регулируются маслонаполненные радиаторы с помощью электромеханических терморегуляторов. Разброс температур составляет 7° С, а это дает большие потери энергии. Несмотря на все негативные моменты, маслонаполненные радиаторы довольно популярны в нашей стране. Это обусловлено их дешевизной и большим сроком службы.
Теплые полы
«Теплые» полы представляют собой систему напольного кабельного обогрева. Эта система появилась в России в начале 90-х гг. ХХ в. и сразу же привлекла внимание потребителей. Конечно, как все новое, она стоила довольно много. Но теми, кто решил у себя дома установить напольную кабельную систему, руководил не только спрос на модную новинку. «Теплые» полы – это совершенно иная система обогрева жилища, создающая комфортную для человека среду. При конвективном способе отопления воздух прогревается неравномерно, т. е. более теплый скапливается под потолком, а пол остается холодным. При напольной системе обогрева все обстоит как раз наоборот. Самая высокая температура воздуха бывает у пола, что больше отвечает потребностям человека.

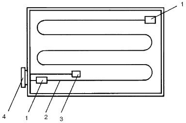
Рис. 62. Схема монтажа нагревательного кабеля: 1 – соединительная муфта; 2 – нагревательный кабель; 3 – датчик температуры пола; 4 – терморегулятор
Сразу после появления «теплых» полов не все могли позволить себе установить данную систему дома, хотя многие хотели бы это сделать. В то время люди готовы были заплатить деньги за любую модель системы, но сейчас, когда на рынке много разновидностей всевозможных отопительных систем, покупатели стали более разборчивыми и требовательными. Теперь эта система стала не такой дорогой и более доступной.
Система кабельного напольного обогрева – это поделенный на секции электрический нагревательный кабель, проложенный под полом, в бетонной стяжке (рис. 62). Там же смонтирован датчик, который поддерживает заданную температуру нагрева. Если комната угловая и имеет холодные несущие конструкции, то в ней иногда нагревательный кабель прокладывают прямо по стенам, под облицовочным слоем.
Монтажные концы нагревательного кабеля, а также датчики температуры присоединены к терморегулятору, который устанавливается на стене, на небольшом расстоянии от пола. Датчик посылает сигнал, а терморегулятор включает или отключает электропитание. Это означает, что напольная система обогрева работает не постоянно, а в прерывистом режиме. Электроэнергии экономится примерно 60—70%.
Когда пол нагревается до требуемой температуры, терморегулятор отключает электропитание, нагревательный кабель охлаждается. Продолжительность каждого цикла «нагревание-охлаждение» зависит от того, какая мощность у отопительной системы, а также какого рода теплоизоляция применена. Можно сказать, что «теплые» полы – это обычная нагревательная панель, только больших размеров.