Отопление и водоснабжение загородного дома, стр. 24

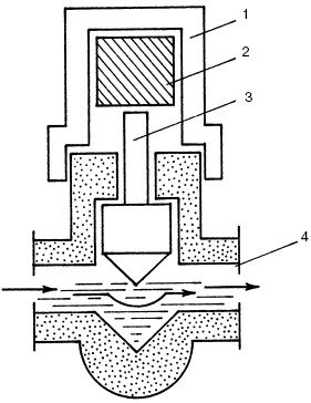
Рис. 50. Термостат: 1 – термоголовка; 2 – рабочее вещество; 3 – клапан; 4 – вода
При покупке термостата следует обратить внимание на конфигурацию и размер регулирующего клапана, которые могут быть разными. Тип клапана необходимо подбирать в зависимости от типа отопительной системы (однотрубная или двухтрубная, с естественной или принудительной циркуляцией), а размер – от диаметра подводки или отверстия в отопительном приборе.
Как правило, регулирующий клапан монтируется в отверстии заглушки отопительного прибора со стороны поступления горячего теплоносителя. При этом термоголовка закрепляется в горизонтальном положении, при котором не происходит контакта с нагретым клапаном и трубой. В однотрубных отопительных системах между подводящей и отводящей подводками обычно делается перемычка, или байпас. При этом направление движения теплоносителя в трубе обязательно должно совпадать с направлением стрелки на корпусе регулирующего клапана.
Термоголовки бывают со встроенным или дистанционным датчиком. Термостат, имеющий дистанционный датчик, монтируется в таком месте, где вокруг датчика будет происходить свободная циркуляция воздуха. Такого рода термостат используется в следующих случаях:
• при его монтаже в нише;
• если прибор закрыт шторами или декоративной панелью;
• при наличии широкого подоконника, при этом расстояние от подоконника до отопительного прибора должно составлять менее 10 см;
• если глубина отопительного прибора более 16 см;
• если датчик нельзя установить в горизонтальном положении.
В случае, когда вы не можете остановиться на каком-либо типе термостата, следует всегда выбирать прибор с дистанционным датчиком, так как термостат со встроенным датчиком требует более жестких условий установки. Например, если он устанавливается за шторой или в нише, то будет измерять температуру воздуха не во всем помещении, а только в том объеме, который ограничен нишей или шторой.
Дистанционный датчик устанавливается перпендикулярно к плоскости отопительного прибора. Иногда, из эстетических соображений, его устанавливают параллельно. Это грубейшая ошибка, т. к. всякий раз придется учитывать погрешности, возникающие в показаниях термостата.
В отопительной системе традиционного типа используются так называемые регуляторы потока. К ним относятся:
• задвижки;
• проходные краны с дросселями;
• балансировочные клапаны;
• запорные вентили;
• шаровые краны;
• регуляторы давления, поддерживающие заданный уровень перепада давления на термостатах;
• регуляторы расхода, автоматически ограничивающие расход теплоносителя до установленного значения.
Задвижка (рис. 51). Она представляет собой элемент, состоящий из корпуса и шпинделя, в нижней части которого смонтированы диски затвора. Поворот маховика перемещает шпиндель вверх-вниз внутри корпуса. При опускании шпинделя диски затвора раздвигаются клином и полностью закрывают теплоносителю доступ.
Задвижки используются для того, чтобы можно было отключать отдельные участки отопительной системы. В связи с этим их монтируют практически на всех участках трубопровода, в том числе на подводках к водогрейным котлам.
Дросселирующие шайбы и балансировочные клапаны применяются для автоматического поддержания постоянной разности давления в двухтрубных системах отопления. Также они нужны для автоматической стабилизации расхода теплоносителя в однотрубных отопительных системах.
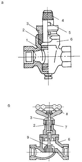
Проходные краны и краны с дросселями (рис. 52). Эти устройства монтируются на магистралях, стояках и подводках к отопительным приборам. Работают проходные краны так же, как и задвижки, только у них конец шпинделя соединен с золотником.

Рис. 51. Задвижка: 1 – маховик; 2 – сальник; 3 – корпус; 4 – клин; 5 – диски затвора
Когда шпиндель опускается, прокладка золотника плотно закрывает отверстие в корпусе крана, перекрывая движение теплоносителя. В настоящее время проходные краны с дросселями становятся все более популярными, потому что обладают большими достоинствами, чем балансировочные клапаны.
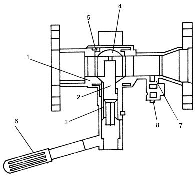
Балансировочные клапаны (рис. 53). Они представляют собой дросселирующие устройства, которые используются при монтажной регулировке водяной системы отопления с целью обеспечения в ней правильного распределения потока теплоносителя. Балансировочные клапаны выполняют несколько функций, что, несомненно, является их самым главным положительным свойством. Они стабилизируют гидравлическое состояние отопительной системы, регулируют расход теплоносителя, замеряют уровень перепадов давления и температуру теплоносителя, а также работают в режиме задвижки.

Рис. 52. Проходной кран (а) и кран с дросселем (б): 1 – пробка; 2 – сальник; 3 – сальниковый вкладыш; 4 – четырехгранный торец пробки; 5 – болт; 6 – корпус; 7 – шпиндель; 8 – маховик; 9 – диски затвора

Рис. 53. Балансировочный клапан: 1 – корпус; 2 – шток регулировочный; 3, 7 – кольцевые уплотнения; 4 – отсечной шар; 5 – седло шара; 6 – рукоятка; 8 – измерительно-дренажный патрубок
Некоторые модели балансировочных клапанов оснащены устройством для дренажа отопительной системы при сливе из нее теплоносителя. При всех своих достоинствах балансировочные клапаны стоят недорого. Имеются у балансировочных клапанов и недостатки:
• дорогостоящая аппаратура, необходимая для настройки клапана;
• сложности сервисного обслуживания.
Балансировочные клапаны изготавливаются с муфтовым резьбовым, фланцевым, сварным и комбинированным соединением. В отличие от термостата они могут монтироваться в любом положении, но все-таки нижнее расположение измерительного входа более удобно для эксплуатации. Поток через клапан должен идти в направлении, указанном стрелкой на его корпусе.
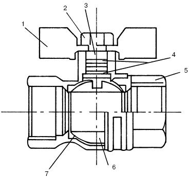
Шаровые краны (рис. 54). В настоящее время во всех отопительных системах, а также при холодном и горячем водоснабжении используются шаровые краны, которые заменили устаревшие вентили. Благодаря простоте внутреннего устройства они считаются более совершенными и долговечными видами запорно-регулирующей арматуры.
Шаровой кран – это устройство, состоящее из корпуса, внутри которого имеется шар с цилиндрическим отверстием, окруженный поясом тефлоновых колец. Шток выполнен в форме рычага или бабочки. Вращение шара вокруг своей оси выполняется при посредстве штока. Сальник штока, являющийся наиболее важным элементом крана, бывает разборным и неразборным.
Существует мнение, что шаровой кран с разборным сальником лучше, т. к. в случае протечки его можно быстро разобрать и починить. Но кран, имеющий неразборный сальник, надежнее, имеет большой срок службы и меньшую вероятность протечки, т. к. он герметичен.
По пропускной способности шаровые краны делят на:
– неполнопроходные – величина прохода 40—50%;
– стандартные – величина прохода 70—80%;
– полнопроходные – величина прохода 90—100%.

Рис. 54. Шаровой кран: 1 – ручка; 2 – гайка, фиксирующая ручку на штоке; 3 – шток; 4 – уплотнительные кольца; 5 – корпус клапана; 6 – шаровой затвор; 7 – уплотнительные тефлоновые кольца
В связи с тем что шаровые краны имеют только два положения – «открыто» и «закрыто», их не стоит монтировать на подводках к отопительным приборам.