Большая Советская Энциклопедия (ПА), стр. 211
Паропреобразователь
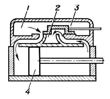
Паропреобразова'тель, дампфумформер, теплообменный аппарат для испарения воды; разновидность испарителя , отличающаяся тем, что конечным продуктом рабочего процесса является не дистиллят (питательная вода), а пар водяной . П. применяют для сохранения чистого конденсата на теплофикационных электростанциях с паровыми котлами высокого давления при наличии потребителей тепла, которые не возвращают в цикл станции конденсат полученного пара, используя или загрязняя его в своём технологическом процессе (котлы высокого давления требуют очень чистой питательной воды). Свежий пар или пар, отбираемый от турбин («первичный пар»), испаряя подаваемую в П. воду, генерирует «вторичный пар» меньшего давления, который и направляется потребителям, а высококачественный конденсат греющего «первичного» пара остаётся без потерь в цикле тепловой электростанции. Т. о., П. представляет собой по существу паро-паровой котёл (рис. ), паропроизводительность которого достигает иногда 75—100 м/ч .
С. М. Лосев.

Схема паропреобразователя: 1 — сепарирующее устройство; 2 — регулятор уровня; 3 — продувка в дренаж; 4 — конденсатоотводчик.
Паропровод
Паропрово'д, стальной трубопровод, по которому пар поступает от парового котла или др. генератора пара потребителям — паровым турбинам, насосам и теплообменным аппаратам. Концевые и низшие точки П. снабжают дренажными устройствами для удаления образующегося в П. конденсата. В высших точках П. устанавливают воздушники (для удаления воздуха). Участок П. между неподвижными опорами рассчитывают на компенсацию тепловых удлинений посредством компенсаторов или самокомпенсации. Все П. защищают теплоизоляцией, температура которой снаружи независимо от температуры протекающего по ним пара не должна превышать температуру окружающего воздуха более чем на 25 °С. П., работающие под давлением выше 200 кн/м 2 (2 кгс/см 2 ), должны проектироваться, изготовляться и эксплуатироваться в соответствии с правилами Котлонадзора .
Парораспределение
Парораспределе'ние, процесс автоматического управления впуском свежего пара в цилиндр паровой машины и выпуском отработавшего пара. Впуск и выпуск пара осуществляется парораспределительными органами ( золотниками , клапанами, кранами), перекрывающими и открывающими впускные и выпускные каналы цилиндра в зависимости от положения поршня в нём (рис. ). Возможно также П. непосредственно самим поршнем (прямоточные машины). Наибольшее распространение имеет золотниковое П. В случае необходимости (на пароходах, паровозах) органы П. обеспечивают также возможность реверсирования.
Лит. см. при ст. Паровая машина .

Схема золотникового парораспределения: 1 — впускной коллектор; 2 — выпускной коллектор; 3 — золотник; 4 —поршень.
Парос
Па'рос (Paros), остров в Эгейском море, в группе Киклад. Принадлежит Греции. Площадь 196 км 2 . Высота до 771 м . Сложен кристаллическими породами и известняками. На П. — следы вулканической деятельности. Месторождение мрамора. Средиземноморская кустарниковая растительность. Скотоводство, виноделие. На С. — гавань Науса.
Паросиловая установка
Паросилова'я устано'вка, предназначается для преобразования тепла сжигаемого топлива в механическую энергию при помощи пара. Как правило, механическая энергия не является конечной продукцией П. у., а посредством генераторов электрического тока трансформируется в электроэнергию, передаваемую затем потребителям. В этом случае П. у. называется тепловой электростанцией. П. у., в которой пар получают от атомной паропроизводящей установки, принято называть атомной энергетической установкой или атомной электростанцией. П. у. состоит из одного или группы паровых котлов и одного или нескольких паровых двигателей ( паровая машина , паровая турбина ) со вспомогательными механизмами, аппаратами и приборами. Простейшая П. у.— локомобиль , состоящий из жаротрубно-дымогарного котла, на котором смонтирована поршневая паровая машина. Мощные П. у. состоят из паровых котлов и паровых турбин с конденсационными установками. Современная тенденция в строительстве П. у.— составлять их из котёл-турбины блоков (мощностью 200—300 Мвт и больше), не связанных между собой по пару и воде. Это позволяет применять короткие паропроводы с минимальным числом арматуры, что очень важно при высоких параметрах пара [давление до 24 Мн/м 2 (240 кгс/см2 ) и температура 570 °С и выше]. Часть пара, получаемого в П. у., нередко используется для бытовых или технологических целей (отопление, варка, сушка). П. у. применяют на речных и морских судах ( пароходы ), а также на рельсовом транспорте ( паровозы ) и ограниченно на паровых автомобилях .
С. М. Лосев.
Паротиды
Пароти'ды, скопления ядовитых кожных желёз, расположенные по бокам головы у некоторых земноводных (например, саламандр, жаб); выполняют защитную функцию.
Паротит
Пароти'т (от греч. parotis — опухоль около уха, от para — возле, около и us, родительный падеж otos — ухо), воспаление околоушной железы. Наибольшее распространение имеет паротит эпидемический .
Паротит эпидемический
Пароти'т эпидеми'ческий, свинка, острая инфекционная болезнь, вызываемая фильтрующимся вирусом и характеризующаяся поражением слюнных желёз (преимущественно околоушной). Наиболее часто болеют дети в возрасте от 5 до 15 лет. Заражение происходит воздушно-капельным путём (при кашле, чихании, разговоре) от больного человека, который заразен до 9-х сут болезни. После перенесённого П. э. остаётся стойкий иммунитет. Инкубационный период в среднем 18 сут . Болезнь проявляется повышением температуры, припуханием и болезненностью при ощупывании слюнных желёз (околоушных, реже подчелюстных и подъязычных). Иногда воспалительный процесс поражает и др. железистые органы: поджелудочную железу (панкреатит), у подростков и молодых мужчин — яички ( орхит ), у девочек и молодых женщин — яичники (оофорит) и т.д. Признаки воспаления в пораженных органах держатся 5—10 сут ; нагноения не происходит. Нередко П. э. сопровождается острым серозным менингитом, протекающим, как правило, доброкачественно. Редкие и опасные осложнения — острый энцефалит, менингоэнцефалит и поражение внутреннего уха с развитием стойкой глухоты. Прогноз при П. э. благоприятный.
Лечение: постельный режим, тепло на пораженные органы, симптоматические средства. При осложнениях—соответствующая терапия. Больной изолируется до 9-х сут болезни; детям, бывшим в контакте с больным, не разрешается посещать детские учреждения (ясли, сады, школы) в течение 21 сут .