Большая Советская Энциклопедия (НА), стр. 143
Роль Н. в природе необычайно разнообразна. Они участвуют в круговороте веществ, так как используют самые разнообразные источники пищи (от живого растения и тела др. животных до разлагающихся остатков растительного и животного происхождения), выполняют санитарную функцию, активно участвуют в почвообразовательном процессе. Велика их роль в опылении цветковых растений. Н. дают ценную пищевую и техническую продукцию (медоносные пчёлы, шелкопряды, лаковые червецы и др.). Некоторые Н. полезны истреблением вредителей и сорняков, многие виды служат пищей для ряда промысловых животных — млекопитающих, птиц и рыб. Сред Н. много опасных вредителей растений и животных. Большой вред Н. наносят как переносчики возбудителей ряда заболеваний, кровососы и др. Численность многих Н. в популяциях непостоянна, у некоторых видов может повышаться во много раз (см. Динамика численности животных ).
Г. Я. Бей-Биенко.
Ископаемые насекомые. Единичные остатки ногохвосток обнаружены в среднем девоне. С середины карбона Н. становятся многочисленными и представлены преимущественно вымершими отрядами — палеодиктиоптерами, гигантскими стрекозами, таракановыми и др. В перми появляются первые жуки, скорпионницы и др., а в триасе — первые перепончатокрылые. Юрские Н. известны только из Евразии; характерно обилие жуков, двукрылых и др. С раннего мела появляются многие новые семейства, формирующие кайнозойскую фауну Н., которая уже с палеогена мало отличалась от современной. Остатки ископаемых Н. помогают определить геологический возраст отложений, климат и биогеоценозы прошлого. Ископаемые Н. изучаются в ряде стран, особенно широко с 1930-х гг. в СССР, где открыто около 500 местонахождений и собраны обширные коллекции.
Б. Б. Родендорф.
Лит.: Шванвич Б. Н., Курс общей энтомологии, М. — Л., 1949; Учебник медицинской энтомологии, под ред. В. Н. Беклемишева, ч. 1—2, М., 1949; Щеголев В. Н., Сельскохозяйственная энтомология, М. — Л., 1960; Данилевский А. С., Фотопериодизм и сезонное развитие насекомых, Л., 1961; Андреев К. П., Ветеринарная энтомология и дезинсекция, М., 1966; Воронцов А. И., Лесная энтомология, 2 изд., М., 1967; Шумаков Е. Н., Брянцева И. Б., Вредные и полезные насекомые, 2 изд., Л., 1968; Гилмур Д., Метаболизм насекомых, пер. с англ., М., 1968; Яхонтов В. В., Экология насекомых, 2 изд., М., 1969; Бей-Биенко Г. Я., Общая энтомология, 2 изд., М., 1971; Основы палеонтологии. Членистоногие, трахейные и хелицеровые, М., 1962; Родендорф Б. Б., Палеоэнтомологические исследования в СССР, «Тр. Палеонтологического института АН СССР», 1957, т. 66, с. 1—105.

Рис. 3в. Личинки насекомых с полным превращением: 1 — муравьиный лев; 2 — малярийный комар; 3 — комар-кусака; 4 — львинка; 5 — долгоножка; 6 — слепень; 7 — комнатная муха; 8 — чехлик ручейника Grammotaulius; 9 — мешочница, гусеница в чехлике; 10 — пяденица; 11 — тутовый шелкопряд.

Взрослые формы насекомых: 1 — ногосхвостка; 2 — бессяжковое; 3 — двухвостка-камподея.

Рис. 2. Схема внутреннего строения насекомого: 1 — ротовая полость; 2 — слюнные железы; 3 — пищевод; 4 — зоб; 5 — мышечный желудок; 6 — средняя кишка; 7 — тонкая кишка; 8 — прямая кишка; 9 — мальпигиевы сосуды; 10 — головной мозг; 11 — подглоточный ганглий; 12 — брюшная нервная цепочка; 13 — спинной сосуд; 14 — аорта; 15 — яичники; 16 — яйцеводы; 17 — семяприёмник; 18 — придаточные железы; 19 — крыловые мышцы средне- и заднегруди.

Взрослые формы насекомых: 1 — стрекоза-красотка; 2 — медведка; 3 — зелёный кузнечик.

Взрослые формы насекомых: 1 — стрекоза Libellula; 2 — певчая цикада; 3 — голубокрылая кобылка; 4а — капустная тля, бескрылая самка, 4б — крылатая самка; 5а — запятовидная щитовка, 5б — часть ветви, заселённая щитовками.

Взрослые формы насекомых: 1 — щетинохвостка-махилис; 2 — обыкновенная подёнка; 3 — богомол; 4 — чёрный таракан; 5а — туркестанский термит, рабочий, 5б — солдат, 5в — крылатая особь.

Взрослые формы насекомых: 1 — палочник; 2 — яблонная медяница; 3 — зелёная цикада; 4 — трипс; 5 — сеноед; 6 — пухоед; 7 — кружевница; 8 — водомерка; 9 — редувий.

Рис. 3а. Нимфы насекомых с неполным превращением: 1 — щитовка Aspidiotus; 2 — клоп-черепашка; 3 — стрекоза коромысло; 4 — подёнка; 5 — веснянка. Личинки насекомых с полным превращением: 6 — могильщик; 7 — щелкун; 8 — майский хрущ; 9 — бронзовка; 10 — короед.

Взрослые формы насекомых: 1 — перелётная саранча; 2 — уховёртка; 3 — эмбия; 4 — веснянка; 5 — постельный клоп; 6 — лобковая вошь; 7 — клоп-черепашка; 8 — ягодный клоп; 9 — гладыш.

Рис. 3г. Личинки насекомых с полным превращением: 1 — капустная муха; 2 — пилильщик; 3а — ручейник Limnephilus; 3б — его чехлик; 4 — шершень; 5 — наездник Pimpla; 6 — адмирал; 7 — капустная белянка.

Рис. 3б. Личинки насекомых с полным превращением: 1 — вислокрылка; 2 — жук-хищник Stenus bipunctatus; 3 — чёрная жужелица; 4 — хлебная жужелица; 5 — жук-вертячка; 6 — водолюб; 7 — златка; 8 — усач; 9 — листоед; 10 — щитоноска; 11 — скорпионница; 12 — верблюдка.

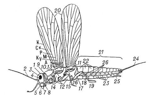
Рис. 1. Схема внешнего строения насекомого: 1 — головная капсула; 2 — усики; 3 — сложные глаза; 4 — простые глаза; 5 — верхняя губа; 6 — жвалы; 7 — нижние челюсти; 8 — нижняя губа; 9 — переднегрудь; 10 — среднегрудь; 11 — заднегрудь; 12 — нижние полукольца (стерниты) грудных сегментов; 13 — их верхние полукольца (тергиты); 14 — их бочки (плейриты); 15 — тазик; 16 — вертлуг; 17 — бедро; 18 — голень; 19 — лапка; 20 — крылья с системой жилок: К — костальная жилка, Ск — субкостальная, Р — радиальные, М — медиальные (срединные), Ку — кубительные, А — анальные жилки; 21 — брюшко; 22—23 — тергиты и стерниты брюшных сегментов; 24 — церки; 25 — яйцеклад; 26 — стигмы.
Население
Населе'ние, см. Народонаселение .
Населённое место
Населённое ме'сто, населенный пункт, первичная единица расселения людей в пределах земельного участка, где сосредоточиваются также материальные формы их обитания. Обязательный признак Н. м. — постоянство использования его как места обитания, хотя бы сезонно, но из года в год. Н. м. — категория географии населения . Разнообразный облик Н. м., его материальные формы определяются общими социально-экономическими условиями, уровнем развития производительных сил. В то же время облик Н. м. отражает национальные черты материальной культуры, народные традиции и в значительной степени зависит от окружающей природной среды.
Классификация Н. м., осуществляемая большей частью по людности (от хутора и деревни до многомиллионного города) используется в демографической статистике . Критерий людности Н. м. в ряде стран в законодательном порядке определяет отнесение его жителей к городскому или сельскому населению. Отдельные жилища или мелкие Н. м. приписываются к ближайшим более крупным Н. м., с которыми они имеют тесные связи (в зарубежной литературе критерием единства Н. м. нередко выдвигается так называемая сплошная застройка с разрывами не более 100—150 м ). Основной функцией Н. м. является использование его как селитебной территории .