Большая Советская Энциклопедия (КО), стр. 72
Успешно развивается К. п. и в др. социалистических странах, особенно в Польше и Чехословакии. В 1970 производство металлургического кокса в Польше составило 16,8 млн. т, в Чехословакии 11,5 млн. т.
В 1970 производство металлургического кокса в отдельных капиталистических странах составило (млн. т ): в США 57,7, ФРГ 39,9, Японии 25,1, Великобритании 16,5, Франции 14,2.
Лит.: Преображенский П. И., Обогащение углей для коксования, Хар. — М., 1950; Справочник коксохимика, т. 1—6 М., 1964-66; Улицкий Л. И., Экономика коксохимической промышленности СССР, М., 1964; его же, Экономика обогащения углей, М., 1969.
Л. И. Улицкий.
Коксохимия
Коксохи'мия, область химии и химической промышленности, занимающаяся переработкой природных топлив (главным образом каменного угля) в кокс и др. ценные продукты методом коксования . Основными коксохимическими продуктами (помимо кокса) являются коксовый газ , продукты переработки сырого бензола, каменноугольной смолы и аммиака (аммиачные удобрения); их полный ассортимент включает около 80 наименований (около 160 сортов). Ряд продуктов, подобных коксохимическим, получают также на нефтехимических предприятиях.
Коксование осуществляется в высокопроизводительных коксовых печах , обогреваемых низкокалорийным (доменным) или высококалорийным (коксовым и др.) газом. Сырьём для коксования служат специальные сорта каменных углей, способные спекаться (см. Коксующиеся угли ). Однако ввиду дефицитности таких углей перед коксованием обычно составляют смесь углей разных сортов (шихту). В шихту могут вводиться значительные количества самостоятельно не коксующихся углей, однако с таким расчетом, чтобы суммарные свойства шихты обеспечивали нормальный процесс коксования. Основным свойством, определяющим пригодность шихты для коксования, является ее способность образовывать при нагреве пластический слой достаточной толщины, вязкости и с требуемым ходом термического разложения. Проверка качества углей выполняется в лаборатории. Показателями служат толщина пластического слоя и усадка угля при коксовании. Последняя необходима для обеспечения выдачи «коксового пирога» из печи. Кроме того, состав шихты регламентируется по содержанию золы, серы, влаги и ряда других примесей. Для удаления из компонентов шихты нежелательных примесей угли предварительно обогащают и затем (для придания шихте однородности) тщательно смешивают, дробят (содержание фракции 3 мм в измельченной шихте должно быть около 95%).
Образующийся при коксовании сырой газ несёт с собой (в г/нм3 ): паров воды 250—450, паров смолы 100—120, бензольных углеводородов 30—40, аммиака — 8—13, сероводорода 5—30. Горячий (800 °С) газ охлаждают в газосборнике путём распыления в нём воды и затем в холодильниках (до 30—35 °С). Конденсат разделяют на аммиачную воду и каменноугольную смолу. Охлажденный газ засасывается мощными газодувками и нагнетается в систему улавливания и очистки. Здесь из газа улавливают пары сырого бензола, оставшуюся в газе большую часть аммиака, сероводород и цианистые соединения. Сырой бензол, каменноугольную смолу и аммиачную воду перерабатывают на товарные продукты.
В качестве примера ниже приведён материальный баланс коксования (в % ) одного из видов углей. Количество сухой угольной шихты (приход) 100,0.
Выход (расход)
| кокс сухой................................................... | 78,0 |
| смола............................................................ | 3,5 |
| бензол......................................................... | 1,0 |
| аммиак......................................................... | 0,3 |
| коксовый газ сухой.................................... | 16,0 |
| пирогенетическая влага.............................. | 1,2 |
| Итого | 100,0 |
Очищенный коксовый газ, называется обратным; используется как топливо, а также в качестве сырья для синтеза аммиака.
Сопутствующий коксовому газу и являющийся вредной примесью сероводород превращают в элементарную серу или серную кислоту, цианистые соединения можно использовать для получения солей роданистоводородной кислоты и др. продуктов.
Аммиак (выход 0,3% от массы шихты), частично растворяющийся в водном конденсате и образующий аммиачную воду, а частично остающийся в коксовом газе, отгоняют из воды, возвращая в газ, после чего улавливают из газа и используют для получения главным образом сульфата аммония — азотного удобрения, содержащего 25,8% NH3 . Для связывания аммиака также применяют фосфорную кислоту и получают аммиачно-фосфорные удобрения. Как жидкое удобрение применяют и водные растворы аммиака, к которым добавляют соли калия и др. компоненты.
Сырой бензол представляет собой выкипающую до 180 °С смесь ароматических углеводородов. Кроме того, в сыром бензоле присутствует ряд непредельных соединений неароматического характера (например, циклопентадиен). Из коксового газа углеводороды извлекают промывкой в скрубберах жидким поглотительным маслом. После отгонки от масла, разгонки на фракции, очистки и повторной ректификации получают чистые товарные продукты, главные из которых — бензол, толуол и ксилолы (содержание в сыром бензоле соответственно 65—70, 13—15 и 2,5—4%). Углеводороды, выкипающие выше 145 °С, выпускаются под общим названием «сольвенты» (растворители). Из них получают также индивидуальные соединения, используемые при синтезе красителей и др. веществ. Из непредельных соединений, содержащихся в сыром бензоле, получают кумароновые смолы, используемые для производства лаков и красок, линолеума, а также в резиновой промышленности. Перспективным сырьём для органического синтеза является также циклопентадиен.
Каменноугольная смола — сырьё для получения нафталина и др. индивидуальных ароматических соединений, масел специального назначения (поглотительное, шпалопропиточное и др.) и пека, из которого вырабатывают, в частности, электродный пековый кокс.
Важными продуктами являются также пиридиновые основания и фенолы. Наиболее легкокипящая часть пиридиновых оснований улавливается с аммиаком, а фенолов — с сырым бензолом. Высококипящие фракции оснований и фенолов переходят в смолу. Пиридиновые основания состоят в основном из пиридина и его гомологов; их общий выход 70—80 г на 1 m шихты. После выделения и разгонки они широко используются для синтеза органических соединений, в частности в фармацевтической промышленности. Выход фенолов — около 700 г на 1 т шихты. После извлечения щелочью и разделения на индивидуальные соединения или группы изомеров их используют для получения фенолоформальдегидных смол и др. полимеров, на их основе синтезируют красители, лекарственные и парфюмерные препараты, пестициды и т.д.
Лит.: Справочник коксохимика, т. 3, М., 1966; Литвиненко М. С., Носалевич И. М., Химические продукты коксования для производства полимерных материалов, Хар., 1962; Коляндр Л. Я., Улавливание и переработка химических продуктов коксования, 2 изд., Хар., 1962.
Д. Д. Зыков.

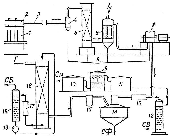
Схема улавливания продуктов коксования: 1 — коксовая батарея; 2 — газосборник; 3 — газопровод; 4 — отделитель конденсата; 5 — газовый холодильник; 6 — электрофильтр (для отделения смолы); 7 — газодувка; 8 — трубопровод для отвода конденсата; 9 — отстойник; 10 — хранилище смолы; 11 — хранилище аммиачной воды; 12 — аммиачная колонна; 13 — подогреватель газа; 14 — сатуратор; 15 — каплеотбойник; 16 — бензольный скруббер; 17 — подогреватель насыщенного масла; 18 — бензольная колонна; 19 — холодильник для масла; СБ — сырой бензол; Г- обратный газ; См -смола; СФ — сульфат; СВ — сточные воды.