Большая Советская Энциклопедия (КО), стр. 689
Н. С. Чернецкий,

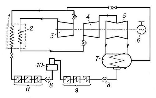
Схема блока котёл — турбина: 1 — котёл; 2 — промежуточный пароперегреватель; 3 — цилиндр высокого давления турбины; 4 — цилиндр среднего давления турбины; 5 — цилиндр низкого давления турбины; 6 — генератор; 7 — конденсатор; 8 — насос; 9 — подогреватель низкого давления; 10 — деаэратор; 11 — подогреватель высокого давления.
Котёл-утилизатор
Котёл-утилиза'тор, паровой котёл , не имеющий собственной топки и использующий тепло отходящих газов каких-либо промышленной или энергетической установки. Температура газов, поступающих в К.-у., колеблется от 350—400°С (при установке К.-у. за двигателями внутреннего сгорания) до 900—1500о С (за отражательными, рафинировочными и цементными печами). Крупные К.-у. имеют все элементы котлоагрегата , за исключением топочных и др. устройств, связанных с сжиганием топлива. Для малых производительностей и низких давлений применяются К.-у. газотрубные либо с многократной принудительной циркуляцией (рис. ), реже — прямоточные сепараторные и барабанные К.-у. с естественной циркуляцией. Водогрейные К.-у. обычно называются утилизационными экономайзерами , или подогревателями. В некоторых случаях К.-у. настолько сращиваются с элементами технологического оборудования, что не могут быть выделены как самостоятельные агрегаты (устройства для испарительного охлаждения мартеновских печей, химических установок и т. д.). К.-у. широко применяются в химической, нефтяной, пищевой, текстильной и др. отраслях промышленности.
Лит.: Котлы-утилизаторы мартеновских печей, М., 1957; Котлы-утилизаторы и энерготехнологические агрегаты. Каталог-справочник, [М.], 1969.
И. Н. Розенгауз.

Схема котла-утилизатора с принудительной циркуляцией: 1 — барабан; 2 — испарительная часть; 3 — пароперегреватель; 4 — водяной экономайзер.
Котельная установка
Коте'льная устано'вка, комплекс устройств для получения водяного пара под давлением (или горячей воды). К. у. состоит из котлоагрегата и вспомогательного оборудования: газо- и воздухопроводов, трубопроводов пара и воды с арматурой, тягодутьевых устройств и др. К. у. малой мощности обычно не имеют перечисленных вспомогательных устройств, но в их состав входят питательный насос с арматурой и сооружения для водоподготовки . Такие К. у., а также водогрейные котлы и мощные установки теплоэлектроцентралей и промышленных предприятий обычно комплектуются по несколько штук в котельной (котельном цехе) с общей питательной магистралью и сборным паропроводом. В котельной обычно имеется возможность взаимного резервирования К. у. и ремонта одной из них без уменьшения общего количества отдаваемого пара или горячей воды. К. у. большой мощности, работающие с промежуточным перегревом пара, являются составной частью установки, называемой котёл—турбина блок . В этом случае ремонт К. у., турбины и генератора такого блока производится одновременно. Мощные К. у. занимают помещения объёмом в сотни тыс. м3 , сжигают до 600 т/ч топлива, вырабатывая до 4 тыс. т/ч пара. См. также Паровой котел , Парогенератор .
И. Н. Розенгауз.
Котельники
Коте'льники, посёлок городского типа в Московской области РСФСР. Расположен в 3 км от г. Люберцы и в 22 км к Ю.-В. от Москвы. Ж.-д. станция (Яничкино). 15 тыс. жителей (1970). Комбинат стройматериалов и конструкций, завод железобетонных панелей, ремонт дорожных машин, производство ковров.
Котельников Валентин Сергеевич
Коте'льников Валентин Сергеевич (р. 1911, поселок Константиновка, ныне Донецкой области, — 12.10.1935), советский пограничник, командир отделения Волынской пограничной заставы Гродековского пограничного отряда. Родился в семье рабочего. Воспитывался в детском доме. Окончил фабрично-заводское училище. Работал слесарем, затем помощником мастера. С 1933 служил в пограничных войсках. 12 октября 1935 отделение К. вступило в бой с японо-маньчжурским отрядом (около 50 человек), нарушившим государственную границу СССР. Спасая товарища, окруженного противником, К. ценой своей жизни выручил его. В 1935 заставе присвоено имя К. Вместо погибшего на заставу по личной просьбе пришёл служить его брат — Петр Сергеевич К. Этот пример положил начало патриотическому движению советской молодёжи — «Брат на смену брату».
Котельников Владимир Александрович
Коте'льников Владимир Александрович [р.24.8(6.9).1908, Казань], советский учёный в области радиотехники, академик АН СССР (1953), Герой Социалистического Труда (1969). Член КПСС с 1948. Родился в семье профессора Казанского университета. В 1931 окончил Московский энергетический институт и начал преподавать в нём (с 1947 профессор). С 1954 директор института радиотехники и электроники АН СССР; с 1970 вице-президент АН СССР. Основные труды посвящены проблемам совершенствования методов радиоприёма, изучению помех радиоприёму и разработке методов борьбы с ними. Большое значение имеют труды по теории потенциальной помехоустойчивости. Под руководством К. в СССР проводятся работы по радиолокации Марса, Венеры, Меркурия. Почётный член американского института инженеров по электротехнике и радиоэлектронике (1964), иностранный член Чехословацкой АН (1965), почётный доктор технических наук Высшего технического училища в Праге (1967). Государственная премия СССР (1943, 1946), Ленинская премия (1964). Награжден 4 орденами Ленина, 2 др. орденами, а также медалями.
Соч.: Основы радиотехники, ч. 1—2, М., 1950—54 (совм. с А. М. Николаевым); Теория потенциальной помехоустойчивости, М.— Л., 1956.
Б. В. Левшин.

В. А. Котельников.
Котельников Глеб Евгеньевич
Коте'льников Глеб Евгеньевич [18(30).1.1872, Петербург, — 22.11.1944, Москва], советский изобретатель, создатель авиационного ранцевого парашюта. В 1894 окончил Киевское военное училище. В 1911 создал парашют РК-1 (русский, конструкции Котельникова, 1-я модель), успешно примененный (1914) во время 1-й мировой войны 1914—18. В дальнейшем К. значительно усовершенствовал конструкцию парашюта, создав новые модели, в том числе РК-2 с полумягким ранцем, РК-З и ряд грузовых парашютов, которые были приняты на вооружение ВВС.
Соч.: История одного изобретения. Русский парашют, М.— Л., 1943.
Лит.: Залуцкий Г. В., Изобретатель авиационного парашюта Г. Е. Котельников, М., 1943.