Большая Советская Энциклопедия (КО), стр. 358
Наряду с разработкой проблем космонавтики известна изобретательская деятельность К. в области промышленной энергетики и др. областях. Именем К. назван кратер на обратной стороне Луны.
Соч. в кн.: Пионеры ракетной техники Кибальчич, Циолковский, Цандер, Кондратюк. Избр. труды, М., 1964.
Г. А. Назаров.

Ю. В. Кондратюк.
Кондрашин Кирилл Петрович
Кондра'шин Кирилл Петрович [р. 21.2(6.3).1914, Москва], советский дирижёр, народный артист СССР (1972). Член КПСС с 1941. Родился в семье музыкантов. В 1936 окончил Московскую консерваторию по классу дирижирования Б. Э. Хайкина. С 1934 дирижёр Музыкального театра им. В. И. Немировича-Данченко (Москва), с 1937— Малого оперного театра (Ленинград), с 1943— Большого театра СССР. С 1956 выступает как симфонический дирижёр. С 1960 главный дирижёр и художественный руководитель симфонического оркестра Московской филармонии, с которым гастролировал во многих странах. Талантливый интерпретатор классической и современной музыки, пропагандист произведений советских композиторов (под его управлением впервые исполнены 4-я, 13-я симфонии и поэма «Казнь Степана Разина» Шостаковича). Государственная премия СССР (1948, 1949), Государственная премия РСФСР (1969). Награжден орденом Трудового Красного Знамени и медалями.
Соч.: О дирижёрском искусстве, Л.— M., 1970.
Лит.: Глезер P., Кирилл Кондрашин, «Советская музыка», 1963, № 5.

К. П. Кондрашин.
Кондрово
Ко'ндрово, город (с 1938), центр Дзержинского района Калужской области РСФСР. Расположен на р. Шаня (бассейн Оки), в 3 км от ж.-д. станции Говардово (на линии Калуга — Вязьма), в 45 км к С.-3. от Калуги. 16 тысяч жителей (1970). В 1790 в селе Кондрово была построена бумажная фабрика, в годы Советской власти на её базе создан целлюлозно-бумажный комбинат. Предприятия лёгкой промышленности. Вечерний техникум целлюлозно-бумажной промышленности, педагогическое училище.
Кондуит
Кондуи'т (от французского conduite — поведение), штрафной журнал, список, в который заносились проступки учащихся. Введён в середине 19 в. в школах Германии по предложению И. Ф. Гербарта . В России применялся в гимназиях, духовных учебных заведениях и кадетских корпусах.
Кондуйский «городок»
Ко'ндуйский «городо'к», остатки усадьбы монгольского феодала 14 в., в 10 км к Ю. от с. Кондуй Борзинского района Читинской области. Исследовался С. В. Киселевым в 1957—58. Вскрыты остатки дворца площадью 2,5 тыс. м2 , возвышавшегося на 2х -метровой насыпной платформе. Его окружали двухъярусные террасы с пандусами. На нижней террасе брусья балюстрады опирались на каменные изваяния драконов. В центральном зале (130 м2 ) 20 деревянных колонн стояли на гранитных базах. Многоярусная кровля была покрыта поливной черепицей; её детали были украшены рельефными фигурами драконов, птиц и зверей.
Лит.: Киселев С. В., Древние города Забайкалья, «Советская археология», 1958, № 4; Древнемонгольские города, М., 1965.

Глиняные поливные украшения и черепица Кондуйского дворца.
Кондуктометрическое титрование
Кондуктометри'ческое титрова'ние, один из электрохимических методов анализа .
Кондуктор (в машиностроении)
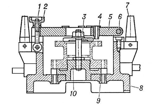
Конду'ктор (позднелатинское conductor, буквально— сопровождающий, от латинского conduco — собираю, перевожу) в машиностроении, одна из разновидностей станочных приспособлений, применяемая при обработке отверстий на сверлильном станке. Деталь располагается в К. или под К. Направляющие втулки К. определяют положение режущего инструмента относительно корпуса К. и, следовательно, относительно обрабатываемой детали. Положение оси отверстия каждой втулки отвечает положению оси отверстия в детали, а диаметр отверстия втулки соответствует диаметру инструмента. Использование К. исключает операцию разметки и позволяет вести обработку одновременно двух и более отверстий, повышает производительность труда. Конструкция К. зависит от размеров, числа отверстий, их расположения, формы и назначения детали. С целью снижения стоимости изготовления К. проводится широкая нормализация деталей и основных узлов К.

Кондуктор для сверления отверстий в двух фланцах небольшой детали: 1 — откидной болт; 2 — гайка; 3 — закрепительная гайка: 4 и 9 — направляющие втулки; 5 — откидная крышка; 6 — шарнир; 7 — ножка; 8 — корпус; 10 — установочный палец.
Кондуктор (воен.)
Конду'ктор (военное), воинское звание сверхсрочнослужащих в русской дореволюционной армии и флоте. Его присваивали чертёжникам и художникам в главных, окружных и полевых инженерных управлениях. В ВМФ К.— ближайшие помощники офицеров-специалистов. Существовали К.: старший боцман, рулевой, сигнальный, телеграфный, артиллерийский, минный и др. К. комплектовались из унтер-офицеров, окончивших срок обязательной службы и сдавших экзамен.
Кондукционный насос
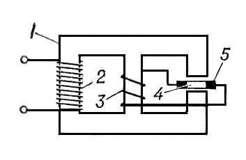
Кондукцио'нный насо'с, разновидность магнитогидродинамических насосов (МГД-насосов), которые подают жидкость в результате воздействия на неё электромагнитной силы, возникающей за счёт взаимодействия магнитного поля, создаваемого магнитной системой насоса, с электрическим током, проходящим через находящуюся в нём жидкость. К. н. работают на постоянном и переменном токе. Действие К. н. постоянного тока подобно действию электродвигателя постоянного тока, в котором обмотка ротора заменена электропроводящей средой. Направление движения жидкости в канале насоса определяется левой руки правилом .
Действие К. н. переменного тока аналогично действию К. н. постоянного тока. В этом случае направление тока будет изменяться в соответствии с изменением силовых линий магнитного поля, создаваемого электромагнитной системой насоса. Часто эти насосы объединяют с трансформатором в одно устройство, называемое насосом-трансформатором. К. н. применяются в промышленности для подачи различных электропроводных жидкостей, в частности при транспортировке и разливке расплавленных металлов.
Лит.: Бирзвалк Ю. А., Основы теории и расчёта кондукционных МГД-насосов постоянного тока, Рига, 1968; Тютин И. А., Электромагнитные насосы для жидких металлов, Рига, 1959.
Ю. В. Квитковский.

Рис. 1. Схема кондукционного насоса постоянного тока: 1 и 4 — электромагниты; 2 — токоподводящая шина; 3 — канал для перемещения жидкости; I — электрический ток.

Рис. 2. Схема насоса-трансформатора: 1 — магнитопровод; 2 и 3 — обмотки трансформатора; 4 — канал для перемещения жидкости; 5 — токоподводящая шина.