Большая Советская Энциклопедия (КО), стр. 355
Лит.: Зворыкин М. Л., Черкез В. М., Установки кондиционирования воздуха и холодильники пассажирских вагонов, М., 1969; Баркалов Б. В., Карпис Е. Е., Кондиционирование воздуха в промышленных, общественных и жилых зданиях, М., 1971; Захаров Ю. В., Андреев Л. М., Оборудование судовых систем кондиционирования воздуха, Л., 1971.
Е. Е. Карпис.

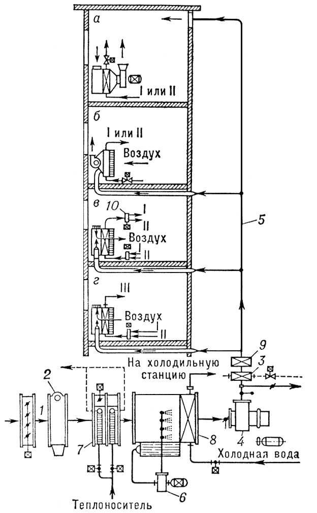
Рис. 2. Схема центральной одноканальной водовоздушной системы кондиционирования воздуха: а — с вентиляторным кондиционером-доводчиком, работающим на рециркуляционном воздухе и питаемым теплом и холодом от двухтрубной системы; б — с вентиляторным кондиционером-доводчиком, работающим на смеси кондиционированного наружного и рециркулируемого воздуха; в — с эжекционным кондиционером-доводчиком, питаемым теплом и холодом от четырёхтрубной системы; г — с эжекционным кондиционером-доводчиком, питаемым теплом и холодом от трёхтрубной системы; 1 — канал наружного воздуха; 2 — воздушный фильтр; 3 — калориферы второго подогрева; 4 — вентиляционный агрегат для перемещения кондиционированного воздуха; 5 — канал кондиционированного воздуха; 6 — насос, обслуживающий форсуночную камеру; 7 — калорифер первого подогрева; 8 — орошаемый поверхностный воздухоохладитель; 9 — шумоглушитель; 10 — трёхходовой автоматический клапан; I — теплопровод; II — холодопровод; III — общий обратный трубопровод. (Холодильная установка, приборы автоматического регулирования, дистанционного контроля и управления не показаны.)

Рис. 1. Принципиальная схема одноканальной системы кондиционирования воздуха низкого давления: 1 — воздушный клапан в канале наружного воздуха; 2 — канал рециркулируемого воздуха; 3 — воздушный фильтр; 4 — воздухоподогреватель; 5 — форсуночная камера; 6 — центробежный насос с электродвигателем; 7 — аппарат для регулирования производительности вентилятора; 8 — электродвигатель; 9 — центробежный вентилятор; 10 — шумоглушитель; 11 — канал подачи воздуха; 12 — местный воздухоподогреватель; 13 — канал отработанного воздуха; 14 — осевой вентилятор с электродвигателем; 15 — шахта для удаления отработанного воздуха в атмосферу; 16 — воздушный клапан; 17 — клапан на трубопроводе подачи холодоносителя.
Кондиционирование зерна
Кондициони'рование зерна', обработка зерна водой и теплом перед размолом с целью изменить его структурно-механические и биохимические свойства. В результате К. з. улучшаются мукомольные качества зерна, т. к. оболочки становятся более вязкими и эластичными, чем эндосперм (что способствует более лёгкому их отделению), и хлебопекарные свойства муки вследствие воздействия тепла на белковый комплекс увлажнённого зерна. Кроме того, клейковина становится более упругой, возрастает активность ферментов, что является положительным фактором при брожении теста.
На русских мельницах К. з., известное как «мочение зерна», появилось ещё в начале 19 в. При К. з. вода выступает как регулятор прочности зерна, воздействуя различно на его отдельные части. Так, для богатых капиллярами оболочек, в составе которых преобладают клетчатка и гемицеллюлозы, вода служит пластификатором, содействуя нарастанию пластических деформаций, связанному с усилением прочности. Для эндосперма вода в определённых пределах выступает как понизитель прочности, способствуя уменьшению сопротивляемости при измельчении. Тепло является ускорителем всех процессов при К. з. и регулирует движение влаги в зерне в нужном направлении, что позволяет изменять его физико-химические свойства.
На практике применяют холодное и горячее К. з. Холодное К. з.— безмашинная обработка зерна — заключается в увлажнении до оптимальной (различной для каждого сорта) влажности и отволаживании, т. е. в последующем пребывании зерна в т. н. отлёжных закромах для проникновения в него влаги. Горячее К. з.— гидротермическая машинная обработка зерна в кондиционере — включает, кроме увлажнения и отволаживания, промежуточную обработку зерна теплом. Режим К. з. зависит от специфических особенностей вида и сорта зерна — его структуры и качества клейковины. Пшеницу доводят до 16—20% влажности (нижний предел для мягких пшениц, верхний — для твёрдых). Температура нагрева зерна 41—60 °С (нижний предел для твёрдых пшениц, верхний — для мягких); при этом время воздействия колеблется от 1 1 /2 до 3 /4 ч. Время отволаживания при холодном К. з. 12—16 ч (нижний предел относится к мягким мучнистым пшеницам, верхний — к твёрдым). При горячем К. з. время отволаживания сокращается в 3—4 раза.
Эффективность К. з. характеризуется улучшением его структуры, уменьшением зольности муки, улучшением цвета и увеличением объёмного выхода хлеба. Подвергнутое кондиционированию зерно легче размельчается, мука лучше просеивается — т. е. улучшаются и условия эксплуатации машин, на которых перерабатывается зерно после кондиционирования.
Лит.: Соколов А. Я., Технологическое оборудование предприятий по хранению и переработке зерна, М., 1967; Козьмина Н. П., Зерно, М., 1969.
Кондоиди Павел Захарович
Кондои'ди Павел Захарович (24.6.1710, Корфу, — 30.8.1760, Петергоф, ныне Петродворец), русский врач, один из организаторов медицинской службы русской армии, почётный член Петербургской АН (1754). Окончил медицинский факультет Лейденского университета (1733). С 1735 на военной службе в русской армии. С 1738 генерал-штаб-доктор действующей армии, с 1754 главный директор Медицинской канцелярии и медицинского факультета. Создал первый в России подвижной (походный) госпиталь, ввёл специальное образование для акушерок, учредив школы «бабичьего дела» в Москве и Петербурге (1757), определил сроки обучения, расширил и углубил программу обучения в госпитальных школах, ввёл клиническое обучение, доцентуру, историю болезни как обязательный документ; регламентировал обязательное вскрытие трупов и усовершенствовал прозекторское дело; осуществил посылку для усовершенствования русских лекарей за границу, в результате чего были созданы отечественные кадры преподавателей высшей медицинской школы, составил первую русскую фармакопею для полевых аптек и военных врачей. Учредил учёные врачебные совещания (первое в России медицинское общество), организовал при Медицинской канцелярии первую публичную медицинскую библиотеку.
Лит.: Колосов М. А., Павел Захарович Кондоиди (24 июня 1710 г.—30 авг. 1760 г.), «Медицинское обозрение», 1913, №20 (библ. работ К.); Палкин Б. Н., Русские госпитальные школы XVIII века и их воспитанники, М., 1959.
А. В. Павлучкова.
Кондома
Ко'ндома, река в Кемеровской области РСФСР, левый приток р. Томь (бассейн Оби). Длина 392 км, площадь бассейна 8270 км2 . Берёт начало в хребте Бийская Грива, низовье — в Кузнецкой котловине. Питание смешанное, с преобладанием снегового. Средний расход в 73 км от устья 130 м3 /сек. Замерзает в конце октября — ноябре, вскрывается в конце апреля — мае. Сплавная. На К. — гг. Таштагол, Калтан, Осинники, в устье — Новокузнецк.