Большая Советская Энциклопедия (КО), стр. 139
Лит.: Гуревич М. М., Цвет и его измерение, М. — Л., 1950; фотоэлектрические приборы для цветовых и спектральных измерений, М., 1969 (Светотехнические изделия. в. 10); Wright W. D., The measurement of colour, 2 ed., N. Y., 1958.
Д. А. Шкловер.

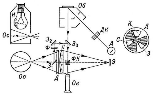
Оптическая схема визуального трёхцветного колориметра системы Л. И. Дёмкиной. Наблюдаемое в окуляр Ок поле зрения разделено (с помощью фотометрического кубика ФК ) на две части — одна имеет цвет образца Об , другая — цвет экрана Э , на котором смешиваются основные цвета прибора. Свет от осветителя Ос попадает на Э через диафрагму Д , содержащую три светофильтра (красный К , зелёный З и синий С ) и три подвижные заслонки. Изменяя с помощью заслонок площади фильтров, наблюдатель изменяет интенсивности потоков красного, зелёного и синего излучений, добиваясь, чтобы цвет их смеси не отличался от цвета образца. И — лампа осветителя; Л — линза; А — источник, освещающий образец; З1, З2, З3 — зеркала; ДК и Ф — ослабляющие фильтры.
Колориметр (химич.)
Колори'метр (от латинского color — цвет и ...метр ) химический, оптический прибор для измерения концентрации веществ в растворах. Действие К. основано на свойстве окрашенных растворов поглощать проходящий через них свет тем сильнее, чем выше в них концентрация с окрашивающего вещества (см. Колориметрия в аналитической химии). Все измерения с помощью К. производятся в монохроматическом свете того участка спектра, который наиболее сильно поглощается данным веществом в растворе (и слабо — другими компонентами раствора). Поэтому К. снабжаются набором светофильтров ; применение различных светофильтров с узкими спектральными диапазонами пропускаемого света позволяет определять по отдельности концентрации разных компонентов одного и того же раствора.
К. разделяются на визуальные и объективные (фотоэлектрические). В визуальных К. свет, проходящий через измеряемый раствор, освещает одну часть поля зрения, в то время как на другую часть падает свет, прошедший через раствор того же вещества, концентрация которого известна. Изменяя толщину l слоя одного из сравниваемых растворов или интенсивность I светового потока, наблюдатель добивается, чтобы цветовые тона двух частей поля зрения были неотличимы на глаз, после чего по известным соотношениям между l, I и с (см. Бугера — Ламберта — Бера закон ) может быть определена концентрация исследуемого раствора.
Фотоэлектрические К. обеспечивают большую точность измерений, чем визуальные; в качестве приёмников излучения в них используются фотоэлементы (селеновые и вакуумные), фотоэлектронные умножители , фотосопротивления и фотодиоды . Сила фототока приемников определяется интенсивностью падающего на них света и, следовательно, степенью его поглощения в растворе (тем большей, чем выше концентрация). Помимо фотоэлектрического К. с непосредственным отсчетом силы тока, распространены компенсационные К. (), в которых разность сигналов, соответствующих стандартному и измеряемому растворам, сводится к нулю (компенсируется) электрическим или оптическим компенсатором (например, клином фотометрическим ); отсчет в этом случае снимается со шкалы компенсатора. Компенсация позволяет свести к минимуму влияние условий измерений (температуры, нестабильности свойств элементов К.) на их точность. Показания К. не дают сразу значений концентрации исследуемого вещества в растворе — для перехода к ним используют градуировочные графики, полученные при измерении растворов с известными концентрациями.
Измерения с помощью К. отличаются простотой и быстротой проведения. Точность их во многих случаях не уступает точности других, более сложных методов химического анализа. Нижние границы определяемых концентраций в зависимости от рода вещества составляют от 10-3 до 10-8 моль/л.
Лит.: Булатов М. И., Калининкин И. П., Практическое руководство по фотоколориметрическим и спектрофотометрическим методам анализа, 2 изд., Л., 1968: Физико-химические методы анализа, М., 1968; Пономарева Л. К., Методические разработки по колориметрическим методам анализа, Минск, 1970.
Д. А. Шкловер.

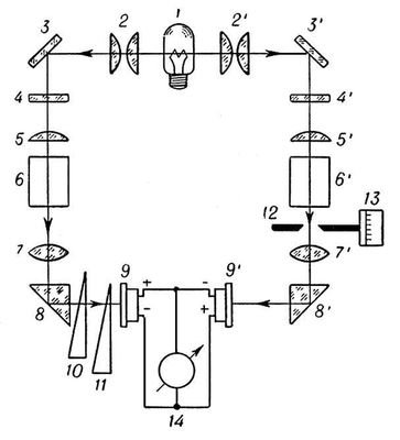
Рис. 2. Принципиальная схема фотоэлектрического компенсационного колориметра типа ФЭК-М. Свет от источника 1 проходит в левом плече прибора (цифры без штрихов) через измеряемый раствор, в правом плече (цифры со штрихами) — через стандартный; разность сигналов селеновых фотоэлементов 9 и 9' регистрируется гальванометром 14. Неградуированные фотометрические клинья 10, 11 служат для установки гальванометра на нуль в отсутствие растворов. Оптическая компенсация, т. е. сведение разности сигналов приёмников 9 и 9' к нулю после установки кювет с растворами 6 и 6', осуществляется щелевой диафрагмой 12 с отсчётным барабаном (шкалой) 13, 2, 2' — конденсоры; 3, 3' — зеркала; 4, 4' — светофильтры; 5, 5' и 7, 7' — линзы; 8, 8' — призмы.

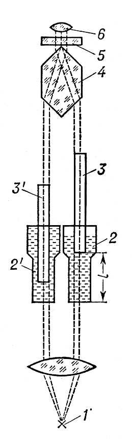
Рис. 1. Оптическая схема визуального химического колориметра типа КОЛ-1М. Уравнивание по цвету двух полей, соответствующих измеряемому и стандартному растворам и наблюдаемых в окуляр 6, осуществляется изменением толщины 1 слоя измеряемого раствора при перемещении плунжера (стеклянного столбика) 3, с которым связана шкала прибора. 1 — источник света, 2 и 2' — кюветы с измеряемым и стандартным растворами; 3, 3' — плунжеры; 4 — призма; 5 — сменные цветные светофильтры.
Колориметрия
Колориме'трия (от латинского color — цвет и ...метрия ), 1) К. в аналитической химии — группа фотометрических методов количественного анализа, основанных на определении концентрации вещества в окрашенном растворе путем измерения количества света, поглощенного этим раствором. Между количеством поглощенного света, толщиной слоя раствора и его концентрацией существует зависимость, которая подчиняется Бугера — Ламберта — Бера закону .
I=I ·e- c cl , (1) где I — интенсивность света, прошедшего через поглощающую среду, I — интенсивность падающего света, I — толщина слоя раствора (в см ), с — концентрация поглощающего вещества (в моль/л ), c— постоянная величина для лучей определённой длины волны. После логарифмирования уравнение (1) принимает вид:
ln (I /I )= ccl=D, (2) где D — оптическая плотность раствора. Из формулы (2) следует, что величина D прямо пропорциональна концентрации вещества в растворе.
Различают субъективные (визуальные) и объективные (фотоколориметрические) методы К. В первом случае оптическую плотность определяют, сравнивая окраску исследуемого раствора с окраской серии стандартных (эталонных) растворов, а также при помощи визуальных колориметров. В объективных методах К. используют фотоэлектрические колориметры. См. также Колориметр химический.
2) К. в физике — наука о методах измерения и количеств, выражения цвета , а также совокупность таких методов; подробнее см. в ст. Цветовые измерения .