Большая Советская Энциклопедия (КО), стр. 110
Коллектор (собиратель)
Колле'ктор (от позднелат. collector — собиратель),
1) учреждение, производящее сбор и распределение чего-либо (например, Коллектор библиотечный ).
2) Лицо, производящее сбор и опись каких-либо образцов (например, горных пород, почв и др.).
3) Название некоторых технических устройств (см. Коллектор электромашинный , Коллектор канализационный и др.).
Коллектор электромашинный
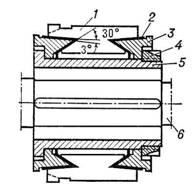
Колле'ктор электромаши'нный, механический преобразователь частоты, конструктивно объединяемый с ротором электрической машины (см. Коллекторная машина ). К. э. состоит из ряда медных пластин трапецеидальной формы, электрически изолированных друг от друга и от корпуса ротора. Каждая пластина присоединяется к одному или нескольким виткам обмотки якоря. Обмотка якоря подключается к внешней электрической сети через угольные контактные щётки, которые при вращении якоря поочерёдно соприкасаются с пластинами коллектора. Наиболее распространены цилиндрические К. э. (рис. ) со щётками, прилегающими к наружной поверхности. Реже используют дисковые К. э. с рабочей (контактной) поверхностью, перпендикулярной оси вращения ротора. Коллекторные пластины в машинах малой мощности (до 10 квт ) запрессовывают в пластмассу; в машинах с мощностью 15—25 квт и выше и частотой вращения 3000 об/мин и выше пластины крепят стальными бандажными кольцами. В крупных электрических машинах для уменьшения механического напряжения в пластинах К. э. иногда делают двойными и даже тройными. Недостатки К. э.: значительный расход электротехнической меди, искрение, износ от трения щёток.
Лит.: Петров Г. Н., Электрические машины, 2 изд., ч. 3, М., 1968; Важнов А. И., Электрические машины, Л., 1969.
В. В. Богомазов.

Цилиндрический коллектор электрической машины с конусными нажимными шайбами: 1 — коллекторная пластина; 2 — миканитовая манжета; 3 — конусная нажимная шайба; 4 — кольцевая гайка; 5 — втулка; 6 — вал якоря.
Коллекторная машина
Колле'кторная маши'на, электрическая машина (генератор, двигатель), у которой обмотка ротора соединена с коллектором . Различают К. м. постоянного и переменного тока. К. м. постоянного тока достаточно широко распространены, по наличие коллектора ограничивает их мощность до нескольких Мвт и напряжение до 1,5 Кв (см. Постоянного тока генератор , Постоянного тока электродвигатель ). В К. м. переменного тока коллектор служит механическим преобразователем частоты. Коллекторный генератор используется главным образом как источник трехфазного переменного тока, допускающий регулирование частоты тока независимо от частоты вращения ротора генератора. Коллекторные двигатели (однофазные и трехфазные) в отличие от бесколлекторных, имеют гибкие регулировочные характеристики, но более дороги, тяжелы и менее надёжны. Однофазные двигатели малой мощности широко используются в бытовых электроприборах. Трёхфазные двигатели мощностью до нескольких квт применяют главным образом в электроприводах с широким диапазоном регулирования скорости. Коллекторные преобразователи частоты входят в состав электромашинных каскадов (см. Каскад электромашинный ), а также используются для компенсации сдвига фаз напряжения и тока у асинхронного электродвигателя. С развитием полупроводниковой техники коллекторные преобразователи вытесняются более перспективными статическими полупроводниковыми преобразователями частоты.
Лит.: Костенко М. П., Пиотровский Л. М., Электрические машины, 2 изд., ч. 2, М. — Л., 1965; Важнов А. И., Электрические машины, Л., 1969.
Ю. М. Иньков.
Коллекционирование
Коллекциони'рование, целенаправленное собирательство, как правило, однородных предметов, обычно имеющих научную, историческую или художественную ценность. В основе К. лежит познание, удовлетворение определенных интересов. Предметом К. могут быть памятники материальной и духовной культуры (рукописи, книги, монеты, почтовые марки, произведения изобразительного искусства и др.), объекты природы (минералы, растения, насекомые и др.). К. предполагает выявление, сбор, изучение, систематизацию материалов, чем оно принципиально отличается от простого собирательства.
Собирательство известно с древнейших времён. Однако как особое направление человеческой деятельности К. возникло и получило развитие в эпоху Возрождения. В начальный период К. имело универсальный характер. Так, в собрании семьи Медичи во Флоренции наряду с произведениями искусства имелись разнообразные уникальные предметы и минералы из многих стран. Собирателями редкостей были Людовик XIV, французские кардиналы Ришельё и Мазарини, папы Юлий II и Лев X, император Карл V и др. Нередко формой К. было создание так называемых кабинетов «куриозных» вещей. В России начала 18 в. собираниями такого рода были Петровская кунсткамера , а также ряд частных коллекций, в том числе Я. В. Брюса (в кабинете Брюса помимо многочисленных древностей, естественных, исторических объектов, физических приборов и др., находилась и одна из первых известных в России коллекций монет и медалей). Известными универсальными собраниями были коллекции И. В. Гете в Германии и американского художника и естествоиспытателя Ч. У. Пила в США. Во 2-й половине 18 в. получили распространение специализированные коллекции естественноисторических памятников, произведений изобразительного искусства (см. Художественные собрания ) и т п. Крупнейшую коллекцию древнерусских рукописей и книг собрал А. И. Мусин-Пушкин .
С дифференциацией наук в 19 в. стали создаваться специализированные коллекции однородных предметов, объединенных общей познавательной целью. Большое влияние на К. естественнонаучных объектов оказала разработка основ научной систематизации. В России интерес коллекционеров направлялся в значительной мере на собирание отечественных древностей и предметов искусства, археологических и этнографических памятников, объектов природы из различных областей страны. К. начали заниматься представители буржуазии и разночинной интеллигенции; более серьезным и глубоким стал подход к собиранию и изучению предметов К. Многие из частных коллекций 19 и начала 20 вв. были положены в основу музеев (коллекции П. М. и С. М. Третьяковых, С. И. и П. И. Щукиных — изобразительное искусство, М. К. Тенишевой — этнография, А. В. Морозова — керамика, А. А. Бахрушина — театр) или вошли в их состав (коллекции А. С. Уварова — археология, П. Я. Дашкова, И. С. Остроухова — изобразительное искусство, Г. П. Дементьева — орнитология, и др.). Некоторые книжные собрания (например, Н. П. Румянцева, А. Д. Черткова) явились базой крупнейших библиотек (см. Библиофильство ).
На рубеже 19—20 вв. вначале в США, а затем и в Европе К. стало выгодным способом вложения капиталов, не облагаемых налогами, что вызвало спекуляцию объектами собирательства.
В процессе развития К. укреплялись его связи как с естественными науками, так и вспомогательными историческими дисциплинами. К. способствовало развитию нумизматики, геральдики, сфрагистики, а также археологии, этнографии и др. Оформились самостоятельные направления К.: научное, учебное, любительское. В формировании научного К. ведущая роль принадлежала музеям . В формировании научного К. видную роль сыграл генеральный директор Берлинских музеев В. фон Боде. Учебное К. имеет целью развитие исследовательских навыков учащихся; учебные коллекции являются эффективным средством наглядности в обучении. В любительском К. получает распространение систематический подбор предметов, осуществляемый на базе научной систематизации отдельных отраслей знаний. С появлением массовых видов К. — филателии , бонистики , любительской нумизматики, филумении , филокартии , фалеристики , филофонии и др. видное место среди любительских коллекций стали занимать тематические собрания, предполагающие подбор различных материалов по определенным темам. Методика составления тематических коллекций впервые была разработана и получила распространение в СССР в 20-е годы. Развитию массовых видов любительского К. способствует выпуск широко доступных объектов К. (марок, открыток, значков, этикеток, грампластинок и др.), организация специализированных магазинов, издание книг и журналов по вопросам К. Во многих странах существуют различные общества коллекционеров, в СССР — Всесоюзное общество филателистов (с различными секциями коллекционеров-книголюбов, филофонистов и др.).